时间:2017-08-22 02:06:56
1、简答题 (1)为测定某一电池的电动势和内电阻,下面几组器材中,能完成实验的是______
A.一只电流表、一只电压表、一只变阻器、开关和导线
B.一只电流表、两只变阻器、开关和导线
C.一只电流表、一只电阻箱、开关和导线
D.一只电压表、一只电阻箱、开关和导线
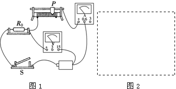
(2)一节电动势约为9V,内阻约为2Ω的电池,允许通过的最大电流是500mA.为了精确测定该电池的电动势E和内电阻r,选用了总阻值为50Ω的滑动变阻器以及电流表A和电压表V,连成了如图1所示的电路.
(ⅰ)为了防止误将滑动变阻器电阻调为零而损坏器材,需要在电路中接入一个定值电阻R0,最适合的是______
A.10Ω,5WB.10Ω,0.5W
C.20Ω,5WD.20Ω,0.5W
(ⅱ)在其他器材不变的情况下,再取一节上述规格的电池,与原来的电池串联组成电池组,测量这个电池组的电动势E和内电阻r,且操作无误.请在图2方框中画出实验电路原理图.
②实验中,当电流表读数为I1时,电压表读数为U1;当电流表读数为I2时,电压表读数为U2,则可以求出E=______,r=______.(用I1,I2,U1,U2及R0表示)
2、作图题 要测量一块多用电表直流10mA档的内阻RA(约40Ω)。除此多用电表外,还有下列器材:直流电源一个(电动势E约为1.5V,内阻可忽略不计),电阻一个(阻值R约为150Ω),电键一个,导线若干。要求
(1)写出实验步骤;
(2)给出RA的表达式。
3、实验题 为了测量某电池的电动势E(约为3V)和内阻r,可供选择的器材如下:
A.电流表G1(2mA 100Ω)
B.电流表G2(1mA 内阻未知)
C.电阻箱R1(0-999.9Ω)
D.电阻箱R2(0-9999Ω)
E.滑动变阻器R3(0-10Ω 1A)
F.滑动变阻器R4(0-1000Ω 10mA)
G.定值电阻R0(800Ω 0.1A)
H.待测电池
I.导线、电键若干
(1)采用如图甲所示的电路,测定电流表G2的内阻,得到电流表G1的示数I1、电流表G2的示数I2如下表所示:
? 
根据测量数据,请在图乙坐标中描点作出I1-I2图线。由图得到电流表G2的内阻等于___________Ω。 
(2)在现有器材的条件下,测量该电池电动势和内阻,采用如图丙所示的电路,图中滑动变阻器(1)应该选用给定的器材___________,电阻箱(2)选___________(均填写器材代号)。
(3)根据图丙所示电路,请在丁图中用笔画线代替导线,完成实物电路的连接。
? 
4、实验题 某同学为了测电流表A1的内阻r1的精确值,有如下器材: 
(1)要求电流表A1的示数从零开始变化,且能多测几组数据,尽可能减少误差。在图虚线方框中画出测量用的电路图,并在图中标出所用器材的代号。 
(2)若选测量数据中的一组来计算电流表A1的内阻r1,则所用电流表A1的内阻r1表达式为r1=___________;式中各符号的意义是_________________________________。
5、简答题 一伏特表有电流表G与电阻R串联而成,如图所示,若在使用中发现此伏特计的读数总比准确值稍小一些,采用下列哪种措施可能加以改进( )
A.在R上串联一比R小得多的电阻
B.在R上串联一比R大得多的电阻
C.在R上并联一比R小得多的电阻
D.在R上并联一比R大得多的电阻