时间:2017-08-22 01:43:31
1、选择题 某同学先用多用电表“×10”档对未知电阻进行测量,按照正确的步骤操作后,发现指针偏转角度过小,为了使多用电表测量的结果更准确,该同学接着测量前应该完成下列步骤中的( )
A.换“×1”档再机械调零
B.换“×1”档再欧姆调零
C.换“×100”档再机械调零
D.换“×100”档再欧姆调零
参考答案:D
本题解析:
本题难度:简单
2、选择题 如图所示,相距为d的水平金属板M、N在左侧有一对竖直金属板P、Q,板P上的小孔S正对极Q上的小孔O,M、N间有垂直纸面向里的匀强磁场,在小孔S处有一带负电粒子,其重力和初速均不计,当变阻器的滑动触头在AB的中点时,带负电粒子恰能在M、N间做直线运动,当滑动变阻器滑片滑到A点后,( )
A.粒子在M、N间运动过程中,动能一定不变
B.粒子在M、N间运动过程中,动能一定增大
C.粒子在M、N间运动过程中,动能一定减小
D.粒子可能从M板的右边缘飞出
参考答案:电路是滑动变阻器R与R0串联后接在电源E上,电路的路端电压不变,两金属板P、Q接在滑动变阻器R的两端,所以P、Q之间的电压是不变的,所以当滑动变阻的触头滑到A点后,粒子在P、Q之间加速进入小孔的初速度不会变化,而当滑动变阻器的触头滑到A点后,金属M、N之间的电压变为零,所以粒子进入到金属M、N之间后不再受到电场力的作用,只受到洛伦兹力的作用,而洛伦兹力不做功,所以粒子在M、N间运动过程中,动能一定不变,再根据左手定则判断出洛伦兹力方向是向下的,所以粒子会从下边金属板N的右边缘飞出,故A正确,BCD错误.
故选A
本题解析:
本题难度:一般
3、简答题 如图所示,在宽为L=8cm的空间区域里,存在互相垂直的匀强电场和匀强磁场,电场方向竖直向下,磁场方向垂直纸平面向里;一束不计重力的带电粒子沿垂直电场线和磁感线方向以某一恒定速度射入场区,恰可做直线运动.若撤去磁场,带电粒子穿过场区后向上侧移距离为3.2cm.若撤去电场,求带电粒子穿过场区后的侧移距离.
参考答案:由题意可知,电场和磁场同时存在时匀速直线运动?qE=Bqv
?只有电场时,粒子做类平抛运动
? x=vt? y=12at2? 又a=qEm
? 得到? E=mv210qB=mv10q
? 只有磁场时,粒子做匀速圆周运动,Bqv=mv2r? r=10cm
? 故穿过场区后的侧移d=r-
本题解析:
本题难度:一般
4、选择题 如图所示,质子(

参考答案:质子和α粒子垂直射入偏转电场都做类平抛运动,根据牛顿第二定律得到粒子加速度的表达式为:a=qEm
射出电场时沿电场方向的速度为:vy=at,
速度偏向角的正切值表达式为:tanθ=vyv0
粒子射出电场时的侧位移y的表达式为:y=12at2,
又:t=lv0
联立上式得:tanθ=qEl2Ek,y=qEl22mv20=qEl24Ek
由题,两个粒子的初动能Ek相同,E、l相同,则,tanθ与q成正比,y与q成正比,质子(11H)和α粒子(24He)电荷量之比为1:2,tanθ之比为1:2,侧位移y之比为1:2.
故选AD
本题解析:
本题难度:简单
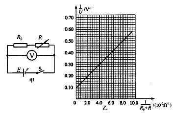
5、实验题 用图甲所示的电路,测定某电源的电动势和内阻,R为电阻箱,其阻值范围为0~9999
,R0是保护电阻,电压表内阻对电路的影响可忽略不计,连接好电路后,闭合开关S,改变电阻箱接入电路的电阻值,读取电压表的示数。根据读取的多组数据,画出图乙所示的图象。? 
(1)在图乙所示图象中当
时外电路处于____状态。(填“通路” “断路”或“短路”)
(2)根据该图象可求得该电源的电动势E=____V,内阻r=_________
参考答案:(1)断路
(2)10(结果在9.5~10.5 之间均可);50(结果在50-55之间均可)
本题解析:
本题难度:一般