时间:2024-03-28 04:17:39


1、填空题 TDCS系统可减轻行调人员的(),实现行车调度决策的科学化、现代化。
2、单项选择题 信号微机监测系统采集S700K提速道岔三相电流使用()电流模块。
A、1X
B、2X
C、3X
D、4X
3、问答题 在接近预告继电器JYJ电路中,开始继电器KJ后接点有何作用?
4、问答题 计算机联锁系统电源防雷、抗干扰措施是什么?
5、填空题 FZh-CTC分散自律调度集中系统车站采集机一般是()机工作的。
6、填空题 在TJWX-2000型信号微机监测系统中车站系统由信息采集隔离模块,下位集中式信息采集机,CAN卡通讯,()和电源设备五大部分组成。
7、问答题 信号微机监测系统道岔电流监测原理是什么?
8、单项选择题 TDCS机柜工作电源工作电流设计要求为()。
A、3A
B、4A
C、5A
D、10A
9、单项选择题 DS6-11计算机联锁系统某台联锁机作为联锁工作机(主机)时,()亮黄灯。
A、同步灯
B、运行灯
C、控制灯
D、系统正常灯
10、问答题 什么叫调度集中?
11、问答题 微电子交流计数电码自动闭塞查找接收设备故障时,应如何判断是YMQ故障还是YMDYH故障?
12、问答题 TDCS系统车站主机柜的220V电源分别送到哪四个地方。
13、单项选择题 信号微机监测系统模入板将采集到的模拟信号送入CPU板进行()处理。
A、D/A转换
B、A/D转换
C、放大
D、滤波
14、填空题 DS6-11计算机联锁系统,计算机一侧输出故障的判断方法是:首先观察光隔驱动板上的指示灯,有输出时对应的指示灯(),表明CPU板到光隔驱动板之间的电路正常。
15、单项选择题 按照分区、分级、分设备防护和纵向、横向或纵横向防护的需要合理选用()。
A、防雷保安器
B、继电器
C、移频箱
D、电容器
16、填空题 将继电器的一个线圈短路,将另一个线圈接入电源使用,就可以达到()的目的。
17、问答题 计算机联锁系统中同步校核状态的含义和执行过程。
18、填空题 AzL90-3型计轴设备磁头固定防护套托架应与钢轨绝缘,安装()。
19、填空题 LKD1-T车站列控中心向()系统发送的信息包括列控中心状态、LEU、应答器状态。
20、填空题 FZh-CTC分散自律调度集中系统车站倒机()开关可以强制系统倒向采集单元A机或B机工作。
21、单项选择题 EI32-JD系统如果联锁机与操作表示机之间的通讯电缆发生断线,下列()故障现象不会发生。
A、电务机显示网络中断
B、操作表示机显示没有主控联锁机
C、联锁机备机不断重启
D、联锁机主备机自动倒机
22、单项选择题 在信号微机监测系统中继电器光电探头主要用于()状态采集。
A、DBJ
B、FBJ
C、1DQJ
D、2DQJ
23、填空题 为电路提供一定电流的电源称为()。
24、单项选择题 ZPW-2000A无绝缘移频自动闭塞系统发送器故障表示灯每周期闪动3次,说明()故障。
A、低频频率检测故障
B、上边频检测故障
C、型号选择条件故障
D、下边频检测故障
25、问答题 计算机联锁系统屏幕可以显示哪些信息?
26、填空题 TJWX-2000型信号微机监测系统不得影响()设备的工作。
27、单项选择题 WG-21A型无绝缘轨道电路自动闭塞(“N+1”系统),接收器吸起门限()。
A、205mV±8mV
B、175mV±8mV
C、160mV±6mV
D、150mV±6mV
28、单项选择题 ZPW-2000A无绝缘移频自动闭塞系统发送器故障表示灯每周期闪动4次,说明()故障。
A、功出电压检测故障
B、下边频检测故障
C、上边频检测故障
D、型号选择条件故障
29、单项选择题 在双线区段,若在出口最外方道岔处设调车信号机时,信号机与站界间应划一轨道区段,其长度不小于(),以便利用该调车信号机进行调车作业时,不致占用区间线路。
A、50m
B、60m
C、70m
D、100m
30、单项选择题 根据平行进路断线法规律,优先道岔在右侧,捺型道岔断开()线控制电源。
A、1
B、2
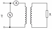
C、3
D、4
31、填空题 在控制台表示灯电路中,轨道光带表示灯电路接有FDGJ第8组接点的作用是()。
32、问答题 信号微机监测系统站场平面制作程序功能及作用?
33、单项选择题
“与非”门逻辑表达式为()。

A、A
B、B
C、C
D、D
34、单项选择题 在非自动闭塞区间,预告信号机处的钢轨绝缘,应安装在预告信号机外方()处。
A、50m
B、60m
C、70m
D、100m
35、单项选择题 办理30s延时解锁时,2RJJ随()吸起而励磁并自闭。
A、XJJ
B、QJJ
C、GJJ
D、SJ
36、多项选择题 双机热备的联锁机有()四种工作状态
A.停机状态
B.主机状态
C.热备状态
D.同步校核状态
37、问答题 画图题:画TYJL-Ⅱ型计算机联锁系统驱动电路?
38、单项选择题 在EI32-JD型计算机联锁系统中,2台联锁机和2台驱采机间通过双环的光缆互联,实现4台机器间的通信,该通信网称为()。
A、联锁系统LAN网
B、电务网
C、维修网
D、2×2网
39、填空题 戴维南定理实质是把含源二端网络等效为电压源与电阻()的电路模型。
40、单项选择题 DS6-K5B微机联锁系统电子终端PIO的输出驱动信号电压为()。
A、5V
B、16V
C、24V
D、36V
41、填空题 三个灯泡,其额定功率都是44W,电阻11Ω,现有三相供电系统,若其线电压为38V,为使灯泡正常发光,三个灯泡采取()。
42、单项选择题 在振荡电路中,自由振荡的波形是()。
A、方波
B、正弦波
C、矩形波
D、三角波
43、填空题 AzL90-3型计轴设备EAK30C可采用两芯信号电缆单独供电,亦可()供电。
44、单项选择题 ZPW-2000A无绝缘移频自动闭塞系统发送器故障表示灯每周期闪动5次。说明()故障。
A、载频编码条件故障
B、下边频检测故障
C、功出电压检测故障
D、低频编码条件故障
45、问答题 阻容耦合放大电路的频率特性主要受哪些因素影响?
46、单项选择题 EI32-JD型计算机联锁系统维修机界面“系统网络结构图”窗口中,()机器边框对于联锁机,表明它和主控操作表示机网络通信正常,但不处于主控和热备状态。
A、橙色
B、白色
C、黄色
D、绿色
47、填空题 JD-1A计算机联锁系统,A、B联锁机中应有一机工作在主用状态,相应机柜顶部的“()”指示灯点亮。
48、问答题 JD-1A计算机联锁系统对地线的要求。
49、单项选择题 三相异步电动机的“异步”是指转子的转速总是()旋转磁场的转速。
A、大于
B、小于
C、异于
D、等于
50、问答题 减速器故障点如何判断?
51、问答题 25Hz叠加UM71必须解决哪些问题?
52、单项选择题 TDCS光缆传输通道的带宽是()。
A、1M
B、512K
C、2M
D、5M
53、单项选择题 在EI32-JD型计算机联锁系统维修机界面中选择“联锁采集/驱动信息表”,可详细察看联锁系统信息采集和驱动的信息表,其中驱动信息表从驱动()开始,和系统实际配线相对应。
A、0
B、1
C、2
D、3
54、问答题 信号微机监测系统一、二、三级报警的报警方式是什么?
55、问答题 信号微机监测系统道岔采集机监测哪些项目?
56、填空题 ZY系列转辙机在接点组调好时,使挤岔板上的滚轮与挤岔组斜面接触后再移进8mm,速动爪必须快速进入()。
57、单项选择题 CTCS-2列控系统车载设备DMI显示屏的显示分辨率设为()。
A、280×336
B、640×480
C、800×600
D、1024×768
58、单项选择题 DS6-K5B微机联锁系统每一台控显机内安装了两个采用光缆连接的串行通信接口板()卡,用于同联锁机的2重系通信。
A、MAC
B、INIO
C、I/O
D、COM
59、问答题 造成信号微机监测系统上、下位机不通讯故障的主要原因是什么?
60、单项选择题 在EI32-JD型计算机联锁系统维修机界面中选择“联锁采集/驱动信息表”,可详细察看联锁系统信息采集和驱动的信息表,其中采集信息表从采集()开始,和系统实际配线相对应。
A、0
B、1
C、2
D、3
61、单项选择题 ZD7-A型电动转辙机的摩擦电流为()。
A、5.2A~6.2A
B、6.2A~7.2A
C、7.8A~8.7A
D、8.2A~9.2A
62、单项选择题 单独使用氧化锌压敏电阻器时,其电压额定值的选择在交流回路中应不低于工作电压(有效值)的()。
A、2.0倍
B、2.2倍
C、2.5倍
D、3倍
63、单项选择题 在编制电气集中联锁表时,对于防护道岔的填写应在道岔号码外加()符号。
A、{}
B、[]
C、()
D、〈〉
64、填空题 车站列控中心发送给LEU系统的信息包括:车站列车()报文、线路临时限速报文和请求状态信息。
65、填空题 股道亮白光带,说明股道已锁闭,表示()在落下状态。
66、单项选择题 在EI32-JD计算机联锁电务维修系统中,每()系统记录一次历史信息。
A、联锁信息有变化时
B、300ms
C、500ms
D、1000ms
67、单项选择题 在正式运营的铁路线上,新设尚未开始使用及应拆除的信号机,均应装设信号机无效标,其颜色为()。
A、白色
B、红色
C、黑色
D、灰色
68、填空题 为电路提供一定电压的电源称为()。
69、单项选择题 信号微机监测系统静态数据文件格式为()格式。
A、TXT
B、DBF
C、MDB
D、标准INI
70、单项选择题 WG-21A型无绝缘轨道电路自动闭塞(“N+1”系统)设备在电源电压()范围内应可靠工作。
A、直流22.5V~28.8V
B、交流22.5V~28.8V
C、直流24.5V~34.8V
D、交流24.5V~34.8V
71、单项选择题 6502电气集中组合架六列侧面端子的用途,原则上规定,组合与控制台,按钮盘和分线盘的联系用()。
A、01与02
B、02与03
C、03与04
D、05
72、问答题 三相交流电源屏的人工转换为什么要设置“强制性供电功能”?
73、单项选择题 电缆敷设中,根据规定,普通电缆任一芯线换算后的绝缘电阻不得小于()。
A、500MΩ•km
B、1000MΩ•km
C、2000MΩ•km
D、3000MΩ•km
74、单项选择题 引导按钮继电器电路,YAJ不能缓放的故障现象()
A、办理引导解锁时,只能取消复示器白灯
B、办理引导解锁时,只能取消引导按钮表示灯
C、办理引导解锁时,只能取消复示器白灯和引导按钮表示灯,但进路不解锁
D、办理引导解锁时,只能取消复示器白灯和引导按钮表示灯,进路可以解锁
75、问答题 站内移频化有哪些技术要求?
76、填空题 DS6-11计算机联锁系统,监测机加电时严禁拔插打印机联机(),否则可能损坏打印机接口电路。
77、单项选择题
如图所示为理想变压器,电流表的读数为8A,电压表的读数为25V,R=2Ω,变比为()。
A、2/3
B、0.8
C、1.25
D、1.5
78、填空题 T•JK2-B50-2006型车辆减速器轨枕板上的安装螺栓采用()和增强尼龙罗纹套管。
79、单项选择题 ZP•PS-D、ZP•GJ-DS及ZP•PS1-D型电气化区段移频衰耗盘,在700Hz信号时,输入阻抗应为()。
A、1000Ω±200Ω
B、2000Ω±200Ω
C、2500Ω±100Ω
D、2600Ω±200Ω
80、填空题 ZPW-2000A的机械绝缘节由机械绝缘节、()与调谐单元并接而成,其特性与电气绝缘节相同。
81、填空题 97型25Hz相敏轨道电路,对于移频电码化的轨道区段须采用()铁芯的扼流变压器。
82、单项选择题 移频地面发送设备,当交流电压在220V±22V范围内变动时,载频漂移不大于()。
A、±3Hz
B、±4Hz
C、±5Hz
D、±6Hz
83、问答题 信号微机监测系统车间机主要功能是什么?
84、单项选择题 调车专用KJ自闭电路中接有()前接点,这是为了防止产生信号错误重复开放用的。
A、FKJ
B、SJ
C、XJJ
D、XJ
85、单项选择题
如图所示,变压器原线圈n1=1320匝,电压U1=220V,副线圈U2=10V,n3=25匝,通过电阻R的电流I2=0.5A,通过L的电流I3=1.2A,则原线圈中的电流I1,和副线圈n2的匝数各为()。
A、0.45A、30匝
B、1.7A、60匝
C、1.7A、55匝
D、0.045A、60匝
86、多项选择题 注册会计师对于被审计单位存货的披露,应提请其做到()
A.全部存货及销售成本合理
B.存货主要种类和估价基础已揭示
C.存货项目的账存数与实存数一致
D.存货的抵押已作揭示
87、填空题 FZh-CTC分散自律调度集中系统车站采集机开入板()指示灯亮,表示系统正在使用当前采集板采集开关量数据。
88、填空题 25Hz相敏轨道电路既有对频率的选择性,又有对()的选择性。
89、填空题 AzL90-3型计轴设备EAK的地线应与钢轨走向成(),并不得与钢轨、接触网杆塔连接,也不能与计轴传输电缆的屏蔽地线连接。
90、单项选择题 ZP•HF型移频发送盒功放输出边频失真度不大于()。
A、10%
B、15%
C、20%
D、31%
91、单项选择题 ZP•W1-18型无绝缘移频自动闭塞,非电气化区段,在道床电阻为(),满足轨道调整的分路状态的要求。
A、1.0Ω•km
B、2.0Ω•km
C、3.0Ω•km
D、4.0Ω•km
92、填空题 CTCS-2车站列控中心从()或TDCS获得统一时钟,并按统一时钟进行系统管理和控制。
93、单项选择题 信号微机监测系统车站系统中,轨道分机模拟量静态配置文件名是()。
A、SysCfg.INI
B、ZH.INI
C、YP.INI
D、GD、INI
94、问答题 64D型继电半自动闭塞FUJ电路中的TCJ62前接点和BSA第2组拉出接点有了何作用?
95、填空题 ZYJ7型电液转辙机各接点组应接触、()良好。
96、单项选择题 引导解锁继电器电路,YJJ不自闭的故障现象()。
A、办理引导解锁手续时,取消不了引导按钮表示灯和进站复示器的白灯,可以取消白光带
B、办理引导解锁手续时,不能关闭信号,但可以解锁
C、办理引导解锁手续时,取消不了引导按钮表示灯和进站复示器的白灯及进路白光带
D、办理引导解锁手续时,能取消按钮表示灯,且能关闭引导信号,但不能使进路解锁
97、单项选择题 DS6-K5B微机联锁系统中()板是联锁机的主CPU板。
A、F386-3
B、F386-4
C、F486-3
D、F486-4
98、填空题 ZYJ7型电液转辙机油路系统内无空气,转换时应保证有足够的(),转换速度应能做到主、副机协调同步。
99、单项选择题 主磁极上有两个励磁线圈,一个与电枢电路并联,另一个与电枢电路串联的直流电动机属于()。
A、他励直流的直流电动机
B、并励直流电动机
C、串励直流电动机
D、复励直流电动机
100、填空题 电动转辙机锁闭齿轮圆弧和齿条块削尖圆弧,必须()电火花强化处理,不允许两个配合使用的圆弧,只对其中单一弧面作强化处理。
101、填空题 TJWX-2000型信号微机监测系统互感器板主要由两部分组成,一部分是()部分,一部分是选通部分。
102、问答题 JWXC-2.3型驼峰轨道电路为什么设一个缓放型复示继电器?
103、单项选择题 为了在挤岔时能及时切断道岔表示电路,在自动开闭器的检查柱和表示杆中段上特制成()。
A、凸面
B、凹面
C、平面
D、斜面
104、问答题 UM71轨道电路为什么在轨道电路中要并联电容?电容值与什么条件有关?
105、问答题 为什么说信号电流频率的选择是轨道电路防干扰的一个重要问题?
106、单项选择题 DS6-11系统表示信息信号在接口架端子上的电位极性是()。
A、KZ24V
B、KF24F
C、JF24V
D、JZ24
107、单项选择题 信号微机监测系统可以实现锁闭继电器第()上接点封连动态监测,记录并报警。
A、2组
B、4组
C、6组
D、8组
108、单项选择题 在改变运行方向前,原发车站的()。
A、GFJ吸起,GFFJ吸起
B、GFJ落下,GFFJ吸起
C、GFJ吸起,GFFJ落下
D、GFJ落下,GFFJ落下
109、单项选择题 DS6-K5B微机联锁系统的表示信息输入和控制输出接口电路称为()。
A、表示终端
B、输出终端
C、信息终端
D、电子终端
110、填空题 EI32-JD型计算机联锁,主用()运行时,接收鼠标操作,向联锁机发送车站值班员的操作命令,播放语音提示信息。
111、填空题 改变主要器材规格、变更()方式、改变部颁标准设计,须经铁道部批准。
112、填空题 DS6-K5B联锁系统,控显双机切换需()控显转换箱上的转换开关,将控制台操作和表示设备切换到备用机。
113、填空题 使用TW-2型驼峰自动控制系统解体车列,计算机首先检查进路建立的(),若不满足将不能执行溜放开始操作。
114、单项选择题 ZP-89型移频自动闭塞采用有选频接收盘,将()端子与25、27端子相连,带动UJ动作。
A、19
B、20
C、21
D、26
115、问答题 摩擦连接器有什么作用和技术要求?
116、单项选择题 EI32-JD型计算机联锁系统维修机界面“系统网络结构图”窗口中,()机器边框对于操作表示机,表明它和电务维修机网络通信中断且和主控操作表示机通信中断。
A、红色
B、橙色
C、绿色
D、黄色
117、单项选择题
如图所示,3个电压表读数均为8V,R=2Ω,则()。

A、线路电压8V,电路呈容性
B、线路电压24V,电路呈感性
C、线路电压24V,电路呈阻性
D、线路电压8V,电路呈阻性
118、填空题 电气集中车站信号机械室内整流器()次侧均应加装熔丝。
119、单项选择题 当TDCS网络安全遭破坏时,应()。
A、隔离故障网段
B、关闭服务器
C、用杀毒软件
D、等待自动恢复
120、单项选择题 DS6-11计算机联锁系统联锁机内安装()半导体盘代替硬盘,直接安装系统程序。
A、DOM
B、IDE
C、移动
D、ROM
121、问答题 TYJL-Ⅱ型计算机联锁系统监控机死机的故障主要现象?如何处理?
122、单项选择题
如图所示,1为圆柱形空心线圈,2为绕在U形铁心上的一个线圈。当将一磁铁插入线圈中时,判断图中小磁针的运动方向()。

A、顺时针
B、逆时针
C、不动
D、无法确定
123、问答题 画图题:画出TYJL-Ⅱ型微机联锁系统结构框图,并说明其工作原理。
124、问答题 25Hz相敏轨道电路叠加UM71站内正线电码化的测试内容是什么?
125、问答题 信号微机监测系统工程设计的原则与要求。
126、单项选择题 DS6-11计算机联锁系统联锁双机同步时,备机同步灯亮()闪。
A、绿
B、红
C、黄
D、白
127、填空题 JD-1A计算机联锁系统,在设备正常工作时,操作表示机倒机单元切换开关必须置于“()”位。
128、单项选择题 WG-21A型无绝缘轨道电路自动闭塞(“N+1”系统),接收器落下门限()。
A、150mV±8mV
B、160mV±8mV
C、175mV±6mV
D、205mV±6mV
129、单项选择题 转辙机直流电机实现反转通常使用()。
A、改变电枢电流方向
B、不同的励磁线圈
C、改变励磁电流方向
D、增加换向器
130、单项选择题 如曝光量增加1倍,底片黑度增加0.09,该胶片反差系数为()。
A.2
B.0.45
C.3
D.2.2
131、单项选择题 ZP•W1-18型无绝缘移频自动闭塞设备,频标就是在原来移频信号中加入()特征频率信息。
A、1个
B、2个
C、3个
D、4个
132、单项选择题 信号微机监测系统车站系统中站机配置文件名是()。
A、SysCfg.INI
B、ZH.INI
C、YP.INI
D、GD、INI
133、单项选择题 EI32-JD型计算机联锁系统维修机界面“系统网络结构图”窗口中,()机器边框表示某操作表示机正在主控。
A、红色
B、橙色
C、绿色
D、黄色
134、填空题 6502电气集中的信号点灯电路中,灯丝继电器与点灯变压器Ⅰ次侧是()连接。
135、填空题 在15kVA电源屏中,当()屏发生故障时,应能断开该屏的输入电源,由外电网直接供电。
136、填空题 轨道电路是利于两条钢轨做通道构成的电路,起着检查线路是否()的作用。
137、单项选择题 引导按钮继电器电路,YAJ不能励磁的故障现象()。
A、引导按钮表示灯亮白灯,进路无白光带
B、引导按钮表示灯不亮白灯,进路亮白光带
C、引导按钮表示灯不亮白灯,进路也无白光带
D、引导按钮表示灯亮白灯,进路亮白光带
138、单项选择题 以下()方式不能完成TDCS车站系统运转室主、备机间切换。
A、重启UPS
B、关闭正在使用的站机
C、拔除正在使用站机网线
D、通过远程控制实现
139、填空题 对T.CL—3型驼峰测速雷达测试多普勒模拟信号时,测试仪功能选择开关应放置在“()”档。
140、单项选择题 KF-ZQJ-Q条件电源的作用()。
A、用于QJ的自闭电路
B、用于QJJ的励磁电路
C、用于QJ的励磁电路
D、用于引导进路解锁时YJJ的励磁电路
141、单项选择题 EI32-JD型计算机联锁系统维修机界面“系统网络结构图”窗口中,()机器边框对于操作表示机,表明它和电务维修机网络通信正常,但和主控操作表示机通信故障或不处于热备状态。
A、白色
B、橙色
C、黄色
D、绿色
142、单项选择题 联锁表的编制程序一般是先填写()。
A、方向栏
B、进路栏
C、进路方式栏
D、敌对信号栏
143、单项选择题 信号联锁设备计算机房应根据雷电()干扰程度采取屏蔽防护措施。
A、磁性滤波
B、磁极分开
C、电磁分离
D、电磁脉冲
144、填空题 电液转辙机使用中油箱常备油量用()测量,应保持在上、下标记之间。
145、填空题 CTC(TDCS)系统发送给车站列控中心的信息包括时钟()信息。
146、单项选择题 如果把电解电容器的极性接反,则会使()。
A、电容量增大
B、电容量减小
C、容抗增大
D、电容器击穿损坏
147、单项选择题 信号微机监测系统轨道电路监测电压量程为0~()。
A、30V
B、35V
C、40V
D、45V
148、问答题 什么是共模信号和差模信号?大电路如何区分这两种输入信号?
149、填空题 DS6-11系统控显机通过带()的按钮信号采集板接受按钮信号。
150、问答题 当车站报点灯右下角为红灯时,故障可能是什么?
151、填空题 第二种调车中途返回解锁是在调车车列完全进入()内方后开始解锁的。
152、填空题 电务施工要点中,未按点完成施工任务不能交付使用应(),并积极组织施工。
153、单项选择题 DS6-11系统各计算机之间采用()通信方式。
A、双重局域网络
B、串行通信
C、单重局域网络
D、并行通信
154、填空题 三取二容错微机联锁系统在正常工作时,三台联锁机处于()工作状态。
155、单项选择题 股道检查继电器GJJ1-2线圈励磁由()并接到9线网络上。
A、KJ接点
B、XJJ接点
C、ZJ接点
D、QJJ接点
156、填空题 感应调压器只有在电压不稳定需要调整时才由()机构转动转子。
157、问答题 请说明路由器一般用户模式和超级用户模式的主要特点和区别。
158、填空题 AzL90-3型计轴设备系统故障时轨道继电器应可靠()。
159、问答题 TYJL-Ⅱ型计算机联锁系统联锁机人工倒机时应注意哪些事项?
160、单项选择题 ()的结线图为方向类型图。
A、区段组合
B、单动道岔组合
C、列车信号主组合
D、方向组合
161、单项选择题 ZD7-A型电动转辙机表示杆动程为()mm。
A、86mm~147mm
B、85mm~157mm
C、86mm~167mm
D、86mm~177mm
162、单项选择题 防雷保安器串联应用时,在任何情况下不得成为()状态。
A、开路
B、分频
C、短路
D、滤波
163、填空题 使用TW-2型驼峰自动控制系统解体车列,如果要取消一列尚未溜放或未溜放完的计划,可用()选项废除该计划。
164、单项选择题 计算机联锁系统防雷管监督电路是对采集电路防雷管的()进行监督。
A、混线
B、断路
C、短路
D、失效
165、问答题 线缆施工的主要工作项目和注意事项。
166、问答题 人工解锁时,进路继电器的动作规律是什么?
167、问答题 TYJL-Ⅱ型计算机联锁系统更换STD总线板及I/O总线板应注意什么事项?如何更换采集板及驱动板?
168、填空题 半自动闭塞是人工办理闭塞手续,列车凭信号显示发车后,出站信号机()的闭塞方法。
169、填空题 TDCS信息采集机A机和B机信息采集板不同之处是内部引接线的()不一样。
170、单项选择题 WG-21A型无绝缘轨道电路自动闭塞(“N+1”系统),发送器的空载输出电压()。
A、172V~180V
B、180V~190V
C、185V~195V
D、190V~205V
171、填空题 计算机联锁软件由供应商负责,()保修。
172、问答题 在64F型继电半自动闭塞设备中,为什么要求TCJ缓放?
173、问答题 TW-2驼峰自动控制系统下层控制器怎样判断轨道电路分路不良?
174、问答题 驼峰信号机能不能终止重复开放信号?怎样防止?
175、单项选择题 DS6-11系统控制输出到接口架端子的信号电位极性是()。
A、KZ24V
B、KF24V
C、JF24V
D、JZ24
176、问答题 集线器、网桥、路由器、交换机的区别是什么?
177、问答题 什么是直流放大器的零点漂移现象?
178、填空题 ZYJ7型电液转辙机开关滚轮在动接点凸轮上时,常开接点应()。
179、单项选择题
如图所示,变压器原线圈n1=990匝,副线圈n2=n3=27匝,原线圈输入电压U1=220V,若将副线圈b、c相连接或b、d相连接,则变压器输出电压分别是()。

A、12V或0V
B、6V或12V
C、12V或6V
D、0V或6V
180、单项选择题 信号微机监测系统采集ZD6型道岔电流采用()电流模块。
A、1X
B、2X
C、3X
D、4X
181、单项选择题
应用逻辑代数运算法,则
可简化为()。
A、F=AB+
+CD
B、F=B+CD
C、F=B
D、F=AB
182、填空题 25Hz相敏轨道电路属于交流连续式轨道电路,它适用于()区段。
183、问答题 怎样处理TYJL-Ⅱ型计算机联锁系统联锁机和监控机以外的故障?
184、单项选择题 在编制电气集中联锁表时,对于防护道岔位置在反位时其道岔号码外加()符号。
A、{x}
B、[(x)]
C、(x)
D、
185、问答题 扳动道岔时电机反转(扳定位转反位,扳反位转向定位)是何原因?如何处理?
186、填空题 AzL90-3型计轴设备发送磁头顶部边缘不得碰到(),磁头不得松动。
187、单项选择题 WG-21A型无绝缘轨道电路自动闭塞(“N+1”系统),发送器输出短路时电源电流()。
A、7.5A~9.0A
B、8.0A~9.5A
C、9.0A~10.4A
D、9.5A~12.0A
188、填空题 EI32-JD型计算机联锁,两套驱动电路则通过LAN通信接收联锁机的控制命令,但最终根据()的控制命令控制自己的动态驱动电路产生输出,进而控制继电器动作。
189、填空题 JD-1A计算机联锁系统,在设备正常工作时,联锁机的钥匙开头必须是指向“联锁”位,而不能指向“()”位。
190、填空题 UM71轨道电路的调整是根据调整表调整发送()、接收等级,以及送、受电端的模拟电缆(TAD—LFS中)。
191、填空题 S700K型电动转辙机中,齿轮组是第一级减速器,()是第二减速器。
192、问答题 TYJL-Ⅱ型计算机联锁系统联锁机的解锁状态?
193、单项选择题 计算机联锁系统时间冗余是通过消耗()资源来达到容错目的。
A、时间
B、空间
C、设备
D、软件
194、单项选择题 DS6-11计算机联锁系统提供了人工双机切换命令,切换过程中现场信号设备()。
A、全站停用
B、道岔全部锁闭
C、无法开放信号
D、状态不受影响
195、填空题 在一并联谐振电路中,L=100μH,C=100pF,Q=100,则其谐振阻抗为()。
196、填空题 TDCS信息采集层负责采集车站控制台点灯的表示信息,将采样结果通过()传给本站通信层。
197、填空题 进站信号复示器亮红灯,说明信号在关闭状态,表示()吸起。
198、填空题 计算机及网络安全设备应安装指定的防病毒软件,定期(),保证能查杀最新的病毒。
199、填空题 三相电源作星形连接时,从相头引出的三根线叫(),俗称火线。
200、填空题 计算机运算器和控制器合称为()。
201、填空题 正常情况下,列车占用并出清进路后,进路应能()
202、单项选择题 联锁表中道岔栏填写符号(),表示将10号道岔带动到定位。
A、{10}
B、[10]
C、(10)
D、{(10)}
203、单项选择题 在改变运行方向前,原接车站的()。
A、GFJ吸起,GFFJ吸起
B、GFJ落下,GFFJ吸起
C、GFJ吸起,GFFJ落下
D、GFJ落下,GFFJ落下
204、单项选择题 EI32-JD型计算机联锁系统维修机界面“系统网络结构图”窗口中,()机器边框表示该设备正处于热备状态。
A、绿色
B、橙色
C、红色
D、黄色
205、问答题 TYJL-Ⅱ型配电柜里的参稳A、B同时出现故障时如何处理?
206、问答题 XJJ有何用途?
207、单项选择题 电气化区段微机交流计数电码自动闭塞,微机交流计数轨道继电器的工作值()。
A、不小于6.2V
B、不大于6.2V
C、不小于12.4V
D、不大于12.4V
208、问答题 TYJL-Ⅱ型计算机联锁系统误办进路需要变更时怎么办?
209、单项选择题 从电源组合引出的接通光带电源JZ-TGJ,采用两根()的塑料线引至本组合架的02号端子板的端子4。
A、5×0.32
B、6×0.42
C、7×0.52
D、8×0.52
210、填空题 计算机联锁软件必须妥善保管,不得(),防止软件丢失、扩散和病毒侵害。
211、填空题 FZh-CTC分散自律调度集中系统车站双采集机通过()卡和自律机连接,向两台自律机传输所采集到的状态。
212、填空题 LXJ不能缓放时,列车进入信号机内方,信号机就会CV5()且进路不能正常解锁。
213、填空题 TYJL-Ⅱ型计算机联锁系统联锁机关机后想再重新开机,首先应确认已送电到联锁机,然后再打开位于顶层的()开关,启动联锁机。
214、问答题 断开计算机联锁主机柜电源的开关顺序和合上主机柜电源的开关顺序分别是怎样的。
215、填空题 计算机联锁系统某块采集板某路采集的是哪个继电器接点,是由()表约定。
216、单项选择题 ZPW-2000R型无绝缘移频轨道电路自动闭塞,室内编码线采用()双芯绞型阻燃线。
A、16×0.15mm
B、16×0.55mm
C、32×0.15mm
D、32×0.55mm
217、填空题 轨道电路限流电阻作用之一是:当轨道电路()时保护送电电源不会被烧坏。
218、单项选择题 在信号微机监测系统中站机程序界面广域网通信状态条中()灯点亮表示正在发送数据。
A、RX
B、TX
C、FX
D、CAN
219、单项选择题 信号微机监测系统中开关量信息扫描周期不大于()。
A、100ms
B、200ms
C、250ms
D、300ms
220、单项选择题 在分线盘上,测量X1线(或X2)与X3线端子的电压来判断道岔表示电路故障,当测得交流电压为105V,直流电压为0V,可判断为()。
A、室外二极管击穿造成短路
B、室外断线
C、室内断线
D、电容短路
221、问答题 TDCS车站系统机柜SMP(采样板)故障需要更换时,应注意哪些方面?
222、问答题 计算机一般不具有“故障—安全”性能,应采取哪些措施保证车站计算机联锁系统具有“故障—安全”性能。
223、问答题 如何测量TYJL-Ⅱ型计算机联锁系统各电源电压?如何更换电源?
224、问答题 画图题:请画出ZP.Y1-18型移频自动闭塞发送盘框图,并说出其工作原理?
225、单项选择题
如图所示,6根导线互相绝缘,所通电流均为I,区域A、B、C、D均为相等的正方形,那么,指向纸内的磁通量最大的区域是()。

A、A区域
B、B区域
C、C区域
D、D区域
226、单项选择题 6502电气集中在执()对超限绝缘进行了检查。
A、1线
B、2线
C、3线
D、4线
227、填空题 电气化区段轨道电路的极性交叉的测试利用相位表或()。
228、填空题 TDCS通信计算机负责接收本分机采集的车站表示信息、接收处理临站信息、接收无线()等信息,负责中继转发等工作。
229、填空题 既有设备改造时,相关图纸必须及时修改,确保()。
230、单项选择题 电气化区段微机交流计数电码自动闭塞,交流电源为正弦波,电压波动范围()时应可靠工作。
A、220V±33V
B、240V±33V
C、260V±36V
D、280V±36V
231、问答题 TW-2驼峰自动控制系统上层机怎样进行股道封锁?
232、填空题 6502执行组电路由道岔控制电路、锁闭电路、信号控制电路、()和引导信号电路组成。
233、填空题 TJWX-2000型信号微机监测系统模入板主要是在()板控制下,循环选通输入电压信号(0~5V)送入CPU板进行A/D转换和处理。
234、问答题 检测杆的结构、原理和作用是什么?
235、单项选择题 ZPW-2000A无绝缘移频自动闭塞系统接收器故障表示灯每周期闪动(),表示通信故障。
A、2次
B、3次
C、4次
D、5次
236、填空题 重复开放信号时,被按压的始端按钮不能自闭是因为其自闭电路中接有()继电器的后接点。
237、单项选择题 在EI32-JD型计算机联锁系统中,电务维修机和操表机之间通过以太网相连传递数据,这条网络叫()。
A、2×2网
B、维修网
C、联锁系统LAN网
D、电务网
238、单项选择题 6502电气集中组合架六列侧面端子的用途,原则上规定,引进和引出电源用()。
A、01与02
B、02与03
C、03与04
D、06
239、单项选择题 引导按钮继电器电路,YAJ不能自闭的故障现象()。
A、按压引导按钮过程中,出现进路无白光带
B、按压引导按钮的过程中,引导按钮表示灯与复示器引导白灯正常
C、按压引导按钮过程中,出现无白光带,但引导按钮表示灯与复示器引导白灯相继闪光
D、按压引导按钮过程中,出现有白光带,但引导按钮表示灯与复示器引导白灯相继闪光
240、问答题
如图所示,若运行方向是从左至右,试说明5-7DG正常解锁应具备的三点检查条件是什么?

241、填空题 DS6-11系统控制台显示器屏幕上闪烁“C—OK”表示()的网络状态。
242、单项选择题 ZD7-A型电动转辙机动作杆动程为()。
A、156mm±2mm
B、156mm+2mm
C、156mm-2mm
D、156mm
243、填空题 道岔辙岔心上的导电销,由电务部门检查,()时由电务部门通知工务部门焊修。
244、单项选择题 在联锁表中,道岔与栏中填写符号(),表示将2号道岔带动到定位。
A、(2)
B、[2]
C、{2}
D、{120}
245、填空题 有一个电热器接在100V直流电源上,产生的热功率是接在一个正弦交流电源上产生热功率的2倍,如果电热器电阻不随温度变化,那么这个交流电的电压最大值是()。
246、单项选择题 根据组合连接图可以统计出全站使用的组合和组合架的数量,再加上()的组合架备用量,就可以作为选择信号楼类型的依据。
A、9%
B、10%
C、15%
D、20%
247、填空题 当LKD1-T车站列控中心与计算机联锁系统通信中断时自动向所连接的()发送最限制的进路报文。
248、单项选择题 模拟/数字转换的英文符号是()。
A、M/S
B、S/M
C、D/A
D、A/D
249、问答题 进站外方点式环线断线时,预告信号机显示什么信号?
250、单项选择题 ZPW-2000R型无绝缘移频轨道电路自动闭塞,室内其他配线均采用()阻燃塑料软线。
A、23×0.15mm
B、23×0.55mm
C、46×0.15mm
D、46×0.55mm
251、填空题 与继电联锁系统相比较,计算机联锁系统的特点主要是以()及特殊的接口电路代替了大部份的继电电路。
252、填空题 FZh-CTC分散自律调度集中系统UPS电源转换箱采用双路电源()切换技术,实现对两路UPS输出的无缝切换。
253、问答题 在信号微机监测系统中如何形成轨道残压报表?
254、问答题 储风缸日常维修应符合哪些要求?
255、填空题 在场间联系电路中,当Ⅰ场的ZCJ吸起时,说明Ⅱ场没有向联络线排列()
256、填空题 6502电气集中延时解锁和非延时解锁是靠()区分的。
257、填空题 CTCS-2车站列控中心从计算机联锁接口获得车站进路和相关()信息。
258、单项选择题 在信号微机监测系统中电源相序监测是由()转换单元监测的。
A、J1
B、J3
C、J6
D、J7
259、填空题 T•JK2-B50-2006型车辆减速器组装后,每侧制动轨相对于走行轨横向摆动量应不小于()以适应车辆的蛇行运动。
260、填空题 ZPW•TFG型股道发送调整器效率应≥()。
261、填空题 电源屏中的电流互感器二次侧不得(),并应可靠接地。
262、填空题 当道岔被挤时,SH6型转换锁闭器应能可靠断开()。
263、问答题 SJ电路中KZ-YZSJ-H条件电源和各接点的作用是什么?
264、填空题 电缆径路方面,在电缆经过非路用地时应与有关单位商量并取得()。
265、填空题 当调压屏输入()或调压电机电源反相时,调压电机工作时可能出现反转现象。
266、问答题 更换TDCS机柜SMP板时的注意事项和设置方法是什么?
267、问答题 更换扼流器连接线时应如何进行?
268、问答题 信号微机监测系统是如何监督道岔位置与表示一致性的。
269、问答题 在什么情况下需使用HDSL?
270、填空题 TJWX-2000型信号微机监测系统电缆绝缘监测测试电压为()。
271、单项选择题 办理3min延时解锁时,1RJJ随()吸起而励磁并自闭。
A、XJJ
B、QJJ
C、GJJ
D、SJ
272、填空题 EI32-JD型计算机联锁,联锁机上电启动后,采集到另一套联锁机已处于主机状态的前提下,经(),认为本机无故障,且与主机的动态信息同步后,进入热备工作状态。
273、问答题 TYJL-Ⅱ型计算机联锁系统如何使用切换旋钮来人工切换联锁机和监控机?
274、问答题 照查继电器电路中SJ前接点有何作用?
275、填空题 车辆出清后,()迟缓熄灭是轨道继电器未能及时吸起。
276、问答题 无线车次号的采集原理是什么。
277、填空题 在ZPW-2000A型无绝缘移频自动闭塞衰耗盘内变压器次级通过变压器抽头连接,可构成()级变化,按调整表调整接收电平。
278、问答题 UM71轨道中有护轮轨时,应怎样加绝缘节?
279、填空题 正常解锁时,由右向左的进路先吸起的进路继电器是()。
280、问答题 64S型继电半自动闭塞的通知出发继电器TCJ为什么要采取缓放?
281、填空题 EI32-JD型计算机联锁,两套联锁机在运行期间,不但通过自诊断系统验证本机是否工作正常,还实时交换(),相互比较、验证,判断本机以及邻机是否正常工作。
282、单项选择题 DS6-K5B微机联锁系统()板是联锁机与控显机、监控机的通信接口板。
A、F486-4
B、FSD486
C、F386-4
D、FSD386
283、填空题 ZPW-2000A无绝缘轨道电路能够减少调谐区()。
284、填空题 AzL90-3型计轴设备SK30磁头安装处应()轨距杆和其他越轨金属器件。
285、填空题 列车接近道口控制器采用开路道口控制器,采集列车到达道口和()。
286、填空题 TDCS车站子系统设备主要由信号机械室的TDCS主机柜各设备组成的通信及数据采集系统,及()组成的调度管理及行车信息显示系统构成。
287、单项选择题 信号微机监测系统车站采集柜最顶层称为()。
A、C0层
B、C1层
C、C5层
D、C10层
288、填空题 S700K型电动转辙机主要由外壳部份、动力传动机构、()、安全装置、配线接口五部份组成。
289、问答题 智能电源屏应具备哪些基本监测功能?
290、填空题 在提速区段,为解决机车上的信号容易“掉码”,站内正线移频化中采用的是()方式。
291、单项选择题 关于EI32-JD型计算机联锁系统,下列()说法是错误的。
A、有2台操作表示机
B、不算维修机,共有6台计算机
C、不算维修机和操作表示机,共有4台计算机
D、不算维修机,共有4台计算机
292、问答题 如何处理TJK2型减速器无制动缓解表示故障?
293、填空题 DS6-11计算机联锁系统,某一路状态代码输出的故障将影响()接受该状态码的所有设备。
294、填空题 LEU发送给车站列控中心的信息包括:()信息和LEU状态信息。
295、填空题 移频自动闭塞中继点的接收盒不控制通过信号机的显示,接收盒的UJ、LJ可用1个()继电器代替。
296、单项选择题
如图所示,交流电路中,R=XL=XC,下列说法正确的是()。

A、A1=A2+A5,A2=A3+A4不等于0
B、A1=A5,A2=0
C、A3与A4的数值不相等
D、A2与A5的数值相等
297、问答题 采用引导进路锁闭方式引导接车,在接车过程中轨道区段故障恰好恢复,试述电路上是如何防止故障区段错误解锁的。
298、问答题 信号微机监测系统开关量的采集点是如何选择的?
299、单项选择题 用于电源电路的防雷保安器,应单独设置,应具有()的性能,工作电压在110V以上的应有劣化指示。
A、阻容元件
B、电阻阻抗
C、阻断续流
D、电感感抗
300、问答题 当网络不通时,如何通过协议转换器的状态来简单判断故障原因?