手机用户可
保存上方二维码到手机中,在
微信扫一扫中右上角选择“从
相册选取二维码”即可。
1、问答题 隔离开关的大修项目主要有哪些?
点击查看答案
本题答案:大修项目中包括全部小修项目,主要有:(1)列为大修的隔离开关
本题解析:试题答案大修项目中包括全部小修项目,主要有:(1)列为大修的隔离开关应解体清扫检查。(2)对各导电回路的连接点均应检修,必要时应做接触电阻测试,对轴承及转动的轴销应解体清洗处理,然后加润滑油。(3)对电动机构各传动零部件、电气回路、辅助设备检查调试。(4)液压机构要解体清洗、换油、试漏。按该型号隔离开关的技术要求进行全面调整试验,金属支架及易锈的金属部件要去锈、刷漆,适当部分刷相位标志。(5)最后填写大修记录。
2、问答题 对绝缘材料的电气性能有哪些要求?
点击查看答案
本题答案:(1)要有耐受高电压的能力。(2)在最大工作电压的持续作用下
本题解析:试题答案(1)要有耐受高电压的能力。(2)在最大工作电压的持续作用下和过电压的短时作用下,能保持应有的绝缘水平。
3、问答题 使用油压钳应注意什么?
点击查看答案
本题答案:(1)油压钳的吨位不同,所能压接的导线截面和导体材料也不相同
本题解析:试题答案(1)油压钳的吨位不同,所能压接的导线截面和导体材料也不相同,有的油压钳没有保险阀门,因此在使用中不应超出其所能压接的导线截面,以免压力过大超出其所允许的吨位,损坏油压钳。手动油压钳一般均按照一个人进行压接设计,使用时应由一个人进行压接,不应两个人合力强压,以免超出油压钳允许的吨位。压接时,当阴模与阳模碰触后即应停止再施加压力,防止损坏油压钳或压模。(2)油压钳内应按说明书的要求灌入合适的机油,以保证油压钳在不同季节都能正常使用。(3)灌油时应注意油的洁净,带有杂质的油会引起各油阀开闭不严,使油压钳失灵或达不到应有的压力。油压钳在使用中发生故障时应按说明书进行检查,找出问题排除故障。
4、问答题 变电检修工应自行掌握的电气测试项目有哪些?
点击查看答案
本题答案:(1)绝缘电阻的测试;(2)接触电阻的测试;(3)直流电阻的
本题解析:试题答案(1)绝缘电阻的测试;(2)接触电阻的测试;(3)直流电阻的测试;(4)动作特性试验。
5、问答题 什么叫防爆安全型设备?
点击查看答案
本题答案:防爆安全型设备正常时不产生火花、电弧或危险温度,并在设备上采
本题解析:试题答案防爆安全型设备正常时不产生火花、电弧或危险温度,并在设备上采取适当措施,以提高安全性能。
6、问答题 有一台设备质量G为40kN,采用钢拖板在水泥路面上滑移至厂房内安装,钢板与水泥地面的摩擦系数f为0.3,路面不平的修正系数K=1.5,问拖动该设备需要多大的力?
点击查看答案
本题答案:
试题答案
7、问答题 工作负责人(监护人)的安全责任是什么?
点击查看答案
本题答案:1)正确安全地组织工作;2)负责检查工作票所列安全措施
本题解析:试题答案1)正确安全地组织工作;2)负责检查工作票所列安全措施是否正确完备和工作许可人所做的安全措施是否符合现场实际条件,必要时予以补充;3)工作前对工作班成员进行危险点告知,交待安全措施和技术措施,并确认每一个工作班成员都已知晓;4)严格执行工作票所列安全措施;5)督促、监护工作班成员遵守《国家电网公司电力安全工作规程》,正确使用劳动防护用品和执行现场安全措施;6)工作班成员精神状态是否良好,变动是否合适。
8、问答题 某变电站一台断路器的气动机构空压机交流接触器吸合不可靠(颤动),试分析其原因和处理方法。
点击查看答案
本题答案:1、故障分析(0.6)现场检查交流接触器线圈电压为380V5
本题解析:试题答案1、故障分析(0.6)现场检查交流接触器线圈电压为380V50Hz,线圈电阻正常,接触器动作灵活无卡滞,无锈蚀,外接380V电源时动作正常,切换灵活。测量安装点工作电压为209V,故判断为接触器线圈电压使用错误导致故障。2、处理情况(0.4)选用合适的交流接触器后故障排除。1、故障分析方法(0.2);2、分析步骤(0.2);3、逻辑推理(0.2);4、故障处理方法(0.2);5、处理工艺和质量(0.2)。
9、问答题 安装大型变压器常用的器具有哪些?
点击查看答案
本题答案:安装变压器常用的器具有压力式滤油机、真空滤油机、轻便油泵、高
本题解析:试题答案安装变压器常用的器具有压力式滤油机、真空滤油机、轻便油泵、高压冲洗机、真空泵、铜焊机、电扳手、油耐压机、吊车、油罐、烤箱、湿度表、干燥空气发生器、兆欧表、电桥、万用表及起重搬运设备等。
10、问答题 绘出单臂电桥原理图,并写出平衡公式。
点击查看答案
本题答案:
试题答案
11、问答题 GW5-110型隔离开关三相接触同期误差大时应如何调整?
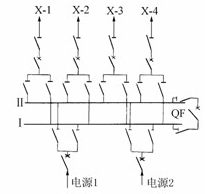
点击查看答案
本题答案:(1)改变相间连杆的长度。(2)利用底座上球面调整环节,松紧
本题解析:试题答案(1)改变相间连杆的长度。(2)利用底座上球面调整环节,松紧其周围的4个调节螺钉,同时观察底座内伞齿轮的啮合情况,卡劲时可移动伞齿轮位置,调整时不要使绝缘子柱向两侧倾倒。
12、问答题 某变电站一台断路器的CD17型电磁机构发“控制回路断线”,试分析其原因和处理方法。
点击查看答案
本题答案:1、故障分析(0.6)现场检查断路器处于分闸状态,机构各部件
本题解析:试题答案1、故障分析(0.6)现场检查断路器处于分闸状态,机构各部件紧固,端子连接可靠,润滑良好,配合尺寸正确。分合闸线圈正常。辅助开关连杆变形导致切换不良发“控制回路断线”。2、处理情况(0.4)调整辅助开关连杆后故障排除。1、故障分析方法(0.2);2、分析步骤(0.2);3、逻辑推理(0.2);4、故障处理方法(0.2);5、处理工艺和质量(0.2)。
13、问答题 引起隔离开关触头发热的原因是什么?
点击查看答案
本题答案:(1)隔离开关过载或者接触面不严密使电流通路的截面减小,接触
本题解析:试题答案(1)隔离开关过载或者接触面不严密使电流通路的截面减小,接触电阻增加。以至熔接的可能。在正常情况下触头的最高允许温度为75℃,因此应调整接触电阻使其值不大于200μΩ。
14、问答题 大型变压器安装工作程序和主要工作内容有哪些?
点击查看答案
本题答案:大型变压器安装工作程序和主要工作内容见表F-1。大型变
本题解析:试题答案大型变压器安装工作程序和主要工作内容见表F-1。大型变压器安装工作程序和主要工作内容。

15、问答题 母线及线路出口外侧作业怎样装设地线?
点击查看答案
本题答案:检修母线时,应根据线路的长短和有无感应电压等实际情况确
本题解析:试题答案检修母线时,应根据线路的长短和有无感应电压等实际情况确定地线数量;检修10m及以下的母线,可以装设一组接地线。在门型架构的线路侧进行停电检修,如工作地点与所装接地线的距离小于10m,工作地点虽在接地线外侧,也可不另装接地线。
16、问答题 画出倒背扣的示意图。
点击查看答案
本题答案:
试题答案
17、问答题 设备的接触电阻过大时有什么危害?
点击查看答案
本题答案:(1)使设备的接触点发热。(2)时间过长缩短设备的使用寿命。
本题解析:试题答案(1)使设备的接触点发热。(2)时间过长缩短设备的使用寿命。(3)严重时可引起火灾,造成经济损失。
18、问答题 《电业安全工作规程》规定,遇有电气设备着火时,应如何处理?
点击查看答案
本题答案:遇有电气设备着火时,应立即将有关设备的电源切断,然后进行救火
本题解析:试题答案遇有电气设备着火时,应立即将有关设备的电源切断,然后进行救火。对带电设备应使用干式灭火器、二氧化碳灭火器等灭火,不得使用泡沫灭火器灭火。对注油设备应使用泡沫灭火器或干燥的砂子等灭火。发电厂和变电所控制室内应备有防毒面具,防毒面具要按规定使用并定期进行试验,使其经常处于良好状态。
19、问答题 已知某一正弦交流电流,在t=0.1s时,其瞬时值为2A,初相角为60°,有效值I为A,求此电流的周期T和频率f。
点击查看答案
本题答案:
试题答案
20、问答题 一台单相变压器,已知一次电压U1=220V,一次绕组匝数N1=500匝,二次绕组匝数N2=475匝,二次电流I2=71.8A,求二次电压U2及满负荷时的输出功率P2?
点击查看答案
本题答案:
试题答案
21、问答题 画出两根平行直导线,当同一方向流过电流时,导线受力的方向示意图。
点击查看答案
本题答案:
试题答案
22、问答题 对隔离开关有哪些要求?
点击查看答案
本题答案:对隔离开关的要求主要有:(1)绝缘性可靠,触头间有足够
本题解析:试题答案对隔离开关的要求主要有:(1)绝缘性可靠,触头间有足够的绝缘距离,打开位置明显易见;(2)具有足够的热稳定和机械稳定性;(3)结构简单,动作灵活可靠;(4)带接地开关的隔离开关,必须装有连锁装置,以保证先断开隔离开关后闭合接地开关,先断开接地开关后闭合隔离开关的操作顺序
23、问答题 SF6气体有什么特点?
点击查看答案
本题答案:(1)无色、无味、不燃、无毒的惰性气体,密度是空气的5
本题解析:试题答案(1)无色、无味、不燃、无毒的惰性气体,密度是空气的5.1倍。(2)具有很好的电气绝缘强度。(3)优良的灭弧性能。(4)SF6气体作为绝缘介质的缺点:①它本身虽无毒,但它的重度大,不易稀释和扩散,是一种窒息性物质,在故障泄漏时容易造成人员缺氧、中毒窒息。②SF6气体在电场中产生电晕放电时会分解出来SOF2、SO2F2、S2F10、SO2、S2F2、HF等近十种气体。SF6气体的这些缺点,构成了SF6电气设备在安全防护方面的主要问题。
24、问答题 在绝缘子上固定矩形母线有哪些要求?
点击查看答案
本题答案:绝缘子上固定母线的夹板,通常都用钢材料制成,不应使其形成闭合
本题解析:试题答案绝缘子上固定母线的夹板,通常都用钢材料制成,不应使其形成闭合磁路。若形成闭合磁路,在夹板和螺栓形成的环路中将产生很大的感应环流,使母线过热,在工作电流较大的母线上,这种情况更严重。为避免形成闭合磁路,两块夹板均为铁质的时,两个紧固螺栓应一个用铁质的,另一个用铜质。另外还可以采用开口卡板固定母线,也可以两块夹板一块为铁质,一块为铝质,两个紧固螺栓均为铁质。
25、问答题 气体继电器如何安装?
点击查看答案
本题答案:(1)检验气体继电器是否合格。(2)应水平安装,顶盖上标示的
本题解析:试题答案(1)检验气体继电器是否合格。(2)应水平安装,顶盖上标示的箭头指向储油柜。(3)允许继电器的管路轴线往储油柜方向的一端稍高,但与水平面倾斜不应超过4%。(4)各法兰的密封垫需安装妥当。(5)不得遮挡油管路通径。
26、问答题 变压器MR有载分接开关定期检查的内容有哪些?
点击查看答案
本题答案:定期检修内容:(1)拆卸及重新安装切换开关(即吊出及重新装入
本题解析:试题答案定期检修内容:(1)拆卸及重新安装切换开关(即吊出及重新装入);(2)清洗切换开关油箱及部件;(3)检查切换开关油箱及部件;(4)测量触头磨损程度;(5)测量过渡电阻;(6)清洗切换开关小油枕;(7)更换切换开关油;(8)检查保护继电器、驱动轴、电机传动机构,如有安装油滤清器及电压调节器也必须进行检查。
27、问答题 电抗器有什么用途?是怎样分类的?
点击查看答案
本题答案:电抗器是一种电感元件,在电路中主要用于限流、稳流、无功补偿和
本题解析:试题答案电抗器是一种电感元件,在电路中主要用于限流、稳流、无功补偿和移相等。电抗器基本上有三种类型:①空心电抗器。这种电抗器只有绕组而无铁芯,实际上是一个空心的电感线圈。②带气隙的铁芯电抗器。这类电抗器的磁路是一个带气隙的铁芯,铁芯外面套有线圈。③铁芯电抗器。其磁路为一闭合铁芯。
28、问答题 测二次回路的绝缘应使用多大的兆欧表?其绝缘电阻的标准是多少?
点击查看答案
本题答案:测二次回路的绝缘电阻最好使用1kV兆欧表,如果没有1kV的也
本题解析:试题答案测二次回路的绝缘电阻最好使用1kV兆欧表,如果没有1kV的也可以用500V兆欧表。绝缘电阻的标准是:运行中的绝缘电阻不应低于1MΩ,新投入的室内绝缘电阻不低于20MΩ,室外绝缘电阻不低于10MΩ。
29、问答题 交、直流接触器的铁芯有什么不同?
点击查看答案
本题答案:交流接触器的铁芯是由彼此绝缘的硅钢片叠压而成的,在铁芯
本题解析:试题答案交流接触器的铁芯是由彼此绝缘的硅钢片叠压而成的,在铁芯断面的一部分铁芯上装有短路环。而直流接触器的铁芯则由整块软钢制成的磁轭和铁芯组成。
30、问答题 叙述哪些工作需要填写第一种工作票?哪些需要填写第二种工作票?
点击查看答案
本题答案:以下工作需要填写第一种工作票:(1)高压设备上的工作,需要全
本题解析:试题答案以下工作需要填写第一种工作票:(1)高压设备上的工作,需要全部停电或部分停电。(2)高压室内的工作接线和照明等回路上的工作,需要将高压设备停电或采取安全措施。以下工作需要填写第二种工作票:(1)带电作业和在带电设备外壳上的工作。(2)控制盘和低压配电盘、配电箱、电源干线上的工作。(3)二次接线回路上的工作,无需将高压设备停电者。(4)转动中的发电机、同期调相机的励磁回路或高压电动机转子电阻回路上的工作。(5)非当值值班人员,使用绝缘棒和电压互感器定相或使用钳形电流表测量高压回路电流的工作。
31、问答题 二次回路电缆全长L为200m,电阻系数为1.75×10-8Ωm,母线电压U为220V,电缆允许压降为5%,合闸电流I为100A,求合闸电缆的截面积S为多少?
点击查看答案
本题答案:
试题答案
32、问答题 试述隔离开关验收检查的主要内容是什么?
点击查看答案
本题答案:主要检查内容为:(1)底座及瓷柱部分:外观检查应无损伤
本题解析:试题答案主要检查内容为:(1)底座及瓷柱部分:外观检查应无损伤,稳定牢固,水平、垂直及中心距离误差尺寸应满足要求。(2)导电部分:接触表面清洁,平整并涂有薄层中性凡士林或复合脂,接触紧密,压力均匀,触头动作灵活。(3)传动装置:三相连杆中心线误差尺寸符合要求,拉杆平直无弯曲,传动部件清洁无锈蚀变形,安装正确,固定牢靠。(4)操作机构:外观良好,固定牢靠,电气控制回路接线正确、美观,二次回路元件电气性能良好,闭锁准确。操作机构工作正确可靠,符合制造厂要求。(5)金属表面油漆完整,相色标志正确,镀锌件镀锌质量良好,各部位接地符合要求。
33、问答题 画出变压器套管内部冲洗示意图。
点击查看答案
本题答案:
试题答案
34、问答题 硬母线怎样进行调直?
点击查看答案
本题答案:具体方法如下:(1)放在平台上调直,平台可用槽钢,钢轨
本题解析:试题答案具体方法如下:(1)放在平台上调直,平台可用槽钢,钢轨等平整材料制成;(2)应将母线的平面和侧面都校直,可用木锤敲击调直;(3)不得使用铁锤等硬度大于铝带的工具。
35、问答题 有一线圈,若将它接在电压U为220kV,频率f为50Hz的交流电源上,测得通过线圈的电流I为5A,求线圈的电感L是多少?
点击查看答案
本题答案:
试题答案
36、问答题 什么是交流电的周期、频率和角频率?
点击查看答案
本题答案:周期:交变电压完成一次完整的变化所需的时间。频率:交变电压每
本题解析:试题答案周期:交变电压完成一次完整的变化所需的时间。频率:交变电压每秒变化的周数。角频率:交变电压在单位时间内变化的电角度。
37、问答题 GIS为什么要设计成很多气隔?
点击查看答案
本题答案:GIS内部相同或不同压力的各电器元件的气室间设置的使气体互不
本题解析:试题答案GIS内部相同或不同压力的各电器元件的气室间设置的使气体互不相通的密封间隔称为气隔。设置气隔有以下好处:1)可以将不同SF6气体压力的各电器元件分隔开;2)特殊要求的元件(如避雷器等)可以单独设置为一个气隔;3)检修时可以减少停电范围;4)可以减少检修时SF6气体的回收和充放电工作量;5)有利于安装和扩建工作。
38、问答题 变压器铁芯为什么要用涂漆的硅钢片制造?
点击查看答案
本题答案:为了减小涡流损耗,变压器在设计时采用了导磁性能好、电阻率大的
本题解析:试题答案为了减小涡流损耗,变压器在设计时采用了导磁性能好、电阻率大的硅钢制成薄片,使每片硅钢片截面很小,减低单片感应电动势,增大涡流回路电阻,限制了涡流。为限制片与片间的涡流,硅钢片表面都涂有绝缘漆。
39、问答题 全部停电的工作是指哪些工作?
点击查看答案
本题答案:全部停电的工作,系指室内高压设备全部停电(包括架空线路与电缆
本题解析:试题答案全部停电的工作,系指室内高压设备全部停电(包括架空线路与电缆引入线在内),通至邻接高压室的门全部闭锁,以及室外高压设备全部停电(包括架空线路与电缆引入线在内)。
40、问答题 电流互感器的技术参数有哪些?
点击查看答案
本题答案:电流互感器的技术参数有:(1)电流互感器一次绕组的额定电流;
本题解析:试题答案电流互感器的技术参数有:(1)电流互感器一次绕组的额定电流;(2)额定电流比;(3)电流互感器的额定电压;(4)准确等级;(5)电流互感器的二次负荷阻抗;(6)电流互感器的1s热稳定电流;(7)电流互感器的动稳定电流。
41、问答题 如果吊钩根部螺纹处直径d为35mm,材质为15号钢,求吊钩最大荷重为多少(15号钢σ=5500N/cm2)?
点击查看答案
本题答案:
试题答案
42、问答题 固定连接钢丝绳端部有什么要求?
点击查看答案
本题答案:固定钢丝绳端部应注意以下几点:(1)选用夹头时,应使U型环内
本题解析:试题答案固定钢丝绳端部应注意以下几点:(1)选用夹头时,应使U型环内侧净距比钢丝绳直径小1~3mm,若太大了卡不紧,易发生事故。(2)上夹头时,一定要将螺栓拧紧,直到绳被压扁1/4~1/3直径时为止;在绳受力后再紧一次螺栓。(3)U形部分与绳头接触,夹头要一顺排列。如U形部分与主绳接触,则主绳被压扁受力后容易产生断丝。(4)在最后一个受力卡子后面大约500mm处,再安装一个卡头,并将绳头放出一个安全弯,这样当受力的卡头滑动时,安全弯首先被拉直,可立即采取措施处理。
43、问答题 10kV绝缘操作杆的最小有效绝缘长度是多少?
点击查看答案
本题答案:0.7米
本题解析:试题答案0.7米
44、问答题 简述高压断路器检修前的准备工作?
点击查看答案
本题答案:(1)根据运行、试验发现的缺陷及上次检修后的情况,确定
本题解析:试题答案(1)根据运行、试验发现的缺陷及上次检修后的情况,确定重点检修项目,编制检修计划。(2)讨论检修项目、进度、需消除缺陷的内容以及有关安全注意事项。(3)制订技术措施,准备有关检修资料及记录表格和检修报告等。(4)准备检修时必需的工具、材料、测试仪器和备品备件及施工电源。(5)按部颁《电业安全工作规程》规定,办理工作票许可手续,做好现场检修安全措施,完成检修开工手续。
45、问答题 背画具有2条电源线、4条负荷线的双母线且带母联开关的电气主接线图。
点击查看答案
本题答案:
试题答案
46、问答题 变压器温度表所指示的温度是变压器什么部位的温度?运行中有哪些规定?温度与温升有什么区别?
点击查看答案
本题答案:温度表指示的是变压器上层油温,规定不得超过95℃,运行中油的
本题解析:试题答案温度表指示的是变压器上层油温,规定不得超过95℃,运行中油的监视温度定为85℃。温升是指变压器上层油温减去环境温度。运行中的变压器在环境温度30℃时,其温升不得超过55℃,运行中要以上层油温为准,温升是参考数字。上层油温如果超过95℃,其内部绕组的温度就要超过绕组绝缘物的耐热强度。为使绝缘不致迅速老化,所以才规定了85℃这个上层油温监视界限。但在长期过负荷运行时,要适当降低监视温度。
47、问答题 一条电压U为220V纯并联电路,共有额定功率P1为40W的灯泡20盏,额定功率P2为60W的灯泡15盏,此线路的熔断器容量应选多大的?
点击查看答案
本题答案:
试题答案
48、问答题 工作许可人的安全责任是什么?
点击查看答案
本题答案:①负责审查工作票所列安全措施正确完备,是否符合现场条件;②工
本题解析:试题答案①负责审查工作票所列安全措施正确完备,是否符合现场条件;②工作现场布置的安全措施是否完善;③负责检查停电设备有无突然来电的危险;④对工作票所列内容即使发生很小疑问。也必须向工作票签发人询问清楚,必要时应要求作详细补充。(南方电网公司《电气工作票技术规范》(发电、变电部分)规定:(此部分仅作参考,不为参考答案)工作许可人的安全责任:①工作票所列安全措施是否正确完备,是否符合现场实际条件;②工作现场布置的安全措施是否完善;③停电设备有无突然来电的危险;④许可和组织验收、工作终结。)
49、问答题 什么是负载的星形连接?星形连接时,线电压和相电压,线电流与相电流之间在数值上有什么关系?
点击查看答案
本题答案:将三相负载的末端0、Y、Z连到一起,从首端ABC引出连接电源
本题解析:试题答案将三相负载的末端0、Y、Z连到一起,从首端ABC引出连接电源的导线,这种连接方式称为负载的星形连接。星形连接时,线电压等于倍相电压;线电流等于相电流。
50、问答题 一台三相三绕组变压器额定容量为50000kVA,容量比为100%/100%/50%,高、中、低三个电压分别为220000,110000,38500V,求各侧的额定电流。
点击查看答案
本题答案:
试题答案
51、问答题 混凝土的养护有哪些要求?
点击查看答案
本题答案:(1)浇制好的混凝土要进行养护,防止其因干燥而龟裂,养护必须
本题解析:试题答案(1)浇制好的混凝土要进行养护,防止其因干燥而龟裂,养护必须在浇后12h内开始,炎热或有风天气3h后就开始。(2)养护日期一般为7~14天,在特别炎热干燥地区,还应加长浇水养护日期。(3)养护方法可直接浇水或在混凝土基础上覆盖草袋稻草等,然后再浇水。
52、问答题 《电业安全工作规程》规定,操作中发生疑问时,应如何处理?
点击查看答案
本题答案:应立即停止操作并向值班调度员或值班负责人报告,弄清问题
本题解析:试题答案应立即停止操作并向值班调度员或值班负责人报告,弄清问题后,再进行操作。不准擅自更改操作票,不准随意解除闭锁装置。
53、问答题 室外隔离开关水平拉杆怎样配制?
点击查看答案
本题答案:具体方法如下:(1)根据相间距离,锯切两根瓦斯管,其长度为隔
本题解析:试题答案具体方法如下:(1)根据相间距离,锯切两根瓦斯管,其长度为隔离开关相间距离减去连接螺丝及连接板的长度,并使配好的拉杆有伸长或缩短的调整余度。(3)将栏杆两头与拐臂上的销钉固定起来。
54、问答题 简述静电屏和角环的作用?
点击查看答案
本题答案:静电屏的作用主要是改善绕组端部的电场分部,使之趋于均匀,同时
本题解析:试题答案静电屏的作用主要是改善绕组端部的电场分部,使之趋于均匀,同时还能改善在冲击电压作用时绕组电压的起始分布,使端部匝间分布电压减小,避免匝间绝缘损坏事故。角环是加强绕组端部绝缘的构件。
55、问答题 已知一电炉电炉丝电阻为10Ω,将其接在220V的电路上,每小时发热量是多少?如将其接在380V的电路上,每小时发热量是多少?
点击查看答案
本题答案:
试题答案
56、问答题 停电操作和送电操作的顺序是什么?
点击查看答案
本题答案:停电拉闸操作必须按照断路器(开关)—负荷侧隔离开关(刀闸)—
本题解析:试题答案停电拉闸操作必须按照断路器(开关)—负荷侧隔离开关(刀闸)—母线侧隔离开关(刀闸)的顺序依次操作,送电合闸操作应按与上述相反的顺序进行。严防带负荷拉合刀闸。
57、问答题 使用电动卷扬机应注意什么?
点击查看答案
本题答案:(1)电动卷扬机应安装在视野宽广,便于观察的地方,尽量利用附
本题解析:试题答案(1)电动卷扬机应安装在视野宽广,便于观察的地方,尽量利用附近建筑物或地锚使其固定,固定后卷扬机不应发生滑动或倾覆。(2)卷扬机前面第一个转向轮中心线应与卷筒中心线垂直,并与卷筒相隔一定距离(应大于卷筒宽的20倍),才能保证钢丝绳绕到卷筒两侧时倾斜角不超过1°30′,这样钢丝绳在卷筒上才能按顺序排列,不致斜绕和互相错叠挤压。起吊重物时,卷扬机卷筒上钢丝绳余留不得少于3圈。(3)操作前应检查减速箱的油量,检查滑动轴承是否已注黄油。(4)开车前先空转一圈,检查各部分零件是否正常,制动装置是否安全可靠。(5)卷扬机的电气控制器要紧靠操作人员,电气开关及转动部分必须有保护罩,钢丝绳应从卷筒下方卷入,卷扬机操作时周围严禁站人,严禁任何人跨越钢丝绳。
58、问答题 某电阻、电容元件串联电路,经测量功率P为325W,电压U为220V,电流I为4.2A,求电阻R、电容C各是多少?
点击查看答案
本题答案:
试题答案
59、问答题 蝶式绝缘子的型号及意义是什么?
点击查看答案
本题答案:蝶式绝缘子分为高压蝶式绝缘子和低压蝶式绝缘子两种。高压蝶式绝
本题解析:试题答案蝶式绝缘子分为高压蝶式绝缘子和低压蝶式绝缘子两种。高压蝶式绝缘子型号有E-6、E-10。型号中的字母含义:E-蝶式绝缘子;破折号后面的数字--表示额定电压(kV)。低压蝶式绝缘子型号有ED-1、ED-2、ED-3。型号中的字母含义;E-蝶式绝缘子;D-低压;破折号后面的数字--表示尺寸大小的代号。
60、问答题 电气设备中常用的绝缘油有哪些特点?
点击查看答案
本题答案:(1)绝缘油具有较空气大得多的绝缘强度;(2)绝缘油还有良好
本题解析:试题答案(1)绝缘油具有较空气大得多的绝缘强度;(2)绝缘油还有良好的冷却特性;(3)绝缘油是良好的灭弧介质;(4)绝缘油对绝缘材料起保养、防腐作用。
61、问答题 引起隔离开关接触部分发热的原因有哪些?如何处理?
点击查看答案
本题答案:引起隔离开关接触部分发热的原因有:(1)压紧弹簧或螺丝松劲;
本题解析:试题答案引起隔离开关接触部分发热的原因有:(1)压紧弹簧或螺丝松劲;(2)接触面氧化,使接触电阻增大;(3)刀片与静触头接触面积太小,或过负荷运行;(4)在拉合过程中,电弧烧伤触头或用力不当,使接触位置不正,引起压力降低。处理方法有:(1)检查、调整弹簧压力或更换弹簧。(2)用“0-0”号砂纸清除触头表面氧化层,打磨接触面,增大接触面,并涂上中性凡士林。(3)降负荷使用,或更换容量较大的隔离开关。(4)操作时,用力适当,操作后应仔细检查触头接触情况。
62、问答题 有一虎台钳,其螺杆螺纹的螺距为4mm,问螺杆转动6圈,活动钳口移动的距离是多少?
点击查看答案
本题答案:
试题答案
63、问答题 为什么防雷接地的引下线不允许穿保护钢管?
点击查看答案
本题答案:若防雷接地引下线穿保护钢管,高频雷电流会在钢管中产生涡流,相
本题解析:试题答案若防雷接地引下线穿保护钢管,高频雷电流会在钢管中产生涡流,相当于人为增大了接地装置的接地阻抗,不利于雷电流导入大地。
64、问答题 试绘制低压三相异步电机点动正转控制原理图。
点击查看答案
本题答案:
试题答案
65、问答题 保证安全的技术措施是什么?
点击查看答案
本题答案:停电;验电;装设接地线;悬挂标示牌和装设遮拦。
本题解析:试题答案停电;验电;装设接地线;悬挂标示牌和装设遮拦。
66、问答题 有一堆无缝钢管,它的外径D为100mm,壁厚δ为10mm,经逐根测量总长度L为100m,求此堆钢管重G是多少(钢的密度ρ为7.8t/m3)?
点击查看答案
本题答案:
试题答案
67、问答题 安装SF6断路器有哪些技术要求?
点击查看答案
本题答案:安装SF6断路器时有关技术要求如下:(1)熟悉制造厂说明书和
本题解析:试题答案安装SF6断路器时有关技术要求如下:(1)熟悉制造厂说明书和图纸等有关的技术资料,编制安装、调试方案,准备好检漏仪器和氮气等。(2)本体安装时,各相之间的尺寸要与厂家的要求相符,特别是控制箱的位置。(3)套管吊装时,套管四周必须包上保护物,以免损伤套管。接触面紧固以前必须经过彻底清洗,并在运输时将防潮干燥剂清除。(4)六氟化硫管路安装之前,必须用干燥氮气彻底吹净管子,所有管道法兰处的密封应良好。(5)空气管道安装前,必须用干燥空气彻底吹净管子,安装过程中,要严防灰尘和杂物掉入管内。(6)充加SF6气体时,应采取措施,防止SF6气体受潮。(7)充完SF6气体后,用检漏仪检查管接头和法兰处,不得有漏气现象。(8)压缩空气系统(氮气),应在规定压力下检查各接头和法兰,不准漏气。
68、问答题 心肺复苏法支持生命的三项措施是什么?
点击查看答案
本题答案:触电伤员呼吸和心跳均停止时,应立即按心肺复苏法支持生命的三项
本题解析:试题答案触电伤员呼吸和心跳均停止时,应立即按心肺复苏法支持生命的三项基本措施,正确进行就地抢救。a.通畅气道;b.口对口(鼻)人工呼吸;c.胸外接压(人工循环)。
69、问答题 常用的减少接触电阻的方法有哪些?
点击查看答案
本题答案:(1)磨光接触面,扩大接触面。(2)加大接触部分压力,保证可
本题解析:试题答案(1)磨光接触面,扩大接触面。(2)加大接触部分压力,保证可靠接触。(3)涂抹导电膏,采用铜、铝过渡线夹。
70、问答题 吊装电气绝缘子时应注意哪些内容,为什么?
点击查看答案
本题答案:应注意内容及原因如下:(1)未装箱的瓷套管和绝缘子在托
本题解析:试题答案应注意内容及原因如下:(1)未装箱的瓷套管和绝缘子在托运时,应在车辆上用橡皮或软物垫稳,并与车辆相对固定,以免碰撞或摩擦造成损坏;竖立托运时应把瓷管上中部与车辆四角绑稳。(2)对于卧放运输的细长套管,在竖立安装前必须将套管在空中翻竖,在翻竖的过程中,套管的任何一点都不能着地。(3)起吊用的绑扎绳子应采用较柔的麻绳,如所吊的绝缘子较重而必须用钢丝绳起吊时,绝缘子的绑扎处用软物包裹,防止损坏绝缘子。(4)起吊升降速度应尽量缓慢、平稳,如果采用的吊装起重机的升降速度较快,可在起重机吊钩上系挂链条葫芦,借以减慢起吊速度,在安装就位过程中进行短距离的升降。(5)对于细长管、套管、绝缘子(变压器套管,电压互感和避雷器等)的吊耳在下半部位置时,吊装时必须用麻绳子把套管和绝缘子上部捆牢,防止倾倒。
71、问答题 一个圆油罐,其直径d为4m,高h为6m,最多能储存多少变压器油(变压器油比重γ为0.9tm3)?
点击查看答案
本题答案:
试题答案
72、问答题 互感器安装时应检查哪些内容?
点击查看答案
本题答案:主要有以下内容:(1)安装前检查基础、几何尺寸是否符合设计要
本题解析:试题答案主要有以下内容:(1)安装前检查基础、几何尺寸是否符合设计要求,有无变动,误差是否在允许范围内。(2)同一种类型同一电压等级的互感器在并列安装时要在同一平面上。(3)中心线和极性方向也应一致。(4)二次接线端及油位指示器的位置应位于便于检查的一侧。
73、问答题 画出两块分别带有正、负电荷的平板平行放置时,两平板之间的电力线的分 布图。
点击查看答案
本题答案:
试题答案
74、问答题 如何对隔离开关接触面进行检修?
点击查看答案
本题答案:隔离开关的接触面在电流和电弧的热作用下,会产生氧化铜膜和烧伤
本题解析:试题答案隔离开关的接触面在电流和电弧的热作用下,会产生氧化铜膜和烧伤痕迹。在检修时应用锉刀及砂布进行清除和加工,使接触面平整并具有金属光泽,然后再涂一层电力脂。
75、问答题 用管子滚动搬运时应遵守哪些规定?
点击查看答案
本题答案:(1)应有专人负责指挥。(2)所使用的管子能承受重压,直径相
本题解析:试题答案(1)应有专人负责指挥。(2)所使用的管子能承受重压,直径相同。(3)承受重物后,两端各露出约30cm,以便调解转变。(4)滚动搬运中,放置管子应在重物移动的方向前,并有一定的距离。禁止用手去拿受压的管子,以防压伤手指。(5)上坡时应用木楔垫牢管子,以防管子滚下;下坡时,必须用绳子拉住重物的重心,防止下滑过快。
76、问答题 某变电站一台LW6-35型断路器配液压操作机构在分、合闸状态下油泵起动频繁,试分析其原因和处理方法。
点击查看答案
本题答案:1、故障分析(0.6)经现场检查为油泵的高压逆止阀密封
本题解析:试题答案1、故障分析(0.6)经现场检查为油泵的高压逆止阀密封不严导致高压油向低压油箱回油、逆止阀与油泵壳体间密封不严有外漏现象导致油泵起动频繁2、处理情况(0.4)更换油泵高压逆止阀及逆止阀座与油泵壳体间密封圈后故障排除。1、故障分析方法(0.2);2、分析步骤(0.2);3、逻辑推理(0.2);4、故障处理方法(0.2);5、处理工艺和质量(0.2)。
77、问答题 创伤急救的原则是什么?
点击查看答案
本题答案:创伤急救原则上是先抢救,后固定,再搬运,并注意采取措施,防止
本题解析:试题答案创伤急救原则上是先抢救,后固定,再搬运,并注意采取措施,防止伤情加重或污染。需要送医院救治的,应立即做好保护伤员措施后送医院救治。
78、问答题 说明真空注油的步骤。
点击查看答案
本题答案:当容器真空度达到规定值时,即可在不解除真空的情况下,由油箱下
本题解析:试题答案当容器真空度达到规定值时,即可在不解除真空的情况下,由油箱下部油门缓慢注入绝缘油,油的温度应高于器身温度。220kV及以上电压等级者注油时间不宜少于6h,110kV不宜少于4h。注油后继续保持真空4h,待彻底排出箱内空气,方可解除真空。
79、问答题 绘制一个M20的螺母加工图。
点击查看答案
本题答案:
试题答案
80、问答题 我国有哪几种标准电压等级?
点击查看答案
本题答案:标准电压等级有:0.4、3、6、10、35、110、220、
本题解析:试题答案标准电压等级有:0.4、3、6、10、35、110、220、330、500kV等。
81、问答题 什么是集肤效应?有何应用?
点击查看答案
本题答案:当交变电流通过导体时,电流将集中在导体表面流通,这种现象称为
本题解析:试题答案当交变电流通过导体时,电流将集中在导体表面流通,这种现象称为集肤效应。(0.5)为了有效地利用导体材料和使之散热,大电流母线常做成槽形或菱形,另外,在高压输配电线路中,利用钢芯绞线代替铝绞线,这样既节省了铝导体,又增加了导线的机械强度。(0.5)
82、问答题 电压和电动势有什么区别?
点击查看答案
本题答案:电压是外电路中衡量电场力做功的物理量,而电动势则是在内电路衡
本题解析:试题答案电压是外电路中衡量电场力做功的物理量,而电动势则是在内电路衡量电源做功的物理量;电压表征在外电路中将电能转化为其他形式能的本领,而电动势表征在电源内将其他形式能量转化为电能的本领;电压的方向是由高电位到低电位,而电动势的方向与之相反。
83、问答题 安装、使用接触器应注意哪些问题?
点击查看答案
本题答案:安装、使用接触器应注意以下事项:(1)必须选用合格产品。在8
本题解析:试题答案安装、使用接触器应注意以下事项:(1)必须选用合格产品。在85%额定电压时能合上,105%额定电压时不致烧坏线圈,接触器的合、分闸时间要符合要求。(2)安装前必须检查铭牌及线圈上的技术数据,应符合使用条件;用手动分、合活动部分,动作应灵活。(3)使用前,必须清洗掉铁芯极面上的防锈油,并再次检查活动部分是否灵活,接线是否正确,确认无误后方可通电。(4)安装时,特别要注意不可将螺钉、螺母、其他杂物掉进接触器内。(5)触头表面保持清洁,不允许涂油;对于银及银基表面,不要锉修因分断电弧产生的黑色氧化膜,以防止缩短使用寿命。(6)灭弧罩如有损坏、脱落,应及时更换。
84、问答题 两电阻R1和R2并联,R1=20Ω,R2=30Ω,外接110V直流电压,求电路的总电阻和各支路电流及R1、R2上的发热功率。
点击查看答案
本题答案:
试题答案
85、问答题 背画低压三相异步电机点动具有自锁的正转控制电路图(自保持)。
点击查看答案
本题答案:
试题答案
86、问答题 发热对电器会产生哪些不良的影响?
点击查看答案
本题答案:①机械强度下降;②接触电阻增加;③绝缘强度(性质)降低
本题解析:试题答案①机械强度下降;②接触电阻增加;③绝缘强度(性质)降低。
87、问答题 说明型号JCC2-220的字母或数字的含义?
点击查看答案
本题答案:J-表示电压互感器;C-表示瓷箱式;C-表示串级结构;2-表
本题解析:试题答案J-表示电压互感器;C-表示瓷箱式;C-表示串级结构;2-表示设计序号;220-表示额定电压等级为220kV。
88、问答题 隔离开关可能出现哪些故障?
点击查看答案
本题答案:主要有:(1)触头过热;(2)绝缘子表面闪络和松动;(
本题解析:试题答案主要有:(1)触头过热;(2)绝缘子表面闪络和松动;(3)隔离开关拉不开;(4)刀片自动断开;(5)片刀弯曲。
89、问答题 什么叫真空断路器?它的优点是什么?
点击查看答案
本题答案:触头在高真空中关合和开断的断路器称之为真空断路器。真空
本题解析:试题答案触头在高真空中关合和开断的断路器称之为真空断路器。真空断路器具有很多优点,如开距短,体积小,重量轻,电寿命和机械寿命长,维护少,无火灾和爆炸危险等,因此近年来发展很快,特别在中等电压领域内使用很广泛,是配电开关无油化的最好换代产品。
90、问答题 已知电流的瞬时值函数式i=sin(1000t+45°),试求其最大值、角频率、频率和相角,并求该电流经多长时间第一次出现最大值。
点击查看答案
本题答案:
试题答案
91、问答题 高压断路器的型号中各符号代表什么意思?
点击查看答案
本题答案:高压断路器的全部型号包括以下几部分:(1)第一个拼音字母表示
本题解析:试题答案高压断路器的全部型号包括以下几部分:(1)第一个拼音字母表示断路器的种类,即S-少油;D-多油;K-压缩空气;Z-真空;L-六氟化硫;Q-自产气;C-磁吹。(2)第二个拼音字母表示使用场合,即N-户内;W-户外。(3)拼音字母后的数字依次表示设计序列、额定电压、额定电流和额定开断电流。(4)在额定电压后面有时增加1个拼音字母,用来表示某种特殊性能,如G-改进型;D-增容;W-防污;Q-耐震。
92、问答题
如图254所示起吊质量m=500kg的电流互感器,不计摩擦系数,求F1、F2大小?

点击查看答案
本题答案:
试题答案
93、问答题 画出打平扣方法的示意图。
点击查看答案
本题答案:
试题答案
94、问答题 GW7型隔离开关合闸后,对动静触头有什么技术要求?达不到要求时应如何调整? 主刀闸合闸后,要求动触头与静触头之间间隙为30~50mm,动触头中心与静触头中心高度误差小于2mm。如不满足以上要求,应改变动刀杆长度和在绝缘子柱上加垫调整。
点击查看答案
本题答案:GW7型隔离开关合闸后,对动静触头有什么技术要求?达不到要求
本题解析:试题答案GW7型隔离开关合闸后,对动静触头有什么技术要求?达不到要求时应如何调整?
答案:主刀闸合闸后,要求动触头与静触头之间间隙为30~50mm,动触头中心与静触头中心高度误差小于2mm。如不满足以上要求,应改变动刀杆长度和在绝缘子柱上加垫调整。
95、问答题 什么叫对应编号法?
点击查看答案
本题答案:甲设备连接柱上标了乙设备接线柱上的号,乙设备接线柱上又
本题解析:试题答案甲设备连接柱上标了乙设备接线柱上的号,乙设备接线柱上又标了甲设备接线柱的号,表明甲和乙两设备两个接线柱之间应连接起来,这种编号称为对应编号法。
96、问答题 不同截面的铜芯电缆怎样连接?
点击查看答案
本题答案:不同截面的铜芯电缆可采用紫铜棒车制成两端具有相应不同截面的铜
本题解析:试题答案不同截面的铜芯电缆可采用紫铜棒车制成两端具有相应不同截面的铜接管,然后镀锡,以压接法连接。
97、问答题 已知一个电容器的电容为8μF,计算在50Hz时的容抗是多少?电压为220V时,计算通过这个电容的电流是多少?
点击查看答案
本题答案:
试题答案
98、问答题 试述套丝步骤。
点击查看答案
本题答案:(1)将套丝坯杆端部倒成30°角,以使板牙找正
本题解析:试题答案(1)将套丝坯杆端部倒成30°角,以使板牙找正。(2)将坯杆夹在虎钳中间,工件不要露出,以免变形。(3)攻丝时两手顺时针方向放置板牙架,用力要均匀,使板牙架保持水平。每旋转1/2~1周时应倒转1/4周,以便切断铁屑。攻丝过程中要加注冷却润滑液。(4)套12mm以上螺丝时,应用可调式板牙,并分2~3次套。
99、问答题 说明型号GW6-220DW/2000-40中各符号意义?
点击查看答案
本题答案:G-隔离开关;D-带接地开关;W-户外安装;W-防污型
本题解析:试题答案G-隔离开关;D-带接地开关;W-户外安装;W-防污型;6-设计系列顺序号;2000-额定电流(A);220-额定电压(kV);40-额定热稳定电流(kA)。
100、问答题 变配电设备防止污闪事故的措施有几种?为什么?
点击查看答案
本题答案:变配电设备污闪主要是发生在瓷绝缘物上,防止污闪事故发生
本题解析:试题答案变配电设备污闪主要是发生在瓷绝缘物上,防止污闪事故发生的措施有下列几种:(1)根治污染源。(2)把电站的电力设备装设在户内。(3)合理配置设备外绝缘。(4)加强运行维护。(5)采取其他专用技术措施,如在电瓷绝缘表面涂涂料等。其原理如下:(1)污闪事故的主要原因是绝缘表面遭受污染,除沿海空气中含盐和海雾外,主要的工业污染源都是人为的,要防治污染,首先要控制污染源,不让大气受到污染,变电所选址,应尽量避开明显的污染源。(2)为防止大气污染,将变配电设备置于室内,可以大大减少污闪事故,但室内应配备除尘吸湿装置或者选用“全工况”型设备以防结露污闪。(3)发生污闪又和瓷件的造型以及它的泄漏比距有关,防污型绝缘子一般泄漏距离大,应对照本地区污区分布图及运行经验选用相应爬电比距的电气设备。(4)及时清扫电瓷外绝缘污垢,恢复其原有的绝缘水平,是防污闪的基本措施。(5)有时不能适应当地的污秽环境则可采用更换绝缘子、增加绝缘叶片数、加装防污裙套、防污罩涂料(有机硅、硅油、硅脂、地蜡RTV等)及合成绝缘子,目的是增大绝缘爬距,减少污闪事故。以上方法各有优缺点,应做经济比较后选用。
101、问答题 如何调整液压机构分、合闸铁芯的动作电压?
点击查看答案
本题答案:(1)动作电压的调整借改变分、合闸电磁铁与动铁芯间隙的大小来
本题解析:试题答案(1)动作电压的调整借改变分、合闸电磁铁与动铁芯间隙的大小来实现。(2)缩短间隙,动作电压升高,反之降低。但过分的加大间隙反而会使动作电压又升高,甚至不能分闸,调整动作电压会影响分合闸时间及相间同期,故应综合考虑。
102、问答题 变压器分接开关的作用及原理是什么?
点击查看答案
本题答案:变压器分接开关是起调压作用的。当电网电压高于或低于额定电压时
本题解析:试题答案变压器分接开关是起调压作用的。当电网电压高于或低于额定电压时,通过调分接开关,可以使变压器的输出电压在一定范围改变。变更分接开关位置,可使一二次绕组的匝数比发生改变,以改变电压比。
103、问答题 电动机过热的原因是什么?
点击查看答案
本题答案:过热原因主要有电源、电动机本身和负载等方面:①电源电压过高或
本题解析:试题答案过热原因主要有电源、电动机本身和负载等方面:①电源电压过高或过低,或者三相电压不对称。②电机本身一相断线,绕组短路,绕组接法错误。③机械故障,定转子相擦,转子卡位等。④负载长期过负荷,负载时高时低或机械卡住。⑤通风散热不好。
104、问答题 母线常见故障有哪些?
点击查看答案
本题答案:1)接头因接触不良,电阻增大,造成过热;2)绝缘子绝缘不良,
本题解析:试题答案1)接头因接触不良,电阻增大,造成过热;2)绝缘子绝缘不良,使母线对地绝缘电阻降低;3)当大电流(故障电流)通过母线时,在电动力作用下使母线发生弯曲、折断或烧伤。
105、问答题 工作负责人应负哪些安全责任?
点击查看答案
本题答案:其应负责任包括:(1)正确安全地组织工作。(2)结合实际进行
本题解析:试题答案其应负责任包括:(1)正确安全地组织工作。(2)结合实际进行安全思想教育。(3)督促、监护工作人员遵守《电业安全工作规程》。(4)负责检查工作票所列安全措施是否正确完备和值班员所做的安全措施是否符合现场实际条件。(5)工作前对工作人员交待安全事项。(6)工作班人员变动是否合适。
106、问答题 画出“8”安扣结法的示意图。
点击查看答案
本题答案:
试题答案
107、问答题 测量变压器绕组绝缘电阻时应注意什么?如何判断变压器绝缘的好坏?
点击查看答案
本题答案:新安装或检修后及停运半个月以上的变压器,投入运行前,均应测定
本题解析:试题答案新安装或检修后及停运半个月以上的变压器,投入运行前,均应测定变压器绕组的绝缘电阻。测量变压器绝缘电阻时应注意以下问题:①必须在变压器停电时进行,各绕组都应有明显断开点;②变压器周围清洁,无接地物,无作业人员;③测量前变压器绕组和铁芯应对地放电,测量后也应对地放电;④测量使用的摇表应符合电压等级的要求;⑤中性点接地的变压器,测量前应将中性点接地开关拉开,测量后应恢复原位。变压器绝缘状况的好坏按以下要求判定:①变压器在使用时所测得的绝缘电阻值,与变压器安装或大修干燥后投入运行前测得的数值之比,不得低于50%。②吸收比R60/R15不得小于1.3倍。符合上述条件,则认为变压器的绝缘合格。
108、问答题 使用滑轮组应注意哪些事项?
点击查看答案
本题答案:使用滑轮组时应注意:(1)使用滑轮组应严格按照滑轮出厂
本题解析:试题答案使用滑轮组时应注意:(1)使用滑轮组应严格按照滑轮出厂允许使用负荷吊重,不得超载,如滑轮没有标注允许使用负荷时,可按公式进行估算,但此类估算只允许在一般吊装作业中使用。(2)滑轮在使用前应检查各部件是否良好,如发现滑轮和吊钩有变形、裂痕和轴定位装置不完善等缺陷时,不得使用。(3)选用滑轮时,滑轮直径大小、轮槽的宽窄应与配合使用的钢丝绳直 91Exam.org径相适应。如滑轮直径过小,钢丝绳将会因弯曲半径过小而受损伤;如滑轮槽太窄钢丝绳过粗,将会使轮槽边缘受挤而损坏,钢丝绳也会受到损伤。(4)在受力方向变化较大的作业和高空作业中,不宜使用吊钩式滑轮,应选用吊环式滑轮,以免脱钩。使用吊钩式滑轮,必须采用铁线封口。(5)滑轮在使用过程中应定期润滑,减少轴承磨损和锈蚀。
109、问答题 背画电压互感器、电流互感器测量极性接线图。
点击查看答案
本题答案:
试题答案
110、问答题 SF6断路器从外形结构上分哪两类?各有何特点?
点击查看答案
本题答案:SF6断路器从外形结构上分为瓷柱式SF6断路器和落地罐式SF
本题解析:试题答案SF6断路器从外形结构上分为瓷柱式SF6断路器和落地罐式SF6断路器两种。瓷柱式SF6断路器在结构上和户外少油断路器相似,有系列性好、单断口电压高、开断电流大、运行可靠性高和检修维护工作量小等优点;但不能内附电流互感器,且抗地震能力相对较差。落地罐式SF6断路器具有瓷柱式SF6断路器的所有优点,而且可以内附电流互感器,产品整体高度低,抗震能力相对提高;但造价比较昂贵。
111、问答题 绘出双母线接线图。
点击查看答案
本题答案:
试题答案
112、问答题 LW6型断路器液压机构现场操作的注意事项
点击查看答案
本题答案:LW6断路器就地近控操作时合闸命令保持时间不得小于80ms;
本题解析:试题答案LW6断路器就地近控操作时合闸命令保持时间不得小于80ms;分闸命令保持时间不得小于50ms;分合闸频率不宜过快,否则将导致控制阀喷油;油泵的启动次数为2次/日,每次不超过3分钟;当油泵电机运转超过3分钟时,时间继电器断开,切除电机电源,若还不能达到额定压力,应仔细检查机构是否存在异常。
113、问答题 聚氯乙烯绝缘软铜线的规格n=7股,每股线径D=1.7mm,长度L=200m,求电阻是多少(铜的电阻率ρ=1.84×10-8Ω?m)?
点击查看答案
本题答案:
试题答案
114、问答题 一台交流接触器在交流电路中,电压U为220V,电流I为5A,功率P为940W,求:(1)电路功率因数是多少?(2)电路中无功功率Q为多少?(3)电阻R和电感L分别是多少?
点击查看答案
本题答案:
试题答案
115、问答题 根据《电业安全工作规程》规定,企业什么人才能担任工作票签发人?
点击查看答案
本题答案:工作票签发人应由分场、工区(所)熟悉人员技术水平、熟悉设备情
本题解析:试题答案工作票签发人应由分场、工区(所)熟悉人员技术水平、熟悉设备情况、熟悉本规程的生产领导人、技术人员或经厂、局主管生产领导批准的人员担任。工作票签发人员名单应书面公布。
116、问答题 在交流电路中为什么用电感元件限流,而不用电阻元件?
点击查看答案
本题答案:由于电感元件在交流电路中,既能起限流的作用,又不像电阻那样要
本题解析:试题答案由于电感元件在交流电路中,既能起限流的作用,又不像电阻那样要消耗能量。所以在交流电路中,常用电感元件限流。
117、问答题 绝缘子发生闪络放电现象的原因是什么?如何处理?
点击查看答案
本题答案:原因是:(1)绝缘子表面和瓷裙内落有污秽,受潮以后耐压强度降
本题解析:试题答案原因是:(1)绝缘子表面和瓷裙内落有污秽,受潮以后耐压强度降低,绝缘子表面形成放电回路,使泄漏电流增大,当达到一定值时,造成表面击穿放电。(2)绝缘子表面落有污秽虽然很小,但由于电力系统中发生某种过电压,在过电压的作用下使绝缘子表面闪络放电。处理方法是:绝缘子发生闪络放电后,绝缘子表面绝缘性能下降很大,应立即更换,并对未闪络放电绝缘子进行清洁处理。
118、问答题 被狗咬伤后,应如何救护?
点击查看答案
本题答案:犬咬伤后应立即用浓肥皂水冲洗伤口,同时用挤压法自上而下将残留
本题解析:试题答案犬咬伤后应立即用浓肥皂水冲洗伤口,同时用挤压法自上而下将残留伤口内唾液挤出,然后再用碘酒涂搽伤口。①少量出血时,不要急于止血,也不要包扎或缝合伤口。②尽量设法查明该犬是否为“疯狗”,对医院制订治疗计划有较大帮助。
119、问答题 一额定电流In为20A的电炉箱接在电压U为220V的电源上,求此电炉的功率P是多少?若用10h,电炉所消耗电能为多少?
点击查看答案
本题答案:
试题答案
120、问答题 蓄电池组的电源电压E为6V,将R1=2.9Ω电阻接在它两端,测出电流I为2A,求它的内阻Ri为多大?
点击查看答案
本题答案:
试题答案
121、问答题 试述SF6断路器的压气式灭弧原理。
点击查看答案
本题答案:采用压气式灭弧室的SF6断路器内的SF6气体只有一种压
本题解析:试题答案采用压气式灭弧室的SF6断路器内的SF6气体只有一种压力。灭弧所需压力是在分闸过程中由动触杆带动压气缸,将气缸内的SF6气体压缩而建立的;当动触杆运动至喷口打开时,气缸内的高压力SF6气体经喷口吹拂电弧,使之熄灭。吹弧能量来源于操动机构。
122、问答题 《电业安全工作规程》规定,在接受和发布操作任务时,必须做到什么?
点击查看答案
本题答案:在接受和发布操作任务时,必须互报单位、姓名,使用规范术语、双
本题解析:试题答案在接受和发布操作任务时,必须互报单位、姓名,使用规范术语、双重命名,严格执行复诵制,双方录音。
123、问答题 发电机的端电压为115V,经过电阻为0.05Ω的导线输电给电动机,如果电动机电流为100A,求电动机输入端的电压?
点击查看答案
本题答案:
试题答案
124、问答题 试述人工搅拌混凝土的方法?
点击查看答案
本题答案:人工搅拌的方法是:(1)先将砂子倒在搅板的一侧,再把水
本题解析:试题答案人工搅拌的方法是:(1)先将砂子倒在搅板的一侧,再把水泥倒在砂子上翻拌2~3次。(2)使砂子和水泥搅拌均匀后再加水,继续搅拌2~3次。(3)拌均匀后即可投入石子,再均匀搅拌数次,直到石子与灰浆全部调匀且稠度适合。
125、问答题 收音机中某线圈的L=0.2mH,当f1=600kHz,f2=860kHz时的感抗分别为XL1和XL2,如果要使其中产生0.01mA的电流,试求在这两种频率下线圈两端应有的电压值是多少?
点击查看答案
本题答案:
试题答案
126、问答题 平板形密封圈有哪些性能,适用于哪些部位?
点击查看答案
本题答案:平板形密封圈的结构最简单,使用最早。它是依靠将轴向压缩产生径
本题解析:试题答案平板形密封圈的结构最简单,使用最早。它是依靠将轴向压缩产生径向扩展,利用材质固有弹性形成密封面结构。平板密封圈常用橡胶板制作,其特点是受力面积大,结构简单,加工方便,一般可不设定位槽,适用在瓷套对瓷套、瓷套对金属法兰盘之间作平面静密封,可防止由于受力过于集中而损坏瓷套。其缺点是所需压缩力很大,如压缩力不够,密封性能将较差。另外,材料消耗量大,几乎是O形密封圈的5倍以上。
127、问答题 画出一张悬垂绝缘子串组装图,并指出各种金具的名称。
点击查看答案
本题答案:
试题答案
128、问答题 对违反《电业安全工作规程》者有哪些处理意见?
点击查看答案
本题答案:(1)对违反规程者,应认真分析加强教育,视其情节严肃处理。(
本题解析:试题答案(1)对违反规程者,应认真分析加强教育,视其情节严肃处理。(2)对造成事故者,应按情节轻重,予以行政或刑事处分。
129、问答题 六氟化硫断路器有何优缺点?
点击查看答案
本题答案:(1)优点:①断口耐压高;②允许断路次数多,检修周期长;③断
本题解析:试题答案(1)优点:①断口耐压高;②允许断路次数多,检修周期长;③断路性能好;④体积小、占地少。(2)缺点:①要求加工精度高,密封性能好;②对水分和气体的检测控制要求严格。
130、问答题 简述变压器主绝缘的部位?
点击查看答案
本题答案:变压器主绝缘部位有:①绕组与铁芯之间;②绕组与绕组之间;③绕
本题解析:试题答案变压器主绝缘部位有:①绕组与铁芯之间;②绕组与绕组之间;③绕组与箱壳之间;④引出线的绝缘;⑤绕组中性点的绝缘;⑥分接开关的绝缘;⑦变压器的外部主绝缘。
131、问答题 三相交流电与单相交流电相比有何优点?
点击查看答案
本题答案:优点有以下3点:(1)制造三相发电机、变压器都较制造单相发电
本题解析:试题答案优点有以下3点:(1)制造三相发电机、变压器都较制造单相发电机和变压器省材料,而且构造简单、性能优良。(2)同样材料制造的三相电机,其容量比单相电机大50%。(3)输送同样的电能,三相输电线同单相输电线相比,可节省有色金属25%,且电能损耗较单相输电时少。
132、问答题 SF6气体的临界温度和临界压力是什么含义?
点击查看答案
本题答案:临界温度表示气体可以被液化的最高温度。临界压力表示在临界温度
本题解析:试题答案临界温度表示气体可以被液化的最高温度。临界压力表示在临界温度下出现液化所需要的压力,亦即该温度下的饱和蒸汽压力。
133、问答题 变压器由哪些主要部分构成?
点击查看答案
本题答案:变压器主要由构成闭合磁路的铁芯和套在铁芯上的高低压绕组组成;
本题解析:试题答案变压器主要由构成闭合磁路的铁芯和套在铁芯上的高低压绕组组成;此外还有油箱、油枕、绝缘瓷套管、分接开关、压力释放器、呼吸器、散热器以及变压器油等。
134、问答题 什么叫断路器的“跳跃”?防止“跳跃”的措施是什么?
点击查看答案
本题答案:断路器的“跳跃”是指断路器在手
本题解析:试题答案断路器的“跳跃”是指断路器在手动或自动合闸后,如果控制开关来不及复归,或控制开关触点、自动装置触点卡住,此时如设备或线路发生永久性短路故障,保护动作使断路器自动跳闸,则会出现多次‘跳-合’的现象。防止“跳跃”的措施是采用机械防跳(CD5操动机构利用跳闸过程中辅助触点切换)或电气防跳(在控制回路中加装防跳跃闭锁继电器)。
135、问答题 单支避雷针高度h为30m,距避雷针根部20m处有一个油箱高hx为15m,此油箱是否能被避雷针保
点击查看答案
本题答案:
试题答案
136、问答题 什么是磁场?
点击查看答案
本题答案:在磁极或任何电流回路的周围以及被磁化后的物体内外,都对
本题解析:试题答案在磁极或任何电流回路的周围以及被磁化后的物体内外,都对磁针或运动电荷具有磁力作用,这种有磁力作用的空间称为磁场。它和电场相似,也具有力和能的特性。
137、问答题 GIS中盆式绝缘子的结构和作用
点击查看答案
本题答案:盆式绝缘子由优质环氧树脂浇注而成,导电座浇注在中间,边缘与金
本题解析:试题答案盆式绝缘子由优质环氧树脂浇注而成,导电座浇注在中间,边缘与金属法兰盘浇注在一起,盆式绝缘子爬电距离较短,因此要求其表面绝对不能受到污染,否则将降低其绝缘水平。中间有孔的起到支持导体作用但不分隔气室。中间浇注导电座的可以起到连接导体及分隔气室的作用。
138、问答题 画出两个条形磁铁同性磁极(同N级)相互接近时磁力线的分布图。
点击查看答案
本题答案:
试题答案
139、问答题 高压断路器常见故障有哪些(按发生频率排列大致顺序)?
点击查看答案
本题答案:(1)密封件失效故障;(2)动作失灵故障;(3)绝缘损坏或不
本题解析:试题答案(1)密封件失效故障;(2)动作失灵故障;(3)绝缘损坏或不良;(4)灭弧件触头的故障。
140、问答题 试画出变压器带电滤油示意图,并标出各元件的名称。
点击查看答案
本题答案:
试题答案
141、问答题 引起隔离开关刀片发生弯曲的原因是什么?
点击查看答案
本题答案:引起隔离开关刀片发生弯曲的原因是由于刀片间的电动力方向交替变
本题解析:试题答案引起隔离开关刀片发生弯曲的原因是由于刀片间的电动力方向交替变化或调整部位发生松动,刀片偏离原来位置而强行合闸使刀片变形。处理时,检查接触面中心线应在同一直线上,调整刀片或瓷柱位置,并紧固松动的部件。
142、问答题 在电容C为50μF的电容器上加电压U为220V、频率f为50Hz的交流电,求无功功率Q为多少?
点击查看答案
本题答案:
试题答案
143、问答题 更换事故电流互感器时应考虑哪些?
点击查看答案
本题答案:在更换运行中的电流互感器一组中损坏的一个时,应选择与原来的变
本题解析:试题答案在更换运行中的电流互感器一组中损坏的一个时,应选择与原来的变比相同,极性相同,使用电压等级相符;伏安特性相近,经试验合格的来更换,更换时应停电进行,还应注意保护的定值,仪表的倍率是否合适。
144、问答题 说明型号FYZ220J的各字母或数字的含义?
点击查看答案
本题答案:F-表示阀型避雷器;Y-表示氧化锌;Z-表示电站用。J-表示
本题解析:试题答案F-表示阀型避雷器;Y-表示氧化锌;Z-表示电站用。J-表示中性点直接接地系统;220-表示额定电压为220kV。
145、问答题 某电炉的电阻R为220Ω,接在电压U为220V的电源上,求1h内电炉所放出的热量Q是多少?
点击查看答案
本题答案:
试题答案
146、问答题 什么原因造成液压机构合闸后又分闸?
点击查看答案
本题答案:可能原因如下:(1)分闸阀杆卡滞,动作后不能复位。(2
本题解析:试题答案可能原因如下:(1)分闸阀杆卡滞,动作后不能复位。(2)保持油路漏油,使保持压力建立不起来。(3)合闸阀自保持孔被堵,同时合闸的逆止钢球复位不好。
147、问答题 二次线整体绝缘的摇测项目有哪些?应注意哪些事项?
点击查看答案
本题答案:摇测项目有直流回路对地、电压回路对地、电流回路对地、信
本题解析:试题答案摇测项目有直流回路对地、电压回路对地、电流回路对地、信号回路对地、正极对跳闸回路、各回路之间等,如需测所有回路对地,应将它们用线连起来摇测。注意事项如下:(1)断开本路交直流电源;(2)断开与其他回路的连线;(3)拆开电流回路及电压回路的接地点;(4)摇测完毕应恢复原状。
148、问答题 常用的裸导线有哪几种?
点击查看答案
本题答案:①裸铜绞线(TJ);②裸铝绞线(LJ);③钢芯铝绞线(LGJ
本题解析:试题答案①裸铜绞线(TJ);②裸铝绞线(LJ);③钢芯铝绞线(LGJ,LGJQ,LGJJ);④铝合金绞线(HLJ);⑤钢绞线(GJ)。
149、问答题 半导体导电的特性有哪三种?
点击查看答案
本题答案:①光敏特性;②热敏特性;③掺杂特性。
本题解析:试题答案①光敏特性;②热敏特性;③掺杂特性。
150、问答题 什么是纵吹灭弧方式?
点击查看答案
本题答案:纵吹灭弧方式是指断路器在分闸时,动、静触头分开,高压力的油和
本题解析:试题答案纵吹灭弧方式是指断路器在分闸时,动、静触头分开,高压力的油和气沿垂直方向吹弧,使电弧拉长、冷却而熄灭。
151、问答题 有害气体中毒有何症状?
点击查看答案
本题答案:气体中毒开始时有流泪、眼痛、呛咳、咽部干燥等症状,应引起警惕
本题解析:试题答案气体中毒开始时有流泪、眼痛、呛咳、咽部干燥等症状,应引起警惕。稍重时头痛、气促、胸闷、眩晕。严重时会引起惊厥昏迷。
152、问答题 真空注油处理过程中,注入真空罐内的变压器油体积V为120m3,如果用额定流速v为400l/min的油泵将油打回,最少需要多长时间把油打完?
点击查看答案
本题答案:
试题答案
153、问答题 说明型号SFPSZL6-120000/220的意义?
点击查看答案
本题答案:型号中各符号意义:S-三相;F-油浸风冷;P-强迫油循
本题解析:试题答案型号中各符号意义:S-三相;F-油浸风冷;P-强迫油循环;S-三绕组;L-铝绕组;6-设计序号6;Z-有载调压。该型号表明为三相三绕组,强油循环风冷带有载分接开关的铝线绕组变压器,容量为120000kV•A额定电压220kV。
154、问答题 何谓绝缘材料的8℃规则?
点击查看答案
本题答案:绝缘材料使用的温度超过极限温度时,绝缘材料会迅速劣化,使用寿
本题解析:试题答案绝缘材料使用的温度超过极限温度时,绝缘材料会迅速劣化,使用寿命会大大缩短。如A级绝缘材料极限工作温度为105℃,当超过极限工作温度8℃时,其寿命会缩短一半左右,这就是8℃热劣化规则。
155、问答题 有一功率P为400kW的负载,功率因数为0.8,试求该负载在t=0.25h内所消耗的电能A、视在功率S和无功功率Q各为多少?
点击查看答案
本题答案:
试题答案
156、问答题 什么是三相三线制、三相四线制和三相五线制?
点击查看答案
本题答案:不引出中性线的星形和三角形接法,只有三根相线,称为三相三线制
本题解析:试题答案不引出中性线的星形和三角形接法,只有三根相线,称为三相三线制。引出中性线的星形接法连同三根相线共有四根电源线称为三相四线制。四线制再加单独接地线称三相五线制。
157、问答题 什么是惯性?牛顿第一定律的内容是什么?
点击查看答案
本题答案:任何物体都具有保持原来静止或匀速直线运动状态的能力,称
本题解析:试题答案任何物体都具有保持原来静止或匀速直线运动状态的能力,称物体的惯性。牛顿第一定律也称惯性定律。物体的惯性与物体的质量成正比。
158、问答题 一根铜导线直径是4mm,求此铜线1km和50km长的电阻值?(ρCu=0.0175Ω?mm2/m。)
点击查看答案
本题答案:
试题答案
159、问答题 简述用兆欧表测量绝缘电阻的具体步骤?
点击查看答案
本题答案:(1)将被测设备脱离电源,并进行放电,再把设备清扫干净。(双
本题解析:试题答案(1)将被测设备脱离电源,并进行放电,再把设备清扫干净。(双回线,双母线,当 一路带电时,不得测量另一路的绝缘电阻)。(2)测量前应先对兆欧表做一次开路试验(测量线开路,摇动手柄,指针应指“∞”)和一次短路试验(测量线直接短接一下,摇动手柄,指针应指“0”),两测量线不准相互缠交。(3)在测量时,兆欧表必须放平。以120r/min的恒定速度转动手柄,使表指针逐渐上升,直到出现稳定值后,再读取绝缘电阻值(严禁在有人工作的设备上进行测量)。(4)对于电容量大的设备,在测量完毕后,必须将被测设备进行对地放电(兆欧表没停止转动时及放电设备切勿用手触及)。(5)记录被测设备的温度和当时的天气情况。
160、问答题 有一台电流互感器,变比为600/5,当一次流过300A时,求二次输出电流?
点击查看答案
本题答案:
试题答案
161、问答题 CJ-75型交流接触器线圈,在20℃时,直流电阻值R1为105Ω,通电后温度升高,此时测量线圈的直流电阻R2为113.3Ω,若20℃时,线圈的电阻温度系数为0.00395,求线圈的温升Δt是多少?
点击查看答案
本题答案:
试题答案
162、问答题 使用滑车时应注意哪些事项?
点击查看答案
本题答案:(1)严格遵守滑车出厂安全起重量的要求,其轮直径的大小、轮槽
本题解析:试题答案(1)严格遵守滑车出厂安全起重量的要求,其轮直径的大小、轮槽的宽窄应与配合使用的钢丝绳的直径大小相配合。(2)检查各部分是否良好,如有缺陷不能使用。(3)在受力方向变化较大的地方和高空作业中,不宜使用吊钩式滑车,应选用吊环式滑车以防脱钩。(4)使用期间,滑车的轮和轴要定期加油润滑,减少摩擦和防止生锈。(5)使用中还应注意绳子的牵引力方向和导向轮的位置是否正确,防止绳子脱槽卡死而发生事故。
163、问答题 起重挂索的安全作业要领是什么?
点击查看答案
本题答案:安全作业的具体要领是:(1)往吊钩上挂索时,吊索不得有扭花,
本题解析:试题答案安全作业的具体要领是:(1)往吊钩上挂索时,吊索不得有扭花,不能相压,以防压住吊索绳扣,结头超过负载能力被拔出而造成事故。(2)挂索时注意索头顺序,便于作业后摘索。(3)吊索在吊伸的过程中,不得用手扶吊索,以免被拉紧的吊索伤手。(4)挂索前应使起重机吊钩对准吊物中心位置,不得斜吊拖拉。(5)起吊时,作业人员不能站在死角,尤其是在车内时,更要留有退让余地。
164、问答题 绘制变压器一个储油罐滤油循环系统图,或二个储油罐的单方向滤油系统图(只选一种绘制),并标明每一个单元名称。
点击查看答案
本题答案:
试题答案
165、问答题 一台额定电流为52.5A的三相变压器,空载试验时测得的空载电流三相分别为2.44,2.44,2.75A,计算变压器的空载电流百分数。
点击查看答案
本题答案:
试题答案
166、问答题 一台变压器的油箱长l为1.5m,高h为1.5m,宽b为0.8m,油箱内已放置体积V2为1m3的实体变压器器身,求油箱内最多能注多少变压器油(变压器油的比重γ为0.9t/m3)?
点击查看答案
本题答案:
试题答案
167、问答题 启动电动机时应注意什么?
点击查看答案
本题答案:(1)如果接通电源开关,电动机转子不动,应立即拉闸,查
本题解析:试题答案(1)如果接通电源开关,电动机转子不动,应立即拉闸,查明原因并消除故障后,才可允许重新启动。
(2)接通电源开关后,电动机发出异常响声,应立即拉闸,检查电动机的传动装置及熔断器等。
(3)接通电源开关后,应监视电动机的启动时间和电流表的变化。如启动时间过长或电流表电流迟迟不返回,应立即拉闸,进行检查。
(4)在正常情况下,厂用电动机允许在冷态下启动两次,每次间隔时间不得少于5分钟;在热态下启动一次。只有在处理事故时,才可以多启动一次。
(5)启动时发现电动机冒火或启动后振动过大,应立即拉闸,停机检查。
(6)如果启动后发现方向反了,应立即拉闸,停电,调换三相电源任意两相后再重新启动。
168、问答题 在220V电源上并联两只灯泡,功率分别是100W和400W,问这两只灯泡从电源取用的总电流是多少?
点击查看答案
本题答案:
试题答案
169、问答题 对操作机构的自由脱扣功能有何技术要求?
点击查看答案
本题答案:要求是:当断路器在合闸过程中,机构又接到分闸命令时,不管合闸
本题解析:试题答案要求是:当断路器在合闸过程中,机构又接到分闸命令时,不管合闸过程是否终了,应立即分闸,保证及时切断故障。
170、问答题 风扇电机380V、500W、,求电流是多少?
点击查看答案
本题答案:
试题答案
171、问答题 工作人员进入SF6配电装室,必须先通风多少时间?并用什么测量SF6气体含量?
点击查看答案
本题答案:15分钟检漏仪
本题解析:试题答案15分钟检漏仪
172、问答题 变电所铝母线的截面尺寸S为50mm×5mm,电阻率ρ=2.95×10-8Ωm,总长度L为50m,计算铝母线电阻R是多少?
点击查看答案
本题答案:
试题答案
173、问答题 接地线应采用什么导线?其截面应符合短路电流的要求,但不得小于多少平方毫米?
点击查看答案
本题答案:应用多股软铜线25平方毫米
本题解析:试题答案应用多股软铜线25平方毫米
174、问答题 瓦斯保护是怎样对变压器起保护作用的?
点击查看答案
本题答案:(1)变压器内部发生故障时,电弧热量使绝缘油体积膨胀,并大量
本题解析:试题答案(1)变压器内部发生故障时,电弧热量使绝缘油体积膨胀,并大量气化。(2)大量油、气流冲向油枕。(3)流动的油流和气流使气体继电器动作,跳开断路器,实现对变压器的保护。
175、问答题 取变压器及注油设备的油样时应注意什么?
点击查看答案
本题答案:(1)取油样应在空气干燥的晴天进行。(2)装油样的容器,应刷
本题解析:试题答案(1)取油样应在空气干燥的晴天进行。(2)装油样的容器,应刷洗干净,并经干燥处理后方可使用。(3)油样应从注油设备底部的放油阀来取,擦净油阀,放掉污油,待油干净后取油样,取完油样后尽快将容器封好,严禁杂物混入容器。(4)取完油样后,应将油阀关好以防漏油。
176、问答题 直流接地点查找步骤是什么?
点击查看答案
本题答案:发现直流接地在分析、判断基础上,用拉路查找分段处理的方
本题解析:试题答案发现直流接地在分析、判断基础上,用拉路查找分段处理的方法,以先信号和照明部分后操作部分,先室外后室内部分为原则,依次:(1)区分是控制系统还是信号系统接地。(2)信号和照明回路。(3)控制和保护回路。(4)取熔断器的顺序,正极接地时,先断(+),后断(—),恢复熔断器时,先投(—),后投(+)。
177、问答题 简述圆锥销的装配工艺。
点击查看答案
本题答案:(1)圆锥销装配时,两连接销孔座一起钻铰。(2)钻孔时按小直
本题解析:试题答案(1)圆锥销装配时,两连接销孔座一起钻铰。(2)钻孔时按小直径的圆锥销选用钻头。(3)铰孔时用试装法控制孔径,以圆锥自由地插入全长的80%~85%为宜。然后用锤轻轻击入孔中。(4)销子的大端略突出零件外表面,突出值约为倒棱值。(5)为了保证圆锥销接触精度,圆锥表面与销孔接触面用涂色法进行检查,应大于70%。
178、问答题 断路器常用的缓冲装置有哪几种?
点击查看答案
本题答案:高压断路器一般要装设合闸缓冲器与分闸缓冲器,作用是吸收合闸或
本题解析:试题答案高压断路器一般要装设合闸缓冲器与分闸缓冲器,作用是吸收合闸或分闸接近终了时的剩余动能,使可动部分从高速运动状态很快地变为静止状态。常用缓冲器类型有:①油缓冲器,将动能转变成热能吸收掉;②弹簧缓冲器,将动能转变成势能储存起来,必要时再释放出来;③橡胶垫缓冲器,是将动能转变成热能吸收掉,结构最简单;④油或气的同轴缓冲装置,在合分闸的后期,使某一运动部件在充有压力油或气的狭小空间内运动,从而达到阻尼的目的。
179、问答题 高压断路器操动机构的型号各符号代表什么意思?
点击查看答案
本题答案:(1)第一位字母为代表操动机构。(2)第二位字母代表机构的类
本题解析:试题答案(1)第一位字母为代表操动机构。(2)第二位字母代表机构的类型,如S-手动;D-电磁;J-电动机;T-弹簧;Q-气动;Z-重锤;Y-液压。(3)第三位数字表示设计序列。(4)第四位数字代表最大合闸力矩以及其他特征标志。
180、问答题 《电业安全工作规程》规定,低压回路停电的安全措施有哪些?
点击查看答案
本题答案:①将检修设备的各方面电源断开取下熔断器,在刀闸操作把手上挂“
本题解析:试题答案①将检修设备的各方面电源断开取下熔断器,在刀闸操作把手上挂“禁止合闸,有人工作!”的标示牌;②工作前必须验电;③根据需要采取其他安全措施。
181、问答题 低压开关灭弧罩受潮有何危害?为什么?
点击查看答案
本题答案:受潮会使低压开关绝缘性能降低,使触头严重烧损,损坏整个开关,
本题解析:试题答案受潮会使低压开关绝缘性能降低,使触头严重烧损,损坏整个开关,以致报废不能使用。因为灭弧罩是用来熄灭电弧的重要部件,灭火罩一般用石棉水泥、耐弧塑料、陶土或玻璃丝布板等材料制成,这些材料制成的灭弧罩如果受潮严重,不但影响绝缘性能,而且使灭弧作用大大降低。在电弧的高温作用下,灭弧罩里的水分被汽化,造成灭弧罩上部的压力增大,电弧不容易进入灭弧罩,燃烧时间加长,使触头严重烧坏,以致整个开关报废不能再用。
182、问答题 绘制一个M20mm的螺母加工图。
点击查看答案
本题答案:
试题答案
183、问答题 有两个灯泡,一个为220V、100W,另一个为220V、40W。若把两个灯泡串联接于220V的电源上,试问哪个灯亮些?
点击查看答案
本题答案:
试题答案
184、问答题 某一晶体管收音机,电源电压U为6V,开机后总电流I为60mA,试计算收音机的等效电阻和耗用功率。
点击查看答案
本题答案:
试题答案
185、问答题 运行中的变压器,常见的铁芯故障有哪些
点击查看答案
本题答案:铁心可能出现的故障有:铁心及铁心零部件接地不良或没有接
本题解析:试题答案铁心可能出现的故障有:铁心及铁心零部件接地不良或没有接地,引起断续放电;铁心有二点或者多点接地,构成的短路回路引起铁心过热或接触不良处发生放电;部分铁心片短路,是涡流损耗增加而引起铁心局部过热等。
186、问答题 从SF6气体钢瓶引出气体时,必须使用什么降压?当瓶内压力降到多少时,即停止引出气体,并关闭气瓶阀门,戴上瓶帽,防止气体泄漏。
点击查看答案
本题答案:减压阀9.80104Pa(1个大气压)
本题解析:试题答案减压阀9.80104Pa(1个大气压)
187、问答题 在设备的起吊中,常常利用滑轮来提升重物,现提升重物的质量m=100kg,绳索材料的许用应力是[σ]=9.8×106Pa,求这根绳索的直径d应是多少?
点击查看答案
本题答案:
试题答案
188、问答题 在电气设备上工作,应填用工作票或按命令执行,其方式有多少种?
点击查看答案
本题答案:①填用第一种工作票;②填用第二种工作票;③口头或电话命令。(
本题解析:试题答案①填用第一种工作票;②填用第二种工作票;③口头或电话命令。(南方电网公司《电气工作票技术规范》(发电、变电部分)规定:(此部分仅作参考,不为参考答案)在电气设备上及电气场所工作,应填用工作票或按口头或电话命令执行,其方式有下列四种:①变电站第一种工作票;②变电站第二种工作票;③变电站第三种工作票;④口头或电话命令。)
189、问答题 被毒蛇咬伤后,应如何急救?
点击查看答案
本题答案:毒蛇咬伤后,不要惊慌、奔跑、饮酒,以免加速蛇毒在人体内扩散。
本题解析:试题答案毒蛇咬伤后,不要惊慌、奔跑、饮酒,以免加速蛇毒在人体内扩散。①咬伤大多在四肢,应迅速从伤口上端向下方反复挤出毒液,然后在伤口上方(近心端)用布带扎紧,将伤肢固定,避免活动,以减少毒液的吸收。②有蛇药时可先服用,再送往医院救治。
190、问答题 矩形母线平弯、立弯、扭弯各90°时,弯转部分长度有何规定?
点击查看答案
本题答案:(1)母线平弯90°时:母线规格在50mm05mm以下者,弯
本题解析:试题答案(1)母线平弯90°时:母线规格在50mm05mm以下者,弯曲半径R不得小于2.5h(h为母线厚度);母线规格在60mm05mm以上者,弯曲半径不得小于1.5h。(2)母线立弯90°时:母线在50mm05mm以下者,弯曲半径R不得小于1.5b(b为母线宽度);母线在60mm05mm以上者,弯曲半径R不得小于2b。(3)母线扭转(扭腰)90°时:扭转部分长度应大于母线宽度(b)的2.5倍。
191、问答题 捆绑操作的要点是什么?
点击查看答案
本题答案:主要有以下几点:(1)捆绑物件或设备前,应根据物体或设备的形
本题解析:试题答案主要有以下几点:(1)捆绑物件或设备前,应根据物体或设备的形状及其重心的位置确定适当的绑扎点。一般情况下,构件或设备都设有专供起吊的吊环。未开箱的货件常标明吊点位置,搬运时,应该利用吊环和按照指定吊点起吊。起吊竖直线细长的物件时,应在重心两侧的对称位置捆绑牢固,起吊前应先试吊,如发现倾斜,应立即将物件落下,重新捆绑后再起吊。(2)捆绑整物还必须考虑起吊时吊索与水平面要有一定的角度,一般以60°为宜。角度过小,吊索所受的力过大;角度过大,则需很长的吊索,使用也不方便;同时,还要考虑吊索拆除是否方便,重物就位后,会不会把吊索压住或压坏。(3)捆绑有棱角的物体时,应垫木板、旧轮胎、麻袋等物,以免使物体棱角和钢丝绳受到损伤。
192、问答题 CY型液压机构的油泵打压时间过长(超过3min)是什么原因?
点击查看答案
本题答案:(1)油泵的吸油阀不起作用或作用不大,排油阀密封不严。(2)
本题解析:试题答案(1)油泵的吸油阀不起作用或作用不大,排油阀密封不严。(2)油泵的两柱塞其中一个被卡住。(3)柱塞与柱座间隙太大。(4)吸油阀和排油阀球装错。(5)吸油阀座孔浅。
193、问答题 试述钢丝绳安全使用和保管方法。
点击查看答案
本题答案:(1)选用钢丝绳,应根据规范进行核算,不准超负荷使用。(2)
本题解析:试题答案(1)选用钢丝绳,应根据规范进行核算,不准超负荷使用。(2)要正确地开卷,不准许有金钩出现。(3)使用前必须对钢丝绳详细检查。(4)使用中使之逐渐受力,不能受冲击力或使其剧烈振动,防止张力突然增大。(5)使用后的钢丝绳应盘绕好,存放在干燥的木板上并定期检查、上油和保养。(6)钢丝绳穿用的滑车,其轮缘不应有破裂现象,轮槽应大于钢丝绳的直径。(7)钢丝绳在机械运动中不要与其他物件摩擦。(8)钢丝绳禁止与带电的金属接触,以免引起触电事故或电弧烧坏钢丝绳。如在带电地区工作时,应采取绝缘措施,在接近高温的物体上使用,则必须采取隔温措施。
194、问答题 从SF6气体钢瓶引出气体时应注意什么?
点击查看答案
本题答案:(1)气体引出时,为防止输气管受压太猛引起爆漏和对设备产生冲
本题解析:试题答案(1)气体引出时,为防止输气管受压太猛引起爆漏和对设备产生冲击,或者管头连接处不够紧密时泄漏,必须将钢瓶内的高压力气体通过减压阀缓冲控制后引出,这样也便于准确掌握充入量及充气速度。(2)钢瓶内压力降至9.80104Pa时即应停止充气,关闭气瓶阀门,戴上瓶帽,此时仍然要防止气瓶渗漏或负压空气渗入瓶内。
195、问答题 互感器哪些部位应妥善接地?
点击查看答案
本题答案:(1)互感器外壳;(2)分级绝缘的电压互感器的一次绕组的接地
本题解析:试题答案(1)互感器外壳;(2)分级绝缘的电压互感器的一次绕组的接地引出端子;(3)电容型绝缘的电流互感器的一次绕组包绕的末屏引出端子及铁芯引出接地端子;(4)暂不使用的二次绕组。
196、问答题 什么叫电阻温度系数?导体电阻与温度有什么关系?
点击查看答案
本题答案:
试题答案
197、问答题 绘制10kV在室内用螺栓直接固定铝排母线的安装图,并说出各元件名称。
点击查看答案
本题答案:
试题答案
198、问答题 起吊一台变压器的大罩,其质量Q为11t,钢丝绳扣与吊钩垂线成30°,四点起吊,求钢丝绳受多大的力?
点击查看答案
本题答案:
试题答案
199、问答题 画出单相半波整流电路图。
点击查看答案
本题答案:
试题答案
200、问答题 电气设备中的铜铝接头,为什么不直接连接?
点击查看答案
本题答案:如把铜和铝用简单的机械方法连接在一起,特别是在潮湿并含盐分的
本题解析:试题答案如把铜和铝用简单的机械方法连接在一起,特别是在潮湿并含盐分的环境中(空气中总含有一定水分和少量的可溶性无机盐类),铜、铝这对接头就相当于浸泡在电解液内的一对电极,便会形成电位差(相当于1.68V原电池)。在原电池作用下,铝会很快地丧失电子而被腐蚀掉,从而使电气接头慢慢松弛,造成接触电阻增大。当流过电流时,接头发热,温度升高还会引起铝本身的塑性变形,更使接头部分的接触电阻增大。如此恶性循环,直到接头烧毁为止。因此,电气设备的铜、铝接头应采用经闪光焊接在一起的“铜铝过渡接头”后再分别连接。
题库试看结束后
微信扫下方二维码即可打包下载完整版《★变电检修工考试》题库
手机用户可保存上方二维码到手机中,在微信扫一扫中右上角选择“从相册选取二维码”即可。
题库试看结束后微信扫下方二维码即可打包下载完整版《变电检修工考试:变电检修高级工》题库,分栏、分答案解析排版、小字体方便打印背记!经广大会员朋友实战检验,此方法考试通过率大大提高!绝对是您考试过关的不二利器!
手机用户可保存上方二维码到手机中,在微信扫一扫中右上角选择“从相册选取二维码”即可。
微信搜索关注"91考试网"公众号,领30元,获取公务员事业编教师考试资料40G