手机用户可
保存上方二维码到手机中,在
微信扫一扫中右上角选择“从
相册选取二维码”即可。
1、问答题 双进双出球磨机的特点有哪些?
点击查看答案
本题答案:所谓双进双出球磨机是在普通球磨机的基础上发展而来的。它
本题解析:试题答案所谓双进双出球磨机是在普通球磨机的基础上发展而来的。它同时有两个原煤入口和两个原煤出口。其特点是:
(1)灵活性高,可靠性好;
(2)维护简便,维护费用低;
(3)出力稳定,能够长期保持设计出力和煤粉细度;
(4)煤种适应性强;
(5)大的罐体使其具有储粉能力强的特点;
(6)负荷反应能力迅速,可用于直吹式制粉系统;
(7)对原煤杂物不敏感,无需定期排渣(石子煤);
(8)能保持一定的风粉比例。
2、问答题 煤粉达到迅速而又完全燃烧必须具备哪些条件?
点击查看答案
本题答案:(1)要供给适当的空气量。
(2)维持足够高
本题解析:试题答案(1)要供给适当的空气量。
(2)维持足够高的炉膛温度。
(3)燃料与空气能良好混合。
(4)有足够的燃烧时间。
(5)维持合格的煤粉细度。
(6)维持较高的空气温度。
3、问答题 为什么点火时水位应在水位计最低处?
点击查看答案
本题答案:锅炉点火后,炉水温度逐渐升高,体积逐渐膨胀,水位逐渐升
本题解析:试题答案锅炉点火后,炉水温度逐渐升高,体积逐渐膨胀,水位逐渐升高。当水冷壁开始产生蒸汽时,蒸汽所占的体积较大,将炉水排挤到汽包,使水位进一步升高。从锅炉点火起在较长的一段时间内,即使已开始排汽,锅炉仍不需要补水就是这个道理。
如果点火时水位不在最低可见水位,那么随着炉水温度的升高和开始产生的蒸汽,汽包的水位必然上升到必须开启事故放水门的地步。这样不但造成了除盐水的损失,而且还造成了热量的浪费。
4、判断题 打焦时,应打开检查孔正对观察冷灰斗内情况。
点击查看答案
本题答案:错
本题解析:打焦时,禁止打开检查孔正对观察冷灰斗内情况。
5、填空题 工业分析用来确定煤中的()、()、()和()的含量。
点击查看答案
本题答案:水分;挥发分;固定碳;灰分
本题解析:试题答案水分;挥发分;固定碳;灰分
6、问答题 论述不同设备状态及工艺要求时锅炉的放水操作程序?
点击查看答案
本题答案:锅炉熄火后,保持汽包高水位,当水位低于一定数值时,应启
本题解析:试题答案锅炉熄火后,保持汽包高水位,当水位低于一定数值时,应启动给水泵向锅炉补水至汽包高水位,同时严防汽包满水进入过热器中。
对于需停炉放水检修的锅炉,停炉6小时前各孔门及烟道挡板关闭,禁止通风,停炉8~10小时后可开启空预器风、烟挡板,引风机静叶及进、出口挡板,送风机动叶、送风机出口挡板及二次风分门进行自然通风。需要时开启烟道和燃烧室的人孔、看火孔、打焦门等,增强自然通风,停炉18小时后,汽包上下壁温差小于40℃,根据检修需要可启动引风机快冷(微正压锅炉启动送风机),若汽包上下壁温差大于40℃,应间断启动引风机运行,当锅水温度不超过80℃时,可将锅水放净。
特殊情况下,熄火后8小时,汽包上、下壁温差不大于40℃前提下,可以采用“串水”方式进行加速冷却。
利用余热烘干法防腐时,压力降至0.8MPa,汽包上、下壁温差不大于40℃时,可采取以下方式将炉水放尽。
a首先将炉水向定排排放;
b压力降至0.2MPa,开启上部空气门;
c压力接近于零,放水由定排倒至地沟。
考虑防冻时,全炉放水后,应将仪表管内积水应放净。
7、单项选择题 捞渣机的作用是排出()的灰渣。
A、水冷壁上
B、烟道
C、冷灰斗
D、灰沟
点击查看答案
本题答案:C
本题解析:暂无解析
8、单项选择题 锅炉水压试验合格的标准是:停止给水泵后,汽包压力每分钟下降不大于0.1MPa,再热器压力每分钟下降不大于()MPa。
A、0.20
B、0.05
C、0.40
点击查看答案
本题答案:B
本题解析:暂无解析
9、问答题 送风机启动的注意事项有哪些?
点击查看答案
本题答案:1)液压油系统已启动循环至少5分钟,油系统各参数均正常
本题解析:试题答案1)液压油系统已启动循环至少5分钟,油系统各参数均正常,液压油压不得低于2.5Mpa;
2)二次风门,各燃烧器调风门及旋流叶片已调整至正确位置?
3)至少一台吸风机投入运行,否则不应向炉内送风?
4)送风机启动时,动叶必须在关闭位置?
5)送风机启动前油站冷却水应接通,其轴承温度最高不大于90℃
6)送风机启动至全速后,应立即开启其出口门
10、问答题 如何进行紧急停炉的快速冷却?
点击查看答案
本题答案:锅炉紧急停炉后需快速冷却时,采用的方法一是加强通风,即
本题解析:试题答案锅炉紧急停炉后需快速冷却时,采用的方法一是加强通风,即在停炉一段时间后,启动引风机、送风机对炉膛进行通风冷却。快速冷却的另一个方法是加强换水,增加锅炉的上放水次数。两种方法可配合使用,但只能在紧急情况下锅炉抢修时使用,但要做好防范设备损坏的安全防范措施。
11、问答题 为什么燃烧器四角布置的锅炉应对角投用给粉机?
点击查看答案
本题答案:对于四角布置燃烧器的锅炉,对角投用火嘴,可维持稳定的炉
本题解析:试题答案对于四角布置燃烧器的锅炉,对角投用火嘴,可维持稳定的炉内空气动力特性及较好的火焰充满程度,使燃烧稳定,避免火焰偏斜,可有效地提高锅炉的燃烧效率。
12、问答题 制粉系统为什么要装防爆门?
点击查看答案
本题答案:制粉系统的防爆门通常是用金属薄膜按一定要求制成,其承压
本题解析:试题答案制粉系统的防爆门通常是用金属薄膜按一定要求制成,其承压强度很小。当制粉系统发生爆炸时,它首先破裂使气体排出降压防止管道、设备爆破损坏。
13、问答题 燃煤灰分对煤粉气流着火的影响?
点击查看答案
本题答案:由于煤粉中的灰分阻碍挥发分的析出和氧气向炭粒表面的扩散
本题解析:试题答案由于煤粉中的灰分阻碍挥发分的析出和氧气向炭粒表面的扩散,因而灰分含量越大,煤粉的燃烧速度越低。导致燃烧器出口区域的烟气温度降低,煤粉着火推迟,燃烧的稳定性变差。
14、填空题 制粉系统内的380V电机设备有六台()及各磨煤机的()。
点击查看答案
本题答案:给煤机、强制油泵
本题解析:试题答案给煤机、强制油泵
15、问答题 什么是短期超温爆管?
点击查看答案
本题答案:受热面管子在运行过程中,由于冷却条件恶化,管壁温度在短
本题解析:试题答案受热面管子在运行过程中,由于冷却条件恶化,管壁温度在短时间内突然上升,使钢材的抗拉强度急剧下降。在介质压力作用下,温度最高的向火侧,首先发生塑性变形,管径胀粗,管壁胀薄,随后发生剪切断裂而爆破。这种爆管称短时超温爆管,,也称短时过热爆管,或者称为加速蠕变损坏。
16、问答题 直流式燃烧器为什么要采用四角布置的方式?
点击查看答案
本题答案:由于直流燃烧器单个喷口喷出的气流扩散角较小,速度衰减慢
本题解析:试题答案由于直流燃烧器单个喷口喷出的气流扩散角较小,速度衰减慢,射程较远。而高温烟气只能在气流周围混入,使气流周界的煤粉首先着火,然后逐渐向气流中心扩展,所以着火较迟,火焰行程较长,着火条件不理想。
采用四角布置时,四股气流在炉膛中心形成一直径600~800mm左右的假想切圆,这种切圆燃烧方式能使相邻燃烧器喷出的气流相互引燃,起到帮助气流点火的作用。同时气流喷入炉膛,产生强烈旋转,在离心力的作用下使气流向四周扩展,炉膛中心形成负压,使高温烟气由上向下回流到气流根部,进一步改善气流着火条件。由于气流在炉膛中心强烈旋转,煤粉与空气混合强烈,加速了燃烧,形成了炉膛中心的高温火球,而且由于气流的旋转上升延长了煤粉在炉内的燃尽时间,改善了炉内气流的充满程度。
17、名词解释 锅炉净效率
点击查看答案
本题答案:锅炉有效利用热量减去自用能量,占输入热量的百分数。
本题解析:试题答案锅炉有效利用热量减去自用能量,占输入热量的百分数。
18、填空题 煤粉在炉内的燃烧过程可分为(),()和()。
点击查看答案
本题答案:着火前准备阶段、燃烧阶段、燃尽阶段
本题解析:试题答案着火前准备阶段、燃烧阶段、燃尽阶段
19、填空题 表示灰渣熔融特性的三个温度分别叫()、()和()。
点击查看答案
本题答案:变形温度t1、软化温度t2、融化温度t3
本题解析:试题答案变形温度t1、软化温度t2、融化温度t3
20、问答题 锅炉主要的热损失有哪几种?哪种热损失最大?
点击查看答案
本题答案:主要有:排烟热损失、化学未完全燃烧热损失、机械未完全热
本题解析:试题答案主要有:排烟热损失、化学未完全燃烧热损失、机械未完全热损失、散热损失、灰渣物理热损失,其中排烟热损失最大。
21、单项选择题 机组运行中,主蒸汽平均压力不超过额定压力的()。
A、105%
B、110%
C、115%
点击查看答案
本题答案:A
本题解析:暂无解析
22、问答题 锅炉停炉保养方法有哪几种?
点击查看答案
本题答案:一、湿保护法。(1)联氨法;(2)氨液法;(3)保持给
本题解析:试题答案一、湿保护法。(1)联氨法;(2)氨液法;(3)保持给水压力法;(4)保持蒸汽压力法;(5)碱液法;(6)磷酸。二、干燥保护法:(1)烘干法;(2)干燥剂法;(3)充气法
23、问答题 真空皮带过滤机滤出的石膏品质变差,可能是什么原因?
点击查看答案
本题答案:(1)石膏浆液品质变差。(2)进给浆料不足。(3)真空
本题解析:试题答案(1)石膏浆液品质变差。(2)进给浆料不足。(3)真空密封水量不足。(4)皮带机轨迹偏移。(5)真空泵故障。(6)真空管线系统泄露。(7)FGD进口烟气含尘量偏高。(8)抗磨损带有磨损。(9)皮带机带速异常。
24、填空题 蒸汽推动投入前应充分进行推动联箱及管道(),防止投入时管道发生(),投坏蒸汽推动管道。
点击查看答案
本题答案:暖管、震动
本题解析:试题答案暖管、震动
25、问答题 多功能直流煤粉燃烧器的特点如何?
点击查看答案
本题答案:由于多功能直流煤粉燃烧器的特殊结构使煤粉气流射入燃烧室
本题解析:试题答案由于多功能直流煤粉燃烧器的特殊结构使煤粉气流射入燃烧室后形成特殊的束腰形射流,这是一般的直流煤粉燃烧器所不具有的。由于稳焰器和火嘴壳体的作用,煤粉气流逐渐向外扩展,并在喷口出口形成束腰,使射流的束腰部两侧外缘形成局部高浓度煤粉区,而在射流中心形成稳定的回流区,使煤粉气流处于燃烧室内高温烟气的加热之中。从而使该区形成了高煤粉浓度、高温烟气加热、高氧浓度的“三高区”,成为稳定的着火源,保证了煤粉的迅速着火和稳定燃烧。
其主要功能特点是稳定着火和燃烧,节约助燃油;扩大锅炉负荷调节范围,提高对煤质多变的适应能力;降低烟气中NOx的含量,减轻了环境污染。而且结构简单,操作方便,使用寿命长。
26、单项选择题 在煤粉锅炉各项热损失中,()的热损失所占比例较大。
A、灰渣物理热损失;
B、散热损失;
C、排烟热损失;
D、固体未完全燃烧热损失。
点击查看答案
本题答案:C
本题解析:暂无解析
27、问答题 发生哪些故障时,必须停运脱硫系统?
点击查看答案
本题答案:(1)所有吸收塔循环泵都无法投入运行。(2)脱硫系统入
本题解析:试题答案(1)所有吸收塔循环泵都无法投入运行。(2)脱硫系统入口烟温超过了允许的最高值。(3)在正常运行时,出现FGD入口和出口烟气挡板关闭的情况。(4)增压风机因故障无法运行。(5)烟气再热器因故障无法运行,或出口烟气温度过低。(6)系统入口烟气含尘量超标。(7)半数以上吸收塔搅拌器无法投入运行。(8)锅炉MFT或大量投油燃烧。
28、单项选择题 锅炉负荷低于某一限度长时间运行,对水循环()。
A.不安全
B.安全
C.没影响
点击查看答案
本题答案:A
本题解析:暂无解析
29、单项选择题 水冷壁的传热方式主要是()。
A、导热
B、对流
C、辐射
点击查看答案
本题答案:C
本题解析:暂无解析
30、问答题 锅炉满水后如何处理?
点击查看答案
本题答案:1)水位超过+120mm时,校对水位计,将自动改为手动
本题解析:试题答案1)水位超过+120mm时,校对水位计,将自动改为手动减少给水量
2)水位超过+160mm时,开启事故放水门,继续减少给水量?
3)经放水后,水位无明显下降,且水位上升较快时,联系汽机停一台给水泵
4)严密监视汽温,关小或关闭减温器进水门,必要时开启加热器疏水
5)水位超过+300mm时,立即手动MFT紧急停炉,停炉后加强放水,并注意水位变化情况?
6)水位正常后,停止放水,汇报值长,查明故障原因,消除后重新点火
31、问答题 影响对流放热的因素有哪些?
点击查看答案
本题答案:(1)流体流动方式。强制对流使流体的流速高,放热好。自
本题解析:试题答案(1)流体流动方式。强制对流使流体的流速高,放热好。自然对流流速低,当然放热不好;
(2)流体有无相态变化。对同一种流体有相变时的对流放热比无相变时来得强烈;
(3)流体的流动状态。对同一种流体,紊流时的放热系数比层流时高;
(4)几何因素。流体所能触及的固体表面的几何形状、大小及流体与固体表面间相对位置;
(5)流体的物理性质。如:比重、比热、动力粘性系数、导热系数、汽化潜热等。
32、填空题 锅炉水冷壁结渣产生腐蚀的两种类型是()和()。
点击查看答案
本题答案:硫酸盐型;硫化物型
本题解析:试题答案硫酸盐型;硫化物型
33、问答题 为什么给水高压加热器停运后要限制负荷运行?
点击查看答案
本题答案:汽轮机高压加热器停运后,锅炉的给水温度将比设计值低。给
本题解析:试题答案汽轮机高压加热器停运后,锅炉的给水温度将比设计值低。给水温度降低后,从给水变为饱和蒸汽所需的热量增加很多,如要维持蒸发量,必须增加燃料消耗量。
这样不仅使整个炉膛温度提高,炉膛出口烟温升高,且流过过热器和再热器的烟气数量和流速增加,此时若机组带额定负荷,锅炉热负荷处于超负荷工况运行,其结果将造成汽温上升。管壁超温;受热面磨损加剧,损坏设备。所以规定给水高压加热器未投用时,电负荷不得超过额定负荷的90%。
34、问答题 水压试验条件和试验准备工作有哪些?
点击查看答案
本题答案:1)锅炉受热面检修工作结束,检修人员已撤离,有碍锅炉膨
本题解析:试题答案1)锅炉受热面检修工作结束,检修人员已撤离,有碍锅炉膨胀的脚手架,支撑等均已拆除,受热面及系统阀门的检修工作票已办理终结手续。
2)环境温度达5℃以上。?
3)水压试验范围内各管系,阀门(包括现场试验措施规定的临时管阀)均已装妥待用,试验期间需检查的各有关部位的检查准备工作做妥。?
4)化学已准备足量经处理合格的除盐水,并做好处理排放废水的有关准备,主要水质要求如下:
联氨:200PPm;PH值:10。?
5)水压试验范围内的蒸汽侧的弹簧吊架在试验前用销钉固定好。?
6)进行水压试验前,对汽包及过热器出口安全阀应加水压试验塞或做好安装夹具的准备(禁止用旋紧调整螺丝的方法)过热器出口电动释放阀停用。?
7)汽包就地压力调换成精密压力表,量程为试验压力的1.5—2倍。
8)与试验有关的热工表计校准投运(汽包压力、温度、省煤器出口温度,各受热面金属温度、给水、减温水流量等)。
9)电动给水泵入口滤网清理干净。
10)过热器,再热器减温水调节阀及电动门关闭。?
11)连排调节阀调整好用后关闭。
12)试验现场与控制室间准备好可靠的通讯联系工具。?
35、填空题 影响锅炉受热面积灰的因素主要有烟气()、飞灰()、管束的()和烟气和管子的()。
点击查看答案
本题答案:流速、颗粒度、结构特性、流向
本题解析:试题答案流速、颗粒度、结构特性、流向
36、单项选择题 过量空气系数过小,会增加()。
A、可燃气体未完全燃烧热损失和固体未完全燃烧热损失;
B、可燃烧气体未完全燃烧热损失和排烟热损失;
C、灰渣物理热损失和固体未完全燃烧热损失。
点击查看答案
本题答案:A
本题解析:暂无解析
37、填空题 当汽包上半部壁温高于下半部壁温时,上半部金属受(),下半部金属受()。
点击查看答案
本题答案:轴向压应力、轴向拉应力
本题解析:试题答案轴向压应力、轴向拉应力
38、问答题 计算题:某台600MW机组年发电量为34.44亿KWH,求该机组的年利用小时数?
点击查看答案
本题答案:解:年利用小时=发电量/额定容量=34.44&time
本题解析:试题答案解:年利用小时=发电量/额定容量=34.44×10/6×10=5740h
该机组年利用小时为5740小时。
39、问答题 泵按其工作原理是如何分类的?
点击查看答案
本题答案:泵按其工作原理可分为叶轮式、容积式和其他型式三种。其中
本题解析:试题答案泵按其工作原理可分为叶轮式、容积式和其他型式三种。其中叶轮式又分为离心泵、轴流泵和混流泵、旋涡泵等;容积式有活塞泵、齿轮泵、螺杆泵和滑片泵等常用型式;其他类型中有真空泵、射流泵等几种。
40、单项选择题 由于给水溶氧长期不合格造成受热面腐蚀的破坏形式特征为()。
A、大面积均匀腐蚀;
B、片状腐蚀;
C、点状腐蚀。
点击查看答案
本题答案:C
本题解析:暂无解析
41、问答题 蒸汽中的杂质对锅炉受热面有何危害?
点击查看答案
本题答案:杂质沉积在锅炉受热面管壁上,会使传热能力降低,轻则使蒸
本题解析:试题答案杂质沉积在锅炉受热面管壁上,会使传热能力降低,轻则使蒸汽吸热减少,排烟温度增高,锅炉效率降低,重则使管壁温度超过金属允许的极限温度使管子烧坏。
42、填空题 处理磨煤机筒体煤多的方法一般是:减少(),或停止给煤机,增加()抽粉,严重时停止磨煤机或打开人孔盖()堵煤。
点击查看答案
本题答案:给煤量、通风量、清除
本题解析:试题答案给煤量、通风量、清除
43、单项选择题 在机组甩负荷或减负荷速度过快时,会造成锅炉汽包水位瞬间()。
A、急剧上升
B、急剧下降
C、轻微波动
点击查看答案
本题答案:B
本题解析:暂无解析
44、问答题 为什么采用蒸汽中间再热(给水回热和供热)循环能提高电厂的经济性?
点击查看答案
本题答案:(1)蒸汽中间再热:
因为提高蒸汽初参数,就
本题解析:试题答案(1)蒸汽中间再热:
因为提高蒸汽初参数,就能够提高发电厂的热效率。而提高蒸汽初压时,如果不采用蒸汽中间再热,那么要保证蒸汽膨胀到最后、湿度在汽轮机末级叶片允许的限度以内,就需要同时提高蒸汽的初温度。但是提高蒸汽的初温度受到锅炉过热器、汽轮机高压部件和主蒸汽管道等钢材强度的限制。所以如降低终湿度,就必须采用中间再热。由此可见,采用了中间再热,实际上为进一步提高蒸汽初压力的可能性创造了条件,而不必担心蒸汽的终湿度会超出允许限度。因此采用中间再热能提高电厂的热经济性。
(2)给水回热:这是由于一方面利用了在汽轮机中部分作过功的蒸汽来加热给水,使给水温度提高,减少了由于较大温差传热带来的热损失;另一方面因为抽出了在汽轮机作过功的蒸汽来加热给水,使得进入凝汽器的排汽量减少,从而减少了工质排向凝汽器中的热量损失,所以,节约了燃料,提高了电厂的热经济性。
(3)供热循环:
一般发电厂只生产电能,除了从汽轮机中抽出少量蒸汽加热给水外,绝大部分进入凝汽器,仍将造成大量的热损失。如果把汽轮机排汽不引入或少引入凝汽器,而供给其他工业、农业、生活等热用户加以利用,这样就会大大减少排汽在凝汽器中的热损失,提高了电厂的热效率。亦即采用供热循环能提高电厂的热经济性。
45、问答题 烟道再燃烧如何处理?
点击查看答案
本题答案:1)发现烟道内烟气温度不正常地升高对,应全面分析原因并
本题解析:试题答案1)发现烟道内烟气温度不正常地升高对,应全面分析原因并采取相应的调整措施,同时对烟道进行吹灰。
2)发现烟道温度不正常升高是由于调整不当、或煤量测量及风量测量不准引起时,应将风量和煤量控制由自动切为手动调整,采用风量不变,减少煤量的方法进行处理.处理时应缓慢,尤其是汽温很高且减温水流量也很大的情况下更应注意,待烟温恢复正常后,逐渐增加风量和煤量,将负荷加至需要值。
3)当检查确认烟道发生再燃烧时,应紧急停炉。
4)停炉后,停止吸、送风机运行,关闭其进、出口风门,关闭空预器出口烟气挡板,隔绝空气。
5)空预器继续运行,投入蒸汽吹灰器向烟道内喷蒸汽灭火。
6)检查烟道各段温度正常后,方可小心地打开人孔门进行检查,确以无火源后,谨慎启动吸风机通风。
7)通风后烟温无异常且设备无损坏时,方可重新点火启动。
8)处理:确认压力低,关杂用气,启动备用空压机;检查整个系统是否正常。
46、问答题 锅炉启动前上水的时间和温度有何规定?为什么?
点击查看答案
本题答案:锅炉启动前的进水速度不宜过快,一般冬季不少于4小时,其
本题解析:试题答案锅炉启动前的进水速度不宜过快,一般冬季不少于4小时,其它季节2—3小时,进水初期尤应缓慢。冷态锅炉的进水温度一般不大于100℃,以使进入汽包的给水温度与汽包壁温度的差值不大于40℃。未完全冷却的锅炉,进水温度可比照汽包壁温,一般差值应控制在40℃以内,否则应减缓进水速度。原因是:
(1)由于汽包壁较厚,膨胀缓慢,而连接在汽包壁上的管子壁较薄,膨胀较快。若进
水温度过高或进水速度过快,将会造成膨胀不均,使焊口发生裂纹,造成设备损坏。
(2)当给水进入汽包时,总是先与汽包下半壁接触,若给水温度与汽包壁温差值过大,
进水时速度又快,汽包的上下壁、内外壁将产生较大的膨胀差,给汽包造成较大的附加应力,引起汽包变形,严重时产生裂纹。
47、问答题 简述流量测量仪表的作用?
点击查看答案
本题答案:目前发电厂多采用差压式流量表来测量流量,差压式流量表是
本题解析:试题答案目前发电厂多采用差压式流量表来测量流量,差压式流量表是利用节流原理造成的压差制作而成的。在管道中安装一节流件,当流体流经节流件时,在其前后产生了压差,此压差的大小与流体流量的大小有关。因此,流量的大小可以通过对压差的测定而得到。
48、判断题 离心泵在启动前,必须先开出口门。
点击查看答案
本题答案:错
本题解析:离心泵在启动前,必须先关闭出口门。
49、问答题 回转式空气预热器故障停运后如何处理?
点击查看答案
本题答案:一台回转式空气预热器停运后,如果是减速机构或电动机部分
本题解析:试题答案一台回转式空气预热器停运后,如果是减速机构或电动机部分故障,应立即切换备用驱动装置运行;如果无备用装置,在跳闸前无异常现象,可强行送电一次,若强送无效,应降低锅炉负荷,进行人工盘车,控制故障侧预热器入口烟温,调整两侧引、送风机出力,根据燃烧工况及时投油助燃。若转动部件故障,盘车不转,应进行抢修;故障短时间无法消除,应请示停炉;两台预热器同时故障停运时,则按停炉处理,若预热器入口有烟道挡板,故障时立即关闭。
50、填空题 受热面磨损的几个影响因素有()、()、()、()、()。
点击查看答案
本题答案:烟气速度;飞灰浓度与灰粒撞击率;飞灰物理化学特性;受热面结构
本题解析:试题答案烟气速度;飞灰浓度与灰粒撞击率;飞灰物理化学特性;受热面结构与布置;燃烧工况
51、填空题 水位计冲洗时间为每周()、()、()的()班进行。
点击查看答案
本题答案:一、三、五、白
本题解析:试题答案一、三、五、白
52、判断题 处理回粉管堵塞时,可以停止给煤机。
点击查看答案
本题答案:错
本题解析:处理回粉管堵塞时,不得停止给煤机。
53、问答题 中间储仓式制粉系统启停对汽温有何影响?
点击查看答案
本题答案:启动制粉系统后,一次风要适当地减少,为了使燃料达到完全
本题解析:试题答案启动制粉系统后,一次风要适当地减少,为了使燃料达到完全燃烧,总风量要增加,这样使烟气容积增大,流经过热器的烟速增大,由于炉膛出口烟温升高,所以汽温上升。
另外对于热风送粉的制粉系统由于三次风的风温较低,它的投入也相对降低了炉膛温度,使得炉内辐射传热减弱,因烟气流量大、流速加快,对流过热器、再热器区域换热加强,这些因素使一、二次汽温上升。停运制粉系统时,情况则相反,汽温应下降。
54、问答题 锅炉6KV厂用电源中断的处理有哪些?
点击查看答案
本题答案:1)立即投入部分油枪稳定燃烧,复归跳闸电机开关?
本题解析:试题答案1)立即投入部分油枪稳定燃烧,复归跳闸电机开关?
2)汇报值长,降低负荷,加强调整,维持参数在规定值?
3)如灭火,则按第1.4.3条处理?
55、问答题 什么叫卡和大卡?
点击查看答案
本题答案:卡是热量的度量单位。使一克纯水的温度每变化1℃,所吸收
本题解析:试题答案卡是热量的度量单位。使一克纯水的温度每变化1℃,所吸收(或放出)的热量叫1卡。使1千克水温度升高1℃,•所需要的热量叫1大卡(千卡)。1大卡=1000卡。
56、名词解释 最佳过剩空气系数
点击查看答案
本题答案:锅炉效率最高时的过剩空气系。
本题解析:试题答案锅炉效率最高时的过剩空气系。
57、问答题 冷却水中断的处理?
点击查看答案
本题答案:1)检查冷却中断的原因;如冷却水全部中断,检查冷却水总
本题解析:试题答案1)检查冷却中断的原因;如冷却水全部中断,检查冷却水总门是否关闭,应开启;
2)如冷却水压力低,立即汇报A操联系汽机检查处理;
3)如冬季冷却水管冻,则立即用火进行烘烤,并注意安全,防止油系统燃烧;
4)如冷却水堵塞,立即用重物进行敲打,但不许把管道敲坏;
5)处理过程中,密切注意轴承温度,如超过规定值时,应立即停止该转机运行,并汇报A操。
58、问答题 最佳过剩空气系数应如何确定?
点击查看答案
本题答案:过剩空气系数小,常会引起化学不完全燃烧热损失和机械不完
本题解析:试题答案过剩空气系数小,常会引起化学不完全燃烧热损失和机械不完全燃烧热损失的增大,过剩空气系数大,常会引起排烟热损失增大。所以,最合理的过剩空气系数应为为排烟热损失、化学不完全燃烧热损失和机械不完全热损失之和为最小值时。最佳过剩空气系数值可用曲线法求得。
59、问答题 辐射过热器汽温与负荷变化的关系?
点击查看答案
本题答案:辐射式过热汽温随负荷的增加而降低;
同样辐射
本题解析:试题答案辐射式过热汽温随负荷的增加而降低;
同样辐射式过热汽温随负荷的降低而增加。
60、问答题 吹灰前的检查工作有哪些?
点击查看答案
本题答案:1)吹灰系统各阀门完整,标志牌清晰,并处于相应状态?<
本题解析:试题答案1)吹灰系统各阀门完整,标志牌清晰,并处于相应状态?
2)各电动门电源正常,开关灵活
3)吹灰系统压力表、温度表投入
4)控制盘电源及声光信号试验正常?
5)检查所有吹灰器均在退出位置,就地电源控制开关在“ON”位置,推进装置润滑良好?
6)吹灰蒸汽主阀,辅助阀均在关闭位置,三相动力电源已送
7)气动减压阀气压正常并已复位
8)各组吹灰器疏水装置良好
61、填空题 锅炉热效率计算有()和()两种方法。
点击查看答案
本题答案:正平衡、反平衡
本题解析:试题答案正平衡、反平衡
62、问答题 回转式空气预热器的密封部位有哪些?什么部位的漏风量最大?
点击查看答案
本题答案:(1)在回转式空气预热器的径向、轴向、周向上设有密封。
本题解析:试题答案(1)在回转式空气预热器的径向、轴向、周向上设有密封。
(2)径向漏风量最大。
63、填空题 汽包是()、()与()三个过程的连接枢纽。
点击查看答案
本题答案:加热、蒸发、过热
本题解析:试题答案加热、蒸发、过热
64、单项选择题 防止灰斗下部漏入空气和水蒸气,一般在灰斗下面设有()。
A、锁气器或水封
B、灰斗加热装置
C、引风机
D、吸风机
点击查看答案
本题答案:A
本题解析:暂无解析
65、填空题 热量的传递发生过程总是由物体的()传向()。
点击查看答案
本题答案:高温部分;低温部分
本题解析:试题答案高温部分;低温部分
66、填空题 冷炉上水时,一般水温高于汽包壁温,因而汽包下半部壁温()上半部壁温,当点火初期燃烧很弱时,汽包下半部壁温很快()上半部壁温。
点击查看答案
本题答案:低于、高于
本题解析:试题答案低于、高于
67、单项选择题 水封槽的作用是密封炉膛底部,防止()漏入炉膛。
A、水
B、灰渣
C、空气
D、煤粉
点击查看答案
本题答案:C
本题解析:暂无解析
68、单项选择题 高温烟打焦时,应适当()炉膛负压,并保持燃烧稳定。
A、降低
B、提高
C、维持
D、无关
点击查看答案
本题答案:B
本题解析:暂无解析
69、填空题 电厂锅炉多采用()式流量表测量流量。
点击查看答案
本题答案:差压
本题解析:试题答案差压
70、填空题 降低锅水含盐量的主要方法有提高()、增加()和采用分段()。
点击查看答案
本题答案:给水品质、排污量、蒸发
本题解析:试题答案给水品质、排污量、蒸发
71、问答题 停炉方式及原则有哪些?
点击查看答案
本题答案:停炉是各种原因造成的,有预先计划正常停炉,也有因机组的
本题解析:试题答案停炉是各种原因造成的,有预先计划正常停炉,也有因机组的缺陷或事故被迫停炉。所以停炉的方式一般有两种情况:正常停炉和事故停炉。正常停炉又可分为两种,停炉至冷备用和停炉至热备用。
停炉至冷备用,指锅炉停运之后,一直冷至常温作备用和检修,即所谓正常停炉。这种方式一般采用滑压停炉,锅炉随汽机负荷的降低而逐渐减少燃料,保证蒸汽温度、压力、流量适应汽机的要求,直至停机和锅炉熄火。
停炉至热备用,指锅炉停运之后,尽量防止热量的损失,以便在较短的时间内重新启动,这种方式一般采用定压停炉。单元机组在80%负荷以上,汽机逐渐关小调速汽门,降低负荷,汽机随锅炉燃烧率的逐渐降低维持主蒸汽压力;即定压减负荷,注意主蒸汽温度过热度≥100℃。否则适当降低主蒸汽压力的设定值,以维持足够的过热度。
事故停炉则是机组发生事故而被迫要求停炉,比如本体受热面的损坏,辅助系统的重大事故或汽机、电网的故障和缺陷等,它必须在工作负荷下切断燃料,使锅炉迅速停止产汽。
与启动一样,停炉也存在安全和经济两方面的问题,因而运行人员应在了解停炉目的之后,确定停炉方式,并做好停炉前的准备工作。
72、单项选择题 罗茨风机是()设备。
A、通风机
B、压气机
C、鼓风机
D、都不是
点击查看答案
本题答案:C
本题解析:暂无解析
73、填空题 汽轮机高加停止时,汽温(),再热汽压力(),机组出力不许超过()。
点击查看答案
本题答案:升高、升高、180MW
本题解析:试题答案升高、升高、180MW
74、问答题 从运行角度看,降低供电煤耗的措施主要有哪些?
点击查看答案
本题答案:(1)运行人员应加强运行调整,保证蒸汽压力、温度和再热
本题解析:试题答案(1)运行人员应加强运行调整,保证蒸汽压力、温度和再热器温度,凝汽器真空等参数在规定范围内。
(2)保持最小的凝结水过冷度。
(3)充分利用加热设备和提高加热设备的效率,提高给水温度。
(4)降低锅炉的各项热损失,例如调整氧量、煤粉细度向最佳值靠近、回收可利用的各种疏水,控制排污量等。
(5)降低辅机电耗,例如及时调整泵与风机运行方式,适时切换高低速泵,中储式制粉系统在最大经济出力下运行,合理用水,降低各种水泵电耗等。
(6)降低点火及助燃用油,采用较先进的点火技术,根据煤质特点,尽早投入主燃烧器等。
(7)合理分配全厂各机组负荷。
(8)确定合理的机组启停方式和正常运行方式。
75、问答题 水位计、安全门投入前的检查?
点击查看答案
本题答案:1)检查汽包水位计应投入,水位计清晰,正常水位线与高、
本题解析:试题答案1)检查汽包水位计应投入,水位计清晰,正常水位线与高、低水位线标志正确。
2)防护罩齐全可靠,安装可靠牢固,照明良好。
3)汽包、过热器、再热器安全门各部件完整良好。无杂物卡住,压力继电器指示正确。
76、填空题 汽包炉锅水加药的目的是使磷酸根离子与锅水中()离子结合,生成难溶于水的沉淀物,通过()排出炉外,从而清除锅水残余(),防止锅炉()。
点击查看答案
本题答案:钙镁、定期排污、硬度、结垢
本题解析:试题答案钙镁、定期排污、硬度、结垢
77、单项选择题 打焦时,如遇炉烟外喷或灰焦冲出时,工作人员应()。
A、原地不动
B、向后躲避
C、转身快跑
D、向两旁躲避
点击查看答案
本题答案:D
本题解析:暂无解析
78、问答题 锅炉热力试验的目的是什么?包括哪些?
点击查看答案
本题答案:锅炉机组的热力试验的目的可分为两类。第一类试验的目的是
本题解析:试题答案锅炉机组的热力试验的目的可分为两类。第一类试验的目的是确定锅炉机组运行的热力性能;如锅炉效率、蒸发量、热损失等。以了解锅炉机组的运行特性和结构缺陷。第二类试验是对新产品、新设备和新技术的试验研究工作。
79、填空题 马克思1848年主编的报纸是()
点击查看答案
本题答案:新莱因报
本题解析:试题答案新莱因报
80、问答题 如何防止炉膛结焦?
点击查看答案
本题答案:为了防止结焦,在运行上可采取以下措施:
(1
本题解析:试题答案为了防止结焦,在运行上可采取以下措施:
(1)合理调整燃烧。使炉内火焰分布均匀,火焰中心不偏斜。
(2)保证适当的过剩空气量,防止缺氧燃烧。
(3)避免锅炉负荷超出力运行。
(4)定期除灰。勤检查,发现积灰和结焦庄及时清除。
在检修方面应做到:
(1)提高检修质量,保证燃烧器安装精确。
(2)检修后的锅炉严密性要好,防止漏风。
(3)及时针对运行中发现的设备不合理的地方进行改进,防止结焦。
81、单项选择题 当流量一定时,下列叙述正确的是()。
A、截面积大,流速快
B、截面积大,流速小
C、截面积小,流速小
D、流速与截面积无关
点击查看答案
本题答案:B
本题解析:暂无解析
82、单项选择题 汽轮机调速汽门突然关闭,将使汽包水位瞬间()。
A、迅速上升
B、迅速下降
C、不变
D、缓慢下降
点击查看答案
本题答案:B
本题解析:暂无解析
83、问答题 试述火焰监视及灭火保护的作用?
点击查看答案
本题答案:火焰监视的作用是及时发现灭火。
灭火保护的作
本题解析:试题答案火焰监视的作用是及时发现灭火。
灭火保护的作用是自动处理灭火事故,使事故处理更迅速及时和防止事故处理中误操作。
84、问答题 火力发电厂的基本热力循环有哪几种?
点击查看答案
本题答案:火力发电厂的最基本热力循环是朗肯循环,在朗肯循环的基础上发展
本题解析:试题答案火力发电厂的最基本热力循环是朗肯循环,在朗肯循环的基础上发展出给水回热循环和蒸汽再热循环。
85、单项选择题 煤的外部水分增加,引起过热汽温()。
A、升高
B、下降
C、不升不降
点击查看答案
本题答案:A
本题解析:暂无解析
86、问答题 为什么再热蒸汽通流截面要比主蒸汽系统通流截面大?
点击查看答案
本题答案:这是由于再热蒸汽的压力低、比容大、容积流量也大,为了降
本题解析:试题答案这是由于再热蒸汽的压力低、比容大、容积流量也大,为了降低蒸汽流速,使蒸汽在流动中因阻力造成的压降损失控制在较小的数值(流体的流速高低是直接影响压力降低的因素),以提高机组的循环效率。所以再热蒸汽的通流截面比主蒸汽的通流截面大得多。
87、问答题 如何利用减温水对汽温进行调整?
点击查看答案
本题答案:目前汽包锅炉过热汽温调整一般以喷水减温为主,大容量锅炉
本题解析:试题答案目前汽包锅炉过热汽温调整一般以喷水减温为主,大容量锅炉通常设置两级以上的减温器。一般用一级喷水减温器对汽温进行粗调,其喷水量的多少取决于减温器前汽温的高低,应能保证屏过管壁温度不超过允许值。二级减温器用来对汽温进行细调,以保证过热蒸汽温度的稳定。
88、问答题 描述煤粉的燃烧过程?
点击查看答案
本题答案:煤粉颗粒受热之后,首先析出其水分,接着分解出挥发分。当
本题解析:试题答案煤粉颗粒受热之后,首先析出其水分,接着分解出挥发分。当温度足够高时,挥发分开始燃烧,同时将燃烧产生的热量加热煤粒,随着煤粒温度的升高,挥发分进一步得到释放。但由于剩余焦碳的温度还很低,同时释放出的挥发分阻碍了氧气向焦碳的扩散,故此时焦碳未燃烧。当挥发分释放完毕且与其他燃烧产物一起被空气流带走后,焦碳开始燃烧,此时保持不断地供氧,燃烧将进行到碳粒完全烧尽为止。
89、问答题 燃烧自动调节或压力自动调节投运项注意什么?
点击查看答案
本题答案:燃烧自动调节或压力自动调节投入运行时,必须注意监视其工
本题解析:试题答案燃烧自动调节或压力自动调节投入运行时,必须注意监视其工作情况,遇有工况变化及重大操作,必须将其解列。
压力自动调节投入时,必须保持下两层给粉机在稳定转速(500r/min以上)运行,以保证稳定的火焰。
90、问答题 油枪的结构?
点击查看答案
本题答案:油枪由引流片(导流片)、雾化片、旋流片三部分组成。
本题解析:试题答案油枪由引流片(导流片)、雾化片、旋流片三部分组成。
91、填空题 每秒种通过过热器每平方米截面积的()称为过热器的质量流速。
点击查看答案
本题答案:蒸汽质量
本题解析:试题答案蒸汽质量
92、单项选择题 在扩散燃烧过程中,燃烧速度主要取决于()。
A、物理条件
B、化学条件
C、外界条件
点击查看答案
本题答案:A
本题解析:暂无解析
93、问答题 叙述浓淡型煤粉燃烧器的稳燃机理?
点击查看答案
本题答案:浓淡型煤粉燃烧器是将煤粉气流分离成两股煤粉含量不同的&
本题解析:试题答案浓淡型煤粉燃烧器是将煤粉气流分离成两股煤粉含量不同的“富粉流”和“贫粉流”。富粉流由于煤粉浓度大,进入炉膛后着火较快。其主原因为:①提高煤粉浓度,相当于减少了一次风量,可显著的减少煤粉气流的着火热;②提高煤粉浓度,将会提高挥发分的容积浓度,增加火焰黑度和辐射吸热量,使煤粉温度升高较快;③提高煤粉浓度可降低着火温度。“富粉流”着火后再点燃“贫粉流”,这样整个煤粉气流的着火速度都加快了。
94、问答题 油枪雾化性能的好坏,从哪几方面判断?
点击查看答案
本题答案:油枪雾化性能的好坏,可由雾化细度、均匀度、扩散角、射程
本题解析:试题答案油枪雾化性能的好坏,可由雾化细度、均匀度、扩散角、射程和流量密度等方面来判断。
雾化质量好的油滴小而均匀,射程应根据炉膛断面来调整,流量密度分布也应均匀。
95、问答题 减温水暖管的作用,何时投停?
点击查看答案
本题答案:加热减温水管道,使管壁温度接近于减温水温度,防止投减温
本题解析:试题答案加热减温水管道,使管壁温度接近于减温水温度,防止投减温水时减温水管道发生振动,振坏减温水管道。
启炉时0.3Mpa时投入减温水暖管,在汽机启给水泵前停止。
96、填空题 再热器安全门的动作压力为()倍工作压力。
点击查看答案
本题答案:1.10
本题解析:试题答案1.10
97、问答题 绘图题:背画带风扇磨煤机热风炉烟干燥的直吹式制粉系统图,标出主要设备的名称。
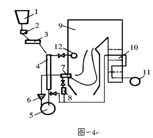
点击查看答案
本题答案:如图-4所示:
试题答案如图-4所示:

1-原煤仓;2-自动磅秤;3-给煤机;4-下行干燥管;5-磨煤机;6-粗粉分离器;
7-燃烧器;8-二次风箱;9-锅炉;10-空气预热器;11-送风机;12-抽烟口。
98、问答题 空气预热器正常运行时主电动机过电流的原因及处理?
点击查看答案
本题答案:原因:
(1)电机过载或传动装置故障。
本题解析:试题答案原因:
(1)电机过载或传动装置故障。
(2)密封过紧或转子弯曲卡涩。
(3)异物进入卡住空气预热器。
(4)导向或支持轴承损坏。
处理:
(1)检查空气预热器各部件,查明原因及时消除。
(2)若电流过大,电机过热,则应立即停止空气预热器运行,关闭空气预热器进出口挡板,降低机组负荷至允许值,并注意另一侧排烟温度不应过高,否则继续减负荷并联系检修处理。
(3)若主电动机跳闸,应检查辅助电动机是否自动启动,若不能启动,应人工盘动空气预热器。
99、填空题 水压试验的目的,是在冷态下检查各承压部件的()和()。
点击查看答案
本题答案:严密性;强度
本题解析:试题答案严密性;强度
100、问答题 论述锅水pH值变化对硅酸的溶解携带系数的影响?
点击查看答案
本题答案:当提高锅水中pH值时,水中的OH-浓度增加,硅酸与硅酸
本题解析:试题答案当提高锅水中pH值时,水中的OH-浓度增加,硅酸与硅酸盐之间处于水解平衡状态,
?
使锅炉水中的硅酸减少,随着锅水中pH值的上升,饱和蒸汽中硅酸的溶解携带系数减小。反之,降低锅水中pH值,锅水中的硅酸增多,饱和蒸汽中硅酸的溶解携带系数将增大。
101、问答题 如何判断锅炉“四管”泄漏?
点击查看答案
本题答案:(1)仪表分析。根据给水流量、主蒸汽流量、炉膛及烟道各
本题解析:试题答案(1)仪表分析。根据给水流量、主蒸汽流量、炉膛及烟道各段温度、各段汽温、壁温、省煤器水温和空气预热器风温、炉膛负压、引风量等的变化及减温水流量的变化综合分析。
(2)就地巡回检查。泄漏处有不正常的响声,有时有汽水外冒,省煤器泄漏,放灰管处有灰水流出,放灰管温度上升,泄漏处局部正压。
(3)炉膛部分泄漏,燃烧不稳,有时会造成灭火。
(4)锅炉烟气量增加。
(5)再热器管泄漏时,电负荷下降(在等量的主蒸汽流量下)。
102、单项选择题 简单机械雾化油枪是由()部分组成。
A、二个
B、三个
C、四个
D、五个
点击查看答案
本题答案:B
本题解析:暂无解析
103、单项选择题 汽包壁温差最大不应超过()℃。
A、50
B、55
C、60
D、65
点击查看答案
本题答案:A
本题解析:暂无解析
104、判断题 煤粉细度对汽温变化有一定的影响。
点击查看答案
本题答案:对
本题解析:暂无解析
105、问答题 暖管速度过快有何危害?
点击查看答案
本题答案:暖管时升温速度过快,会使管道与附件有较大的温差,从而产
本题解析:试题答案暖管时升温速度过快,会使管道与附件有较大的温差,从而产生较大的附加应力。另外,暖管时升温速度过快,可能使管道中疏水来不及排出,引起严重水击,从而危及管道、管道附件以及支吊架的安全。
106、问答题 燃油系统恢复注意事项?
点击查看答案
本题答案:关闭放油门,缓慢开启回油管道措施门,缓慢开启进油管道措
本题解析:试题答案关闭放油门,缓慢开启回油管道措施门,缓慢开启进油管道措施门进行炉前油系统充油,防止影响邻炉油压波动过大,检查油系统严密情况。
107、单项选择题 过热器和再热器用钢的选择主要依据是()。
A、工质温度;
B、工质压力;
C、金属温度。
点击查看答案
本题答案:C
本题解析:暂无解析
108、问答题 火焰检测冷却风机联锁内容?
点击查看答案
本题答案:a.正常情况下,一台运行,一台备用。b.控制方式置&l
本题解析:试题答案a.正常情况下,一台运行,一台备用。b.控制方式置“远方”位置时,当冷却风压低至750Pa(mmH2o)备用风机自启动。c.当一台跳闸时,另一台自动投入。
109、问答题 减温水的运行参数?
点击查看答案
本题答案:一级减温器减温水流量:9.14t/h,二级减温器减温水
本题解析:试题答案一级减温器减温水流量:9.14t/h,二级减温器减温水流量:6.1t/h,再热减温器减温水流量:16.983t/h;
一级减温器减温幅度:5.2℃,二级减温器减温幅度:7.8℃,再热减温器减温幅度:31.8℃;
各减温水温度均为:173℃。
110、问答题 锅炉燃烧调整主要包括哪些内容?
点击查看答案
本题答案:锅炉燃烧调整主要包括:一次风粉均匀性调整、煤粉细度调整
本题解析:试题答案锅炉燃烧调整主要包括:一次风粉均匀性调整、煤粉细度调整、过量空气系数调整、燃烧器风速风率调整、燃烧器投停方式调整。
111、问答题 定压下水蒸汽的形成过程分为哪三个阶段?各阶段所吸收的热量分别叫什么热?
点击查看答案
本题答案:分为下列三个阶段
(1)未饱和水的定压预热过
本题解析:试题答案分为下列三个阶段
(1)未饱和水的定压预热过程,既从任意温度的水加热到饱和水,所加入的热量叫液体热或预热热。
(2)饱和水的定压定温汽化过程,即从饱和水加热变成干饱和蒸汽,所加入的热量叫汽化热。
(3)蒸汽的加热过程,即从干饱和蒸汽加热到任意温度的过热蒸汽,所加入的热量叫过热热。
112、问答题 锅炉方面的经济小指标有哪些?
点击查看答案
本题答案:锅炉方面的经济小指标有:热效率、过热汽温度、再热汽温度
本题解析:试题答案锅炉方面的经济小指标有:热效率、过热汽温度、再热汽温度、过热汽压力、排污率、烟气含氧量、排烟温度、漏风率、灰渣和飞灰可燃物含量、煤粉细度和均匀性、制粉单耗、点火及助燃用油量等。
113、问答题 什么是FCB保护?
点击查看答案
本题答案:当锅炉方面一切正常,而电力系统或汽轮机、发电机方面发生
本题解析:试题答案当锅炉方面一切正常,而电力系统或汽轮机、发电机方面发生故障引起甩负荷时,为了能在故障排除后迅速恢复发送电,避免因机组启停而造成经济损失,采用锅炉继续运行,但迅速自动降低出力,维持在尽可能低的负荷下运行,以便故障排除后能迅速重新并网带负荷。这种处理故障的方法,称为机组快速切断FCB保护。
114、问答题 锅炉运行中,减温器的运行要求?
点击查看答案
本题答案:尽量避免减温器时开时关,热冲击使阀门损坏;
本题解析:试题答案尽量避免减温器时开时关,热冲击使阀门损坏;
减温器必须留有一定的余量,不能全开或全关;
负荷过低时尽量不用减温器。
115、问答题 断煤的预防性措施?
点击查看答案
本题答案:1)注意原煤水分变化情况,若水分过大应改变配煤比例或采
本题解析:试题答案1)注意原煤水分变化情况,若水分过大应改变配煤比例或采取其他措施减少原煤水分或改供较干的煤。
2)经常检查原煤仓存煤及下煤情况,检查给煤机运行情况。
3)保证制粉系统进口煤块尺寸不大于规定值。
4)注意断煤信号。
116、问答题 锅炉见水后过热器水压试验如何进行?
点击查看答案
本题答案:1)汽包水位计见水后,设专人监视空气门,待空气门冒水后
本题解析:试题答案1)汽包水位计见水后,设专人监视空气门,待空气门冒水后,逐个关闭。
2)在上水过程中,应对承压部件进行检查,如发现有漏泄现象应停止上水,待处理完毕后再上水。?
3)升压前,解列汽包水位计,关闭各流量测量阀。?
4)锅炉本体水压试验;?
5)联系汽机检查电动给水泵的运行情况,用给水旁路门控制,缓慢升压。
6)升压速度:
0—0.4MPa(40kg/cm2)每分钟不大于1kg/cm2。
0.4—11.7MPa(120kg/cm2)每分钟不大于3kg/cm2。
11.7—20.5MPa(209.1kg/cm2)每分钟不大于1kg/cm2。?
7)升压到4MPa、12MPa时,暂停升压,观察压力变化情况,如无异常,可继续升压至工作压力。?
8)当压力升至汽包工作压力20.5MPa时,关闭进水门,停止升压,进行全面检查。?
9)关闭进水门后,5分钟内降压不应超过0.49MPa(5kg/cm2),如承压部件壁厚,焊接无漏泄痕迹,无变形则试验合格。?
10)超压试验时,压力升到试验压力,保持5分钟,将压力降到工作压力时,方可进行全面检查,有无缺陷,泄漏及异常现象,做好标记和记录,观察压力变化情况。
11)检查完毕后,停给水泵逐渐泄压,降压速度控制0.2MPa/min(2kg/cm2/min)不超过0.5MPa(5kg/cm2/min).
12)压力降至1MPa(10kg/cm2)左右时,停止泄压,使之自然去压, 91exam .org并做好有关防护和保养工作。
13)当压力降至0.15MPa(1.5kg/cm2)时,开启锅炉各空气门和疏水门。
117、问答题 具备哪些条件,炉油点火允许?
点击查看答案
本题答案:1)炉膛点火允许。?
2)油母管正常,包括:
本题解析:试题答案1)炉膛点火允许。?
2)油母管正常,包括:?
a.油母管压力不低。?
b.油母管温度正常。?
c.油源压力正常。?
d.油跳闸阀开。
3)油母管控制阀在点火位(CCS)或有油角在工作。
118、问答题 论述选择润滑油(脂)的依据?
点击查看答案
本题答案:(1)负荷小时应选用粘度小的润滑油。间歇性的或冲击力较
本题解析:试题答案(1)负荷小时应选用粘度小的润滑油。间歇性的或冲击力较大的机械运动容易破坏油膜或负荷大时应选用粘度较大或挤压性较好的润滑油,或用这种润滑油制成的针入度较小的润滑脂。
(2)速度高时,需选用粘度较小的润滑油,或用粘度较小的润滑油制成的润滑脂。反之,则用粘度较大的润滑油或用粘度较大的润滑油制成的润滑脂。
(3)对于高速滚动轴承的选择润滑油(脂),为了补足所用润滑油(脂)的机械安全性和成渠性,以及克服离心力的作用,最好选用稠度较大的3号润滑脂。对一般转速不太高轴承来说,为了降低轴承的转矩,特别是启动转矩,则尽可能选用低稠度的润滑脂。
(4)在高温条件下,应选用粘度较大、闪点较高、油性好以及氧化安定性好的润滑油,或用热安定性好的基础油和调化剂制成的滴点较高的润滑脂。在低温条件下,应选用粘度较小、凝点低润滑油,或用这种油制成的低温性能较好的润滑脂。温度变化大的摩擦部位,应选用粘温性能较好的润滑油或使用温度范围较宽的润滑脂(如锂基脂)。
(5)在潮湿的工作环境里,或有与水接触较多的工作条件下,应选用抗乳化性能较强的油性、防锈性能较好的润滑油(脂),不能选用钠基脂。
(6)摩擦表面粗糙时,要求使用粘度较大或针入度较小的润滑油(脂),反之,应选用粘度较小或针入度较大的润滑油(脂)。
(7)摩擦表面位置:在垂直导轨、丝杠上润滑油容易流失,应选用粘度较大的润滑油,立式轴承宜选用润滑脂,这样可以减少流失,保持润滑。
(8)润滑方式:在循环润滑系统中,要求换油周期长、散热快,应选用粘度较小,抗泡沫性和抗氧化安定性较 91ExaM.org好的润滑油。在飞溅及油雾润滑系统中,为减轻润滑油的氧化作用,应选用加有抗氧抗泡添加剂的润滑油。在集中润滑系统中,为便于输送,应选用低稠度的1号或0号润滑脂。
119、问答题 调整燃烧的目的?
点击查看答案
本题答案:保证合格的蒸汽参数,提高燃烧的经济性、稳定性,消除热偏
本题解析:试题答案保证合格的蒸汽参数,提高燃烧的经济性、稳定性,消除热偏差,防止锅炉结渣、堵灰、积结油垢、低温腐蚀、金属材料过热。
120、填空题 当锅炉负荷增加时,燃料量增加,烟气量(),烟气流速相应()。
点击查看答案
本题答案:增多、增加
本题解析:试题答案增多、增加
121、问答题 锅炉的热态启动有何特点?
点击查看答案
本题答案:(1)点火前即具有一定的压力和温度,所以点火后升压、升
本题解析:试题答案(1)点火前即具有一定的压力和温度,所以点火后升压、升温可适当加快速度;
(2)因热态启动时升压、升温变化幅度较小,故允许变化率较大;
(3)极热态启动时,因过热器壁温很高,故应合理使用对空排汽和旁路系统,防止冷汽进入过热器产生较大热应力,损坏过热器。
122、问答题 空气预热器的作用及容克式空预器的工作原理?
点击查看答案
本题答案:空气预热器是利用锅炉尾部烟气热量来加热燃烧所需空气的一
本题解析:试题答案空气预热器是利用锅炉尾部烟气热量来加热燃烧所需空气的一种热交换装置,回收了烟气热量、降低了排烟温度,因而提高了锅炉效率;还由于空气的预热强化了燃料的着火和燃烧过程,减少了燃料的不完全燃烧热损失。空气预热器已成为现代锅炉的一个重要组成部分。
容克式空气预热器的工作原理是:转子的受热元件在烟气侧从烟气中吸收热量,通过空气侧时再将热量传递给空气。由于转子缓慢地旋转,传热元件交替地通过烟气侧和空气侧通道,当传热元件与烟气接触时吸收热量并积蓄起来,与空气接触时释放贮存的热量来加热空气,如此周而复始。
123、问答题 除尘器的类型有哪些?
点击查看答案
本题答案:按照除尘器的工作原理可分为:
①机械力除尘器
本题解析:试题答案按照除尘器的工作原理可分为:
①机械力除尘器:又分为重力式、惯性式、离心式三种;
②洗涤式除尘器;又分立式、卧式旋风水膜除尘器,文丘里除尘器,管式水膜除尘器,冲击水浴除尘器等种;
③静电除尘器;
④袋式过滤除尘器等四大类。
124、问答题 一次风机停运联锁内容?
点击查看答案
本题答案:运行中的二台一次风机中任一台停运时
a.关闭
本题解析:试题答案运行中的二台一次风机中任一台停运时
a.关闭一次风机出口门。?
b.关闭一次风机入口导叶。?
c.关闭空预器出口一次风门。?
二台一次风机均停运时,不得关闭一次风机入口导叶、一次风机出口门及空预器出口一次风门。
125、填空题 烟气中的过量空气系数越大,烟气的含氧量()。
点击查看答案
本题答案:越多
本题解析:试题答案越多
126、问答题 事故喷水的作用,何时使用?
点击查看答案
本题答案:事故喷水可以防止再热器管壁及再热汽超温。
当
本题解析:试题答案事故喷水可以防止再热器管壁及再热汽超温。
当再热器管壁超温时,或再热汽减温水加至最大再热汽仍超温时投入尾部再燃。
127、名词解释 截面热负荷
点击查看答案
本题答案:每小时每平方米炉膛截面放出的热量。
本题解析:试题答案每小时每平方米炉膛截面放出的热量。
128、问答题 联箱的作用有哪些?
点击查看答案
本题答案:在受热面的布置中,联箱起到汇集、混合、分配工质的作用,
本题解析:试题答案在受热面的布置中,联箱起到汇集、混合、分配工质的作用,是受热面布置的连接枢纽。
另外,有的联箱也用以悬吊受热面,装设疏水或排污装置。
129、问答题 锅炉升温升压过程中,温升率有何规定?
点击查看答案
本题答案:1)汽包压力0.98MPa以下时,小于0.46℃/MI
本题解析:试题答案1)汽包压力0.98MPa以下时,小于0.46℃/MIN
2)汽包压力1.0MPa以上时,控制小于1℃/MIN,汽包壁温差不大于56℃。
130、判断题 火焰炽白刺眼,说明风量偏小。
点击查看答案
本题答案:错
本题解析:火焰炽白刺眼,说明风量偏大。
131、问答题 单元机组的运行控制方式有哪几种?
点击查看答案
本题答案:(1)协调控制方式;
(2)汽轮机跟踪,输出
本题解析:试题答案(1)协调控制方式;
(2)汽轮机跟踪,输出功率可调控制方式;
(3)锅炉跟踪,机组输出功率可调控制方式;
(4)汽轮机跟踪,输出功率不可调控制方式;
(5)锅炉跟踪,机组输出功率不可调控制方式;
(6)燃料(煤、油)手动控制方式。
132、问答题 机组极热态启动时,锅炉如何控制汽压汽温?
点击查看答案
本题答案:极热态锅炉启动初期,要采取一些措施提高过热蒸汽温度,如
本题解析:试题答案极热态锅炉启动初期,要采取一些措施提高过热蒸汽温度,如适当加大底层二次风,多开上层油枪,提高火焰中心。风量够用即可,不能过大,温升速度可适当加快,冲转前主要靠加减燃料量来控制汽温,靠调整高低压旁路的开度和向空排汽门的开度控制汽压,并网后,机组尽快接带负荷,应适时投入减温水,并改变炉内配风,控制汽温上升的速度,随负荷增长,涨汽压,略涨汽温,等汽温与汽压匹配时,再按升温升压曲线控制机组参数。
133、填空题 润滑油对轴承起()和()、清洗等作用。
点击查看答案
本题答案:润滑、冷却
本题解析:试题答案润滑、冷却
134、问答题 什么叫风机的并联运行?并联运行的目的是什么?
点击查看答案
本题答案:有两台或两台以上的风机并行向同一管道输送气体叫并联运行
本题解析:试题答案有两台或两台以上的风机并行向同一管道输送气体叫并联运行。
采用并联运行的目的是可以以增减风机运行台数来适应更大范围的流量调节,既能保证每台设备的经济运行,又不致因其中一台设备的事故而造成主设备停运。另也避免单风机运行时,风机结构庞大、设备造价高、制造困难等问题。
135、问答题 点火时,开大一、二级旁路为什么能够提高再热汽温?
点击查看答案
本题答案:因为再热汽的传热方式为对流式,在其它因素不变情况下,提
本题解析:试题答案因为再热汽的传热方式为对流式,在其它因素不变情况下,提高烟气流速能增强换热,开大一、二级旁路,若不使主气压力下降,必须强化燃烧,烟气流速增加,烟温升高,再热汽温也升高。
136、单项选择题 煤中灰分的熔点越低,()。
A、越容易结焦
B、不容易结焦
C、越好烧
D、没有影响
点击查看答案
本题答案:A
本题解析:暂无解析
137、问答题 当出现虚假水位时应如何处理?
点击查看答案
本题答案:锅炉负荷突变、灭火、安全门动作、燃烧不稳等运行情况不正
本题解析:试题答案锅炉负荷突变、灭火、安全门动作、燃烧不稳等运行情况不正常时,都会产生虚假水位。
当锅炉出现虚假水位时,首先应正确判断,要求运行人员经常监视锅炉负荷的变化,并对具体情况具体分析,才能采取正确的处理措施。如当负荷急剧增加而水位突然上升时,应明确:从蒸发量大于给水量这一平衡的情况来看、此时的水位上升现象是暂时的,很快就会下降,切不可减小进水,而应强化燃烧,恢复汽压,待水位开始下降时,马上增加给水量,使其与蒸汽量相适应,恢复正常水位。
如负荷上升的幅度较大,引起的水位变化幅度也很大,此时若不控制就会引起满水时,就应先适当减少给水量,以免满水,同时强化燃烧,恢复汽压;当水位刚有下降趋势时,立即加大给水量,否则又会造成水位过低。也就是说,应做到判断准确,处理及时。
138、问答题 升压初期锅炉水位高怎么办?
点击查看答案
本题答案:升压初期水位将上升,可用下降管下联箱放水门放水,但压力
本题解析:试题答案升压初期水位将上升,可用下降管下联箱放水门放水,但压力大于5.2MPa时,(或汽机满速后)不得再开此门,同时可打开连排放水。
139、判断题 烟气离开锅炉排入大气所带走的热量损失称为排烟热损失。
点击查看答案
本题答案:对
本题解析:暂无解析
140、单项选择题 离心泵试验需改工况时,输水量靠()来改变。
A、转速
B、进口水位
C、进口阀门
D、出口阀门
点击查看答案
本题答案:D
本题解析:暂无解析
141、填空题 燃料油低于某一温度则丧失了(),这个温度就称为()。
点击查看答案
本题答案:流动性;凝固点
本题解析:试题答案流动性;凝固点
142、填空题 省煤器的作用是利用锅炉尾部()来加热锅炉()。
点击查看答案
本题答案:烟气的余热、给水
本题解析:试题答案烟气的余热、给水
143、单项选择题 内外壁温差产生的热应力的最大值发生在管筒的()。
A、高温表面
B、低温表面
C、高低温表面
点击查看答案
本题答案:C
本题解析:暂无解析
144、问答题 燃料完全燃烧的条件是什么?
点击查看答案
本题答案:燃料和空气要有良好的混合。
要供给足够的空气
本题解析:试题答案燃料和空气要有良好的混合。
要供给足够的空气量。
氧化过程要有足够的时间。
要维持相当高的炉膛温度。
145、判断题 电动机冒烟着火时应通知主操停止。
点击查看答案
本题答案:错
本题解析:电动机冒烟着火时应立即停止。
146、填空题 在液体()和()同时进行强烈汽化的现象称为沸腾。
点击查看答案
本题答案:内部、表面
本题解析:试题答案内部、表面
147、问答题 锅炉冬季启动初投减温水时.汽温为什么会大幅度下降?如何防止?
点击查看答案
本题答案:由于冬季气温较低,在没有投用减温器前,减温水管内水不流
本题解析:试题答案由于冬季气温较低,在没有投用减温器前,减温水管内水不流动,随着气温降低而降低,而锅炉减温水管道布置往往又较长,储存了一定量的低温水,若在此时投用减温水.则低温水将首先喷入,又因启动初期蒸汽流量较小,而致使汽温大幅度下降。
同时还使减温器喷嘴和端部温度急剧下降,若长期反复如此,还会发生金属疲劳,造成喷嘴脱落,联箱裂纹,威胁设备安全。所以为防止以上情况发生,冬季启动锅炉初投减温水时,要先开启减温水管疏水门放去冷水,还要在投用时缓慢开启调节门,使减温水量逐渐增大。
148、单项选择题
G4-73-11NO28D风机的叶轮直径为()mm。
A、2800
B、2600
C、3000
D、3500
点击查看答案
本题答案:A
本题解析:暂无解析
149、问答题 冷态动力场试验应遵循的原则是什么?
点击查看答案
本题答案:(1)在燃烧室及燃烧器各风口断面上,使气流运动状态进入
本题解析:试题答案(1)在燃烧室及燃烧器各风口断面上,使气流运动状态进入自模化区,即气流的雷诺数Re要达到临界值,Re≥Re※(Re※为临界雷诺数);
(2)保持入口边界条件相似;
(3)冷态试验时,通过燃烧器各次风口进入炉膛的总风量应不使引风机或送风机过负荷;
(4)满足几何相似的原则。
150、单项选择题 测量炉膛压力应采用()。
A、弹簧管压力表
B、U形管式压力计
C、两者均可
点击查看答案
本题答案:B
本题解析:暂无解析
151、问答题 新装锅炉的调试工作有哪些?
点击查看答案
本题答案:新装锅炉的调试分为冷态调试和热态调试两个阶段。
本题解析:试题答案新装锅炉的调试分为冷态调试和热态调试两个阶段。
(1)冷态调试的主要工作有:转机的分部试运行、阀门挡板的测试、炉膛及烟道的漏风试验、受热面的水压试验、锅炉酸洗等;
(2)热态调试的主要工作有:吹管、蒸汽严密性试验、安全阀压力整定(定砣)、整机试运行等。
152、填空题 一般情况下,液体的对流放热系数比气体的()同一种液体,强迫流运放热比自由流动放热()。
点击查看答案
本题答案:大;强烈
本题解析:试题答案大;强烈
153、名词解释 扩散燃烧
点击查看答案
本题答案:当温度较高,化学反应速度较快,物理混合速度较慢,燃烧速
本题解析:试题答案当温度较高,化学反应速度较快,物理混合速度较慢,燃烧速度主要取决于炉内氧对燃料的扩散情况。
154、问答题 锅炉再热器管损坏的现象有哪些?
点击查看答案
本题答案:1)炉膛负压变小或变正?
2)再热汽温发生异
本题解析:试题答案1)炉膛负压变小或变正?
2)再热汽温发生异常变化,两侧流量汽温差增大?
3)再热器后两侧烟温差增大,泄漏侧烟温下降?
4)自再热器检查孔可看到有汽喷出,或听到汽喷出的声音
5)损坏严重,机组负荷下降
155、填空题 省煤器和空气预热器烟道内的烟气温度()规定值时应立即停炉。
点击查看答案
本题答案:超过
本题解析:试题答案超过
156、问答题 蒸汽品质的调节方法?
点击查看答案
本题答案:1)保证给水和给水品质。
2)控制连排门和定
本题解析:试题答案1)保证给水和给水品质。
2)控制连排门和定排门,保证锅炉水含盐量小于其蒸汽参数下的临界含盐量。控制锅筒水位在正常范围内±50mm,监视锅筒水位的变化,避免机组负荷的突然增加和蒸汽压力的突然下降。
157、问答题 当主汽温度高时,如何调整?
点击查看答案
本题答案:1)开大减温水门,注意减温水量与减温器后温度变化,适当
本题解析:试题答案1)开大减温水门,注意减温水量与减温器后温度变化,适当提高减温水压力,注意减温水电动门及调门的运行情况;
2)整燃烧,降低火焰中心,减上排燃烧器的煤量和增加上排燃烧器风量;3)必要时降低锅炉负荷,停上排磨运行,燃烧不稳时可投油助燃;
4)必要时增加锅炉负荷,
5)停上排磨运行;
6)加强水冷壁和尾部烟道的吹灰。
158、填空题 燃烧调整的目的是:保证合格的蒸汽参数,提高燃烧的()、(),消除(),防止锅炉()、堵灰、积结油垢、()、金属材料过热。
点击查看答案
本题答案:经济性、稳定性、热偏差、结渣、低温腐蚀
本题解析:试题答案经济性、稳定性、热偏差、结渣、低温腐蚀
159、问答题 请叙述三冲量给水自动调节系统原理及调节过程。
点击查看答案
本题答案:三冲量给水自动调节系统有三个输入信号(冲量):水位信号
本题解析:试题答案三冲量给水自动调节系统有三个输入信号(冲量):水位信号、蒸汽流量信号和给水流量信号。蒸汽流量信号作为系统的前馈信号,当外界负荷要求改变时,使调节系统提前动作,克服虚假水位引起的误动作,给水流量信号是反馈信号,克服给水系统的内部扰动,取得较满意的调节效果。下面仅举外扰时(负荷要求变化)水位调节过程。当锅炉负荷突然增加时,由于虚假水位将引起水位先上升,这个信号将使调节器输出减小,关小给水阀门,这是一个错误的动作,而蒸汽流量的增大又使调节器输出增大要开大给水阀门,对前者起抵消作用,避免调节器因错误动作而造成水位剧烈变化。随着时间的推移,当虚假水位逐渐消失后,由于蒸汽流量大于给水流量,水位逐渐下降,调节器输出增加,开大给水阀门,增加给水流量,使水位维持到定值。所以三冲量给水自动调节系统调节品质要比单冲量给水自动调节系统要好。
160、问答题 为什么要做超温记录?
点击查看答案
本题答案:当实际壁温超过钢材最高使用温度时,金属的机械性能、金相
本题解析:试题答案当实际壁温超过钢材最高使用温度时,金属的机械性能、金相组织就要发生变化,蠕变速度加快,最后导致管道破裂。为此,运行时对主蒸汽管道、过热汽管及再热器管和相应的导汽管,要作好超温记录,统计超温时间及超温程度,以便分析管道的寿命,加强对管道的监督,防止出现过热及突然损坏。
161、填空题 锅炉的储热能力越大,汽压变化速度()。
点击查看答案
本题答案:越慢
本题解析:试题答案越慢
162、问答题 计算题:管壁厚度δ1=6mm,管壁导热系数λ1=200kj/(m℃),内表面附一层厚δ2=1mm的水垢,水垢导热系数λ2=4kj/(m℃);已知管外壁温为t1=250℃,水垢内表面温度t3=200℃;求通过管壁的热流量及钢管壁与水垢接触面的温度?
点击查看答案
本题答案:解:q=(t1-t3)/(δ1/&lamb
本题解析:试题答案解:q=(t1-t3)/(δ1/λ1+δ2/λ2)=(250-200)/(0.006/200+0.001/4)=1.786×105kj/(m2h)
因为q=(t1-t2)/(δ1/λ1);故t2=t1-q·(δ1/λ1)=250-1.786×105×0.006/200=244.6℃
通过管壁的热流量是1.786×105kj/(m2h);钢管壁与水垢接触面的温度是244.6℃。问答题
163、问答题 事故喷水系统的隔离措施?
点击查看答案
本题答案:关闭三台给水泵中抽头去事故减温水手动门、电动门且断电;
本题解析:试题答案关闭三台给水泵中抽头去事故减温水手动门、电动门且断电;关闭再热器减温器A、B侧一二次电动门及调节门且断电
164、填空题 生产厂用电率是指发电厂 各设备()电量占()发电量的百分比。
点击查看答案
本题答案:自耗、全部
本题解析:试题答案自耗、全部
165、问答题 提高蒸汽品质有哪两种途径,各种途径有何方法?
点击查看答案
本题答案:提高蒸汽品质有降低锅炉含盐量,降低饱和蒸汽带水及减少蒸
本题解析:试题答案提高蒸汽品质有降低锅炉含盐量,降低饱和蒸汽带水及减少蒸汽中含盐两种途径。
降低炉水含盐量的方法有:
1、提高汽水品质;2、增加排污量;3、分段蒸发。
降低饱和蒸汽带水及减少蒸汽中含盐的方法有:
1、良好的汽水分离条件和采用完善的汽水分离装置;2、采用蒸汽清洗装置;3、采用合适的炉水控制指标。
166、问答题 炉膛火焰监视系统由哪些设备组成?
点击查看答案
本题答案:(1)炉膛火焰场景潜望镜和控制、保护系统;
本题解析:试题答案(1)炉膛火焰场景潜望镜和控制、保护系统;
(2)电视摄像机和保护系统;
(3)电视信号传输电缆;
(4)电视信号监视器。
167、填空题 单只油枪容量为()kg/h,供油压力为()Mpa。
点击查看答案
本题答案:2671、3.43
本题解析:试题答案2671、3.43
168、问答题 什么是除雾器的除雾效率?影响除雾器的因素有哪些?
点击查看答案
本题答案:除雾器在单位时间内捕集到的液滴质量与进入除雾器液滴质量
本题解析:试题答案除雾器在单位时间内捕集到的液滴质量与进入除雾器液滴质量的比值,称为除雾效率。除雾效率是考核除雾器性能的关键指标。影响除雾效率的因素很多,主要包括烟气流速、通过除雾器断面气流分布的均匀性、叶片结构、叶片之间的距离及除雾器布置形式等。
169、填空题 蒸汽推动应在()前投入,提高炉膛温度,便于启炉时()着火。
点击查看答案
本题答案:启炉、油枪
本题解析:试题答案启炉、油枪
170、判断题 减温水的温度为251.4℃。
点击查看答案
本题答案:错
本题解析:减温水的温度为173℃。
171、填空题 水蒸汽在T---S图和P---V图上可分为三个区,即()区,()区和()区。
点击查看答案
本题答案:未饱和水、湿蒸汽、过热蒸汽
本题解析:试题答案未饱和水、湿蒸汽、过热蒸汽
172、问答题 炉膛测温探针何时投运?何时退出?
点击查看答案
本题答案:投运:启动点火期间为监视炉膛烟温投入。
退出
本题解析:试题答案投运:启动点火期间为监视炉膛烟温投入。
退出:烟温超过538℃时退出。
173、问答题 锅炉启动过程中如何保护省煤器?
点击查看答案
本题答案:锅炉装有省煤器再循环管,当锅炉停止给水时,开启再循环管
本题解析:试题答案锅炉装有省煤器再循环管,当锅炉停止给水时,开启再循环管上再循环门,使汽包与省煤器之间形成自然循环回路,以冷却省煤器。
174、问答题 受热面吹灰的目的?汽源取自何处?
点击查看答案
本题答案:吹去受热面的积灰,保持受热面清洁,加强受热面的传热。一
本题解析:试题答案吹去受热面的积灰,保持受热面清洁,加强受热面的传热。一、二期取自高温再热器出口管道,三期取自后屏过热器出口联箱。
175、问答题 锅炉运行中怎样进行送风调节?
点击查看答案
本题答案:锅炉总风量的控制是通过调节送风机液偶勺管来实现的。组织
本题解析:试题答案锅炉总风量的控制是通过调节送风机液偶勺管来实现的。组织锅炉燃烧,就是要使一、二次风的风压、风量配合好。
一次风量的调节应满足其所携带进入炉膛的煤粉挥发分着火所需的氧量,并保持一定的风速,不使煤粉管堵塞和喷出的射流具有一定的刚性。一次风量的过大和过小,风速的过高和过低,都应避免。
二次风的调节除应保证焦炭的燃烧所需氧量外,必须保持一定的风速并掌握好与一次风混入的时间,应具有较强的搅拌混合作用和穿透焦炭“灰衣”的动能,这就需要根据具体情况,调整各层二次风的风量,以实现燃烧稳定和烟气中过量氧量适当的目的。
176、判断题 吸风机启动后20秒内电流不返回正常值时,应立即停止。
点击查看答案
本题答案:对
本题解析:暂无解析
177、单项选择题 中储式制粉系统启动前的暖管时间为()。
A、5~10min;
B、10~15min;
C、15~20min。
点击查看答案
本题答案:B
本题解析:暂无解析
178、判断题 &n bsp;擦拭转机时,可以将抹布缠在手上。
点击查看答案
本题答案:错
本题解析:擦拭转机时,禁止将抹布缠在手上。
179、判断题 投入连排罐时,应缓慢开启连排三次门,对连排罐进行充分暖管。
点击查看答案
本题答案:对
本题解析:暂无解析
180、问答题 煤粉在炉内的燃烧过程大致经历哪几个阶段?
点击查看答案
本题答案:大致分为三个阶段。
①着火前的准备阶段;本题解析:试题答案大致分为三个阶段。
①着火前的准备阶段;
②燃烧阶段;
③燃尽阶段。
181、填空题 规范的安全电压是()伏、()伏、()伏。
点击查看答案
本题答案:36、24、12
本题解析:试题答案36、24、12
182、问答题 单元机组自动控制有何特点?
点击查看答案
本题答案:单元机组自动控制的特点是:(1)机组有较高的自动化程度
本题解析:试题答案单元机组自动控制的特点是:(1)机组有较高的自动化程度,可控性好;(2)具有良好的负荷适应性,有较大的负荷调节范围;(3)在汽轮机或部分辅机故障的情况下能实现限负荷运行或停机不停炉运行方式,故障恢复后能快速升负荷至电网要求值;(4)能按照负荷的要求进行锅炉燃烧优化调整;(5)单元机组可采用变压运行方式以减少节流损失,保证机组压力与负荷相适应,提高运行经济性。
183、问答题 影响省煤器飞灰磨损的主要因素有哪些?
点击查看答案
本题答案:(1)烟气的流动速度;
(2)气流的运动方向
本题解析:试题答案(1)烟气的流动速度;
(2)气流的运动方向;
(3)管壁的材料和管壁温度;
(4)灰粒的特性;
(5)管束的排列和冲刷方式;
(6)烟气的化学成分;
(7)烟气走廊的设计和安装;
(8)运行调整因素。
184、填空题 锅炉定期排污应该选择在()时进行。
点击查看答案
本题答案:低负荷
本题解析:试题答案低负荷
185、单项选择题 流体对固体表面在单位时间、单位面积上对流换热过程强弱的一个指标是()。
A、导热系数
B、传热系数
C、对流放热系数
点击查看答案
本题答案:C
本题解析:暂无解析
186、问答题 为什么锅炉点火前要启动引、送风机通风10~15min?
点击查看答案
本题答案:为了防止上次停炉后,在炉膛里残存有可燃气体或煤粉,也可
本题解析:试题答案为了防止上次停炉后,在炉膛里残存有可燃气体或煤粉,也可能由于停炉期间因燃料系统不严密,可燃气体或煤粉漏入炉膛,点火时,一旦火把插入炉膛时,如果可燃气体或煤粉的浓度在爆炸极限范围内,就会引起炉膛爆炸,损坏炉墙,甚至造成人身伤亡。在点火前要启动引、送风机,保持额定风量的10%~15%,通风10一15min。
虽然大风量的通风并不能将残存或漏入炉膛的可燃气体或煤粉,全部排除干净,但却可以将炉膛内可燃气体或煤粉的浓度稀释到远小于爆炸极限的下限,从而保证锅炉点火时设备和人身安全。通风结束后要尽快进行点火,以避免燃料系统泄漏,造成炉膛内可燃气体或煤粉的浓度重新升高到爆炸范围之内。
187、单项选择题 起重机械和起重工具的负荷不超过()。
A.计算荷 91eXAm.org重;
B.实验荷重;
C.铭牌规定;
D.厂家规定。
点击查看答案
本题答案:C
本题解析:暂无解析
188、问答题 送风机油泵的联锁内容?
点击查看答案
本题答案:a.一台送风机配一个液压润润油站,设二台油泵,互为备用
本题解析:试题答案a.一台送风机配一个液压润润油站,设二台油泵,互为备用,若压力油压力<0.8MPa,则启动备用油泵。
b.送风机油箱油温<30℃,接通电加热器,润滑油温>40℃时,则断开电加热器。
189、问答题 什么是排烟热损失?是怎样形成的?
点击查看答案
本题答案:烟气离开最后一级传热面——空气
本题解析:试题答案烟气离开最后一级传热面——空气预热器时,温度约为120~160℃,含有大量的热量,这部分热量未被利用而从烟囱排出。这部分热量损失占输入热量的百分率称为排烟热损失,用q2表示。
燃烧所需要的空气是送风机送入的冷风,如果没有暖风器,则风温为室温。如果是负压锅炉,则从炉膛和尾部烟道漏入的也是冷风。从冷空气变为120~160℃的排烟,必然要消耗一部分燃料,所以形成了排烟热损失。很显然,排烟温度越高,空气预热器后的过量空气系数越大,排烟热损失超大。
190、填空题 为防止炉膛发生爆炸而设的主要热工保护是()。
点击查看答案
本题答案:炉膛灭火保护
本题解析:试题答案炉膛灭火保护
191、单项选择题 锅炉正常水位在汽包中心线()mm处。
A、以上150
B、以下150
C、以上50
D、以下50
点击查看答案
本题答案:B
本题解析:暂无解析
192、单项选择题 1Kg燃油完全燃烧较1Kg煤粉完全燃烧所需的风量()。
A、少;
B、多;
C、一样。
点击查看答案
本题答案:B
本题解析:暂无解析
193、单项选择题 为减少管道局部阻力损失,在弯管时应尽量采用(),以降低阻力系数。
A、较大的弯曲半径
B、较小的弯曲半径
C、随便
点击查看答案
本题答案:A
本题解析:暂无解析
194、问答题 锅炉一、二次风各有何作用?
点击查看答案
本题答案:一次风:是用来输送加热煤粉,使煤粉通过一次风管送入炉膛
本题解析:试题答案一次风:是用来输送加热煤粉,使煤粉通过一次风管送入炉膛,一次风量应满足挥发分的着火燃烧为宜;二次风:一般是高温风,配合一次风搅拌混合煤粉,提供煤粉燃烧所需要的空气量
195、问答题 何谓热风送粉?有何特点?
点击查看答案
本题答案:以空气预热器出口的热风作为输送煤粉进入炉膛燃烧的方式称
本题解析:试题答案以空气预热器出口的热风作为输送煤粉进入炉膛燃烧的方式称为热风送粉。
热风送粉能使煤粉在风管内先行预热,有利于挥发分的析出及在炉膛内及时着火和稳定燃烧。但是对于高挥发分的煤种,不宜采用热风送粉,以防止煤粉在燃烧器内过早着火而烧坏火嘴。
196、名词解释 尿痛
点击查看答案
本题答案:尿初,排尿过程中,尿末或排尿后感尿道疼痛。
本题解析:试题答案尿初,排尿过程中,尿末或排尿后感尿道疼痛。
197、填空题 汽水混合物在垂直圆管中的流动结构主要有四种,即:()状、()状、()状、()状。
点击查看答案
本题答案:汽泡;汽弹;汽柱;雾
本题解析:试题答案汽泡;汽弹;汽柱;雾
198、问答题 锅炉启动过程中,首次投粉的条件是什么?
点击查看答案
本题答案:1)一二次风温大于177℃;
2)待投运磨煤
本题解析:试题答案1)一二次风温大于177℃;
2)待投运磨煤机对应油枪及相邻层油枪着火正常;
3)汽包水位、汽压、汽温、负荷等参数稳定并严密监视;
4)一次风压、负压正常并严密监视,高低旁投入正常;
5)压力大于3.4Mpa。
199、问答题 锅炉动态大联锁试验如何进?
点击查看答案
本题答案:动态试验前,6KV及380V电机的操作及动力电源均送上
本题解析:试题答案动态试验前,6KV及380V电机的操作及动力电源均送上。查空预器支持/导向油站、风机油站运行正常,联系热工人员解除一次风机热工闭锁条件,启动两侧空预器,风机条件满足后分别在动态位启动引、送、一次风机。投入锅炉大联锁开关,停A空预器,10分钟后,联跳同侧的引、送、一次风机。停B空预器,10分钟后,联跳同侧的引、送风机,MET动作,联跳一次风机。
200、问答题 单元机组负荷自动调节有哪几种方式?
点击查看答案
本题答案:单元机组的负荷自动调节方式有炉跟踪、机跟踪和限负荷运行
本题解析:试题答案单元机组的负荷自动调节方式有炉跟踪、机跟踪和限负荷运行三种方式。炉跟踪方式为汽轮机根据电网要求调节机组出力,锅炉根据汽机负荷的变化,相应调节主汽压力,保证主汽压力在规定范围内;机跟踪方式是锅炉根据电网要求调整机组出力,汽机通过改变调节汽门开度来保证主汽压力在规定范围内;限负荷运行方式是当机组某一辅机出现故障时,根据故障的范围和性质限制机组出力在某一规定值运行,然后锅炉和汽机调整各自参数为对应负荷下参数值。
题库试看结束后
微信扫下方二维码即可打包下载完整版《★集控值班员考试》题库
手机用户可保存上方二维码到手机中,在微信扫一扫中右上角选择“从相册选取二维码”即可。
题库试看结束后微信扫下方二维码即可打包下载完整版《集控值班员考试:锅炉运行》题库,分栏、分答案解析排版、小字体方便打印背记!经广大会员朋友实战检验,此方法考试通过率大大提高!绝对是您考试过关的不二利器!
手机用户可保存上方二维码到手机中,在微信扫一扫中右上角选择“从相册选取二维码”即可。
微信搜索关注"91考试网"公众号,领30元,获取公务员事业编教师考试资料40G