手机用户可
保存上方二维码到手机中,在
微信扫一扫中右上角选择“从
相册选取二维码”即可。
1、问答题 为什么说检修比制造安装难度更大?
点击查看答案
本题答案:检修比制造加工难度更大的原因有以下几点:
(
本题解析:试题答案检修比制造加工难度更大的原因有以下几点:
(1)一般来说,管材都已运行了很长时间,材质可能已发生变化
(2)检查裂纹或蠕变等材料损伤的范围,利用现有的无损探伤方法,并不完全可靠
(3)在已安装好的条件下要进行检验、检修及热处理,往往受到空间、温度及灰尘等环境条件的限制(4)在检修工作中工期往往比较紧,使检修时间受到限制。
由于上述原因,使得检修工作通常有更大的难度和风险。
2、单项选择题 更换直径100mm以下和管道时,如果新管段有弯管部分,或者新管很长,均应进行通球试验,球的直径为管子内径的()。
A、100%
B、90%
C、85%
点击查看答案
本题答案:C
本题解析:暂无解析
3、单项选择题 阀门水压试验的压力应为汽包压力的()倍。
A、1.5
B、1.2
C、1.15
D、2
点击查看答案
本题答案:A
本题解析:暂无解析
4、问答题 蠕变监督的标准是什么?
点击查看答案
本题答案:(1)蠕变恒速阶段的蠕变速度不应大于1×1
本题解析:试题答案(1)蠕变恒速阶段的蠕变速度不应大于1×10-7mm/mm.h
(2)总的相对蠕变变形量ε达1%时进行试验鉴定
(3)总的相对蠕变变形量ε达2%时更换管子。
5、问答题 高压阀门如何检查修理?
点击查看答案
本题答案:(1)核对阀门的材质,不得错用,阀门更换零件材质应由金
本题解析:试题答案(1)核对阀门的材质,不得错用,阀门更换零件材质应由金相光谱试验,阀门材质应由金相检验人员同意,并作好记录
(2)清扫检查阀体是否有砂眼、裂纹和腐蚀,若有缺陷,可采用挖补焊接方法处理
(3)阀门密封面要用红丹粉进行接触试验,接触点要达到80%,若小于80%时,需要研磨,对于结合面上的凹面和深沟要采用堆焊方法。
(4)门杆弯曲度、椭圆度应符合要求,门杆丝扣和丝母配合要符合要求。无松动、过紧和卡涩现象
(5)检查瓦拉上下夹板有无裂纹、开焊、冲刷变形和损坏严重,瓦拉调节是否灵活,锁紧螺母丝扣是否配合良好,如有缺陷应更换处理
(6)用煤油清洗检查轴承,轴承无裂纹,滚珠灵活完好,转动无卡涩,蝶形裣垫无裂纹或变形
(7)清扫门体、门盖、填料室、瓦块、压环、固定圈、填料压盖、螺栓及各部件,达到干净,见金属光泽
(8)测量各部间隙。
6、单项选择题 钢材石墨化达2级时,其游离碳为()。
A、30%
B、40%
C、60%
D、70%
点击查看答案
本题答案:B
本题解析:暂无解析
7、单项选择题 在管道的()上,不允许焊接,管头,耳栓或其它附件。
A、弯头
B、直管
C、焊缝
点击查看答案
本题答案:C
本题解析:暂无解析
8、填空题 安装直径为150mm~300mm的管道时,两相邻支架的距离一般为()m。
点击查看答案
本题答案:5~8
本题解析:试题答案5~8
9、单项选择题 在弯管机上弯管,直径()以上的管子,一般是热弯。
A、108
B、133
C、159
点击查看答案
本题答案:C
本题解析:暂无解析
10、问答题 现代发电厂常用的给水管道系统有哪些?
点击查看答案
本题答案:有集中母管制系统切换母管制系统单元制系统扩大单元制系统
本题解析:试题答案有集中母管制系统切换母管制系统单元制系统扩大单元制系统。
11、填空题 手工研磨过程中始终贯穿()、放下、()、()、换向等动作,其目的是为了()使研具和密封面得到均匀的磨削,提高密封面的()和()。
点击查看答案
本题答案:提起;旋转;轻敲;避免磨粒轨迹重复;平整度;粗糙度
本题解析:试题答案提起;旋转;轻敲;避免磨粒轨迹重复;平整度;粗糙度
12、填空题 安全阀动作压力与规定的动作压力差值不能超过(),回座压差应为启座压力的(),最大不超过10%
点击查看答案
本题答案:±0.05MPa;4~7%
本题解析:试题答案±0.05MPa;4~7%
13、单项选择题 紧法兰螺栓时,拧第一个螺栓后,接着拧与它位置对称的另一个,再拧与这对螺栓位置错开()的另一对螺栓,依次拧紧所有螺栓。
A、30°
B、45°
C、60°
D、90°
E、120°
点击查看答案
本题答案:D
本题解析:暂无解析
14、单项选择题 工作温度540℃的主蒸汽管道多选用铬钼钢或铬钼钒钢,该种钢的焊前预热温度为()。
A、350~400℃
B、250~300℃
C、150~200℃
D、50~100℃
点击查看答案
本题答案:C
本题解析:暂无解析
15、填空题 更换管道中途停工时,应将敞开的管口及时()。
点击查看答案
本题答案:封闭
本题解析:试题答案封闭
16、问答题 锅炉安全阀的作用是什么?
点击查看答案
本题答案:安全阀是锅炉的重要附件,其作用是当锅炉压力超过规定值时
本题解析:试题答案安全阀是锅炉的重要附件,其作用是当锅炉压力超过规定值时,能自动排出蒸汽,防止压力继续升高,以确保锅炉及汽轮机的安全。
17、填空题 管道设计尽可能采用()作为补偿器,或者采用改变管道走向,增加补尝作用,布置阀门时,应留出足够空间,以满足()、维修和()的需要。
点击查看答案
本题答案:自然弯曲管道;安装;操作
本题解析:试题答案自然弯曲管道;安装;操作
18、单项选择题 清理伺服阀烧结过滤器夹持件螺孔时可以使用()。
A、轻质汽油
B、煤油
C、清洗液
D、水
点击查看答案
本题答案:A
本题解析:暂无解析
19、填空题 磨粒和磨粉的号数越大,磨料越()。微粒的号数越大,磨料越()。磨粒适于(),磨粉适于(),微粉适于精研与抛光。
点击查看答案
本题答案:细;粗;粗研;精研
本题解析:试题答案细;粗;粗研;精研
20、填空题 热冲击裂纹一般发生在()而介质温度有()或伴随着蒸汽和水的()管件上,其裂纹的分布方向是()。
点击查看答案
本题答案:管壁较厚;突变;相变的;无规则的
本题解析:试题答案管壁较厚;突变;相变的;无规则的
21、问答题 影响弯管椭圆度的主要因素有哪些?
点击查看答案
本题答案:影响弯管椭圆度的主要因素很多,其中主要因素有:管子的弯
本题解析:试题答案影响弯管椭圆度的主要因素很多,其中主要因素有:管子的弯曲角度、弯曲关径、管子直径和管壁厚度等,一般来说,弯曲角度越大,弯曲半径越小,直径越大,管壁越薄,弯曲时产生的椭圆度就越大。反之产生的椭圆度就越小。
22、问答题 为什么再热式机组必须采用单元制系统?
点击查看答案
本题答案:因为再热式机组机炉之间联系紧密,管路复杂,不宜于并列运
本题解析:试题答案因为再热式机组机炉之间联系紧密,管路复杂,不宜于并列运行因此,再热式机组必须采用单元制系统。
23、填空题 旁路系统是锅炉启动和事故工况时的一种()。
点击查看答案
本题答案:保护和调节系统
本题解析:试题答案保护和调节系统
24、填空题 阀件的材质是根据工作介质的性质、()和()来决定的。
点击查看答案
本题答案:压力;温度
本题解析:试题答案压力;温度
25、填空题 高压阀头法兰结合面处一般都使用()和()制成的垫,为了保证结合面密封的可靠性,常把金属垫片加工成()。
点击查看答案
本题答案:碳钢;合金钢;齿
本题解析:试题答案碳钢;合金钢;齿
26、单项选择题 研磨阀门时,阀瓣与阀座直接对研,可消除深度在()mm以内的轻微缺陷和磨痕。
A、0.01
B、0.02
C、0.05
D、0.1
点击查看答案
本题答案:C
本题解析:暂无解析
27、单项选择题 汽包和过热器上所装安全阀的排汽量总和应比锅炉最大连续蒸发量()。
A、大
B、小
C、相等
D、不确定
点击查看答案
本题答案:A
本题解析:暂无解析
28、填空题 金属蠕变速度与温度的关系是:压力不变时,温度越高,则()。温度较低时,则()。
点击查看答案
本题答案:金属蠕变速度越大;金属蠕变速度较小
本题解析:试题答案金属蠕变速度越大;金属蠕变速度较小
29、问答题 为什么截止阀不适用于大口径管道?
点击查看答案
本题答案:因为在截止阀内,介质流动方向被改变,从而引起阻力增大。
本题解析:试题答案因为在截止阀内,介质流动方向被改变,从而引起阻力增大。随着口径的增加,阀杆受力增大的很快。所以在电厂中,截止阀的口径最大不超过100mm。
30、填空题 排污水管包括从汽包引出的()管和从水冷壁下联箱引出的()管。高压锅炉的排污管从压力看,属(),但工作温度(),同时排污水又都含有水渣和有一定碱性的炉水,所以这部分管道都是碳钢小直径管道。
点击查看答案
本题答案:连续排污;高压管;不高
本题解析:试题答案连续排污;高压管;不高
31、问答题 阀门检修前,要做哪些准备工作?
点击查看答案
本题答案:(1)准备阀门。锅炉所用的各种阀门都要准备一部分,即可
本题解析:试题答案(1)准备阀门。锅炉所用的各种阀门都要准备一部分,即可购置一些新阀门并经重新拆装,也可以利用经修复的旧阀门
(2)准备工具,包括各种板手、手锤、錾子、锉刀、撬棍、24~36伏行灯,各种研磨工具、螺丝刀、套管、大锤、工具袋,换盘根工具等
(3)准备材料,包括研磨料、砂布、盘根、螺丝、各种垫子、机油、煤油及其他消耗材料
(4)准备现场,有些大阀门和大流量法兰检修很不方便,可以在检修有搭好架子,使检修工作顺利进行。为了便于拆卸,检修前先对阀门螺丝加上一些煤油
(5)准备检修工具盒,高压锅炉阀门大部分是就地检修,将所用的工具、材料、零件装入工具盒,随身携带很方便。
32、单项选择题 升降式或转动式直通路逆止阀应安装在()管道上。
A、垂直
B、倾斜
C、水平
点击查看答案
本题答案:C
本题解析:暂无解析
33、问答题 阀门按用途可分哪几类?并写出其作用。
点击查看答案
本题答案:(1)关断类。这类阀门用来截断或接通流体,如截止门、闸
本题解析:试题答案(1)关断类。这类阀门用来截断或接通流体,如截止门、闸门和旋塞等
(2)调节类。这类阀门用来调节流体的流量或压力,如调节门、减压门和节流门等
(3)保护类。这类阀门用来起保护作用,如安全门、逆止门和快关筏等。
34、单项选择题 阀杆的腐蚀面积不能超过总面积的(),并且处在填料槽这段阀杆必须光滑。
A、5%
B、10%
C、15%
D、20%
点击查看答案
本题答案:B
本题解析:暂无解析
35、填空题 管道焊口有裂纹,最常用的处理方法是()。
点击查看答案
本题答案:挖补焊接
本题解析:试题答案挖补焊接
36、填空题 热处理工艺包括()、()、()三个阶段。
点击查看答案
本题答案:加热;保温;冷却
本题解析:试题答案加热;保温;冷却
37、单项选择题 钢材的石墨化达到3级时,其游离碳为()。
A、30%
B、40%
C、60%
D、70%
点击查看答案
本题答案:C
本题解析:暂无解析
38、单项选择题 高压阀门阀杆与压盖间隙一般为()mm。
A、0.01~0.05
B、0.05~0.1
C、0.2~0.25
点击查看答案
本题答案:B
本题解析:暂无解析
39、填空题 电磁阀是利用()来控制管道中介质流动状态的()。
点击查看答案
本题答案:电磁原理;电动执行机构
本题解析:试题答案电磁原理;电动执行机构
40、问答题 影响珠光体球化的因素有哪些?
点击查看答案
本题答案:(1)运行时的温度
(2)运行时间
本题解析:试题答案(1)运行时的温度
(2)运行时间
(3)运行时钢材所受应力
(4)钢的化学成分
(5)钢的原始组织。
41、填空题 阀门密封面要用红丹粉进行接触试验,接触点应达到()若小于()时,需要重新研磨,对于结合面的凹面或深沟应采用()。
点击查看答案
本题答案:80%;80%;堆焊方法
本题解析:试题答案80%;80%;堆焊方法
42、单项选择题 10CrMo910钢焊后热处理时,电焊接头需采用()的回火处理。
A、600~650℃
B、700~750℃
C、740~760℃
D、720~780℃
点击查看答案
本题答案:C
本题解析:暂无解析
43、填空题 珠光体球化使钢材的室温()和()下降,也使钢材的()和()下降。
点击查看答案
本题答案:抗拉强度;屈服极限;蠕变极限;持久强度
本题解析:试题答案抗拉强度;屈服极限;蠕变极限;持久强度
44、问答题 什么是热应力裂纹?产生的原因是什么?
点击查看答案
本题答案:热应力裂纹是指介质温度变化使管壁产生热应力而造成的裂纹
本题解析:试题答案热应力裂纹是指介质温度变化使管壁产生热应力而造成的裂纹,产生的原因一般都是沿管件圆周的温度分布不均匀所造成的。
45、单项选择题 定长度和管径的管道,输送一定的介质时,其沿程阻力与流速的平方成()关系。
A、反比
B、正比
C、无关
D、非线性
点击查看答案
本题答案:B
本题解析:暂无解析
46、单项选择题 支架一般用于()管道。
A、水平
B、垂直
C、倾斜
点击查看答案
本题答案:A
本题解析:暂无解析
47、问答题 什么叫启动旁路系统?发电厂常用的旁路系统有哪些基本型式?
点击查看答案
本题答案:中间再热单元式机组多装有旁路系统。它是指高参数蒸汽不通
本题解析:试题答案中间再热单元式机组多装有旁路系统。它是指高参数蒸汽不通过汽缸通流部分,而且经过与汽缸并联的减温减压器,降压减温后的蒸汽送至低一级参数的蒸汽管道或凝汽器的连接系统。直流锅炉除装设旁路系统外,还应装设启动分离系统,统称为发电厂的启动旁路系统。
常见的旁路系统有以下几种基本型式:
(1)汽轮机的Ⅰ级旁路,即新蒸汽绕过汽轮机高缸,经减温减压后直接进入再热器,也称低压旁路。
(2)汽轮机的Ⅱ级旁路,即再热器出来的蒸汽绕过汽轮机中低压缸,经减温减压后直接引入凝汽器,也称低压旁路。
(3)大旁路是将新蒸汽绕过整个汽轮机,经降压减温后直接进入凝汽器,也称整机旁路。
48、填空题 壁厚大于()碳钢管及()焊后焊口应进行热处理。
点击查看答案
本题答案:30mm;合金管
本题解析:试题答案30mm;合金管
49、单项选择题 起重机械的负荷不准超过()。
A、计算荷重
B、试验荷重
C、铭牌规定
D、自身荷重
点击查看答案
本题答案:C
本题解析:暂无解析
50、填空题 管道进行水压试验时,试验压力一般为工作压力的()倍,试验时间()分钟。
点击查看答案
本题答案:1.25;5
本题解析:试题答案1.25;5
51、问答题 蒸汽管道上的阀门壳体为什么容易出现裂纹?
点击查看答案
本题答案:由于阀门的形状复杂,在启停机时,在凹槽中容易积存凝结水
本题解析:试题答案由于阀门的形状复杂,在启停机时,在凹槽中容易积存凝结水,产生热应力,再加上孔的尖锐边缘都是应力集中的部位,因而在运行中产生裂纹。
52、单项选择题 钢102的最高使用温度可达()。
A、500℃
B、600℃
C、650℃
D、600~620℃
点击查看答案
本题答案:D
本题解析:暂无解析
53、填空题 蒸汽管道的蠕变测量工作要做到“三及时”,即()、()、()。
点击查看答案
本题答案:及时测;及时算;及时复测
本题解析:试题答案及时测;及时算;及时复测
54、填空题 大修时应检查汽水管道的保温有无()、(),最外层的白铁皮有无()、()。
点击查看答案
本题答案:裂缝;脱落;开裂;损坏
本题解析:试题答案裂缝;脱落;开裂;损坏
55、问答题 常用的弯管方法有几种,各有何不同?
点击查看答案
本题答案:常用的弯管方法有热弯和冷弯两种。热弯就是用干净、干燥的
本题解析:试题答案常用的弯管方法有热弯和冷弯两种。热弯就是用干净、干燥的具有一定大小的砂子充满被弯管内,经震打使砂子填实,然后加热管子,采用人工方法,将原直管弯成一定弧度的弯管。冷弯就是按直径和弯曲半径选用弯管机胎具,在弯管机上将管子弯成所需要的角度。对于大直径厚壁管也采用加热后在弯管机上弯。
56、单项选择题 0CrMO910钢焊后热处理时,电焊接头需采用()的回火处理。
A、600℃--650℃
B、700℃--750℃
C、740℃--760℃
D、720℃--780℃
点击查看答案
本题答案:C
本题解析:暂无解析
57、填空题 磨具与阀瓣的运动间隙,一般在()左右,磨具硬度一般()阀瓣硬度。
点击查看答案
本题答案:0.2mm;低于
本题解析:试题答案0.2mm;低于
58、填空题 为了消除汽包水位与水位计水位的误差,水位计与泡包连接的管道必须全部(),有的水位计还装有()装置。
点击查看答案
本题答案:保温;伴热
本题解析:试题答案保温;伴热
59、填空题 蠕变测点一般选用()和()。
点击查看答案
本题答案:球头蠕变测点头;自动对心蠕变测点头
本题解析:试题答案球头蠕变测点头;自动对心蠕变测点头
60、填空题 油管道不能直接接触()管道、应布置在蒸汽管道()。
点击查看答案
本题答案:蒸汽;下方
本题解析:试题答案蒸汽;下方
61、填空题 阀门的公称直径是一种名义计算,直径用Dg表示,单位为()。一般情况下阀门的通道直径与公称直径是()。
点击查看答案
本题答案:毫米;接近相等
本题解析:试题答案毫米;接近相等
62、问答题 已知锅炉需要供水量为300吨/小时,给水的流速是3米/秒,计算过程中不考虑其它因素,试问应当选择管子内径是多少?
点击查看答案
本题答案:
试题答案
63、填空题 管道焊接时,两对接焊口间距不得小于管子外径,且不小于()。
点击查看答案
本题答案:150mm
本题解析:试题答案150mm
64、单项选择题 高参数大力发电厂常用得较广泛的高温螺栓用钢是()。
A、25Cr2MoV和25Cro1V
B、12CrMo1V和12CrMoV
C、1Cr18Ni9Ti
D、2G25
点击查看答案
本题答案:A
本题解析:暂无解析
65、填空题 给水管道的工作特点是()压力()温度。
点击查看答案
本题答案:高;中
本题解析:试题答案高;中
66、问答题 选择支吊架时主要应考虑哪些因素?
点击查看答案
本题答案:支吊架的选择主要应考虑管道的强度、刚度,输送介质的温度
本题解析:试题答案支吊架的选择主要应考虑管道的强度、刚度,输送介质的温度、工作压力,管材的线膨胀系数,管道运行后的受力状态及管道安装的实际位置状况等。同时应考虑制作和安装的成本。
67、填空题 管道布置时,管道与管道之间,管道与墙、梁柱或设备之间都要有一定距离,以满足,()和()的要求。
点击查看答案
本题答案:焊接;保温;热胀
本题解析:试题答案焊接;保温;热胀
68、单项选择题 对管道保温材料的要求之一是()。
A、导热系数及比重小,并具有一定的强度
B、导热系数大及比重大,且具有一定的强度
点击查看答案
本题答案:A
本题解析:暂无解析
69、填空题 降低石墨化倾向最有效的元素是()。
点击查看答案
本题答案:铬
本题解析:试题答案铬
70、问答题 已知某管受热面直径42mm,弯曲半径为R=70mm,弯曲后最大直径为41.7mm,最小直径为38.04mm,计算椭圆度,并判断是否超标。
点击查看答案
本题答案:
试题答案
71、问答题 为什么说管道的检修工作具有较大的难度和风险?
点击查看答案
本题答案:(1)一般来说,所检修的管道都已运行很时间,材质可能以
本题解析:试题答案(1)一般来说,所检修的管道都已运行很时间,材质可能以发生变化
(2)查裂纹或蠕变等材料损伤的范围,利用现有的无损探伤方法,并不完全可靠
(3)在已安装好的条件下要进行检验,检修及热处理,往往受到空间、温度及灰尘等环境条件的限制
(4)检修工期比较紧,使检修时间受到限制。
72、填空题 主蒸汽管道工作特点是()汽温、()汽压和大管径。
点击查看答案
本题答案:高;高
本题解析:试题答案高;高
73、填空题 直流锅炉的启动旁路系统可分为()种型式。
点击查看答案
本题答案:三
本题解析:试题答案三
74、填空题 管道材料的耗损通常是由于()和()等固体物在蒸汽或水的涡流作用下造成的()。
点击查看答案
本题答案:渣粒;铁锈;冲蚀
本题解析:试题答案渣粒;铁锈;冲蚀
75、问答题 如何拆装脉冲式安全阀的活塞环?
点击查看答案
本题答案:从活塞上拆活塞环时,可用准备好的钢片条从环接口处插入后
本题解析:试题答案从活塞上拆活塞环时,可用准备好的钢片条从环接口处插入后沿圆周方向推移,这样插入四片钢条并均匀布置在圆周上后,即可顺轴向拉出活塞环,装活塞环的方法可将此法反过来用,即先放钢片条,后套环,然后逐根抽出钢片即可。
76、问答题 如何选用阀门密封面材料?
点击查看答案
本题答案:密封面材料是保证阀门密封性能的关键因素之一。对它的要求
本题解析:试题答案密封面材料是保证阀门密封性能的关键因素之一。对它的要求是:在介质的压力、温度作用下,具有一定的强度,耐介质腐蚀,工艺性好。对于密封面有相对运动的阀类,还要求抗擦伤性好,磨擦系数小,耐磨损。对于受高速介质冲刷的阀门,还要求抗冲蚀性能强。对于高温和低温阀门,要求有良好的热稳定性和与相接材料基本体相近的结胀系数。
为了提高抗擦性好,两具密封面应具有一定硬度差,如铬13型不锈钢,规定其硬度差大于HB50,且硬度均不小于HB250。
77、单项选择题 钢中加入()元素,能最有效降低石墨化倾角。
A、铝
B、硅
C、鉻
D、镍
点击查看答案
本题答案:C
本题解析:暂无解析
78、问答题 阀门电动装置由哪些部件组成?
点击查看答案
本题答案:阀门电动装置由主传动装置、转矩限制机构、行程控制机构、
本题解析:试题答案阀门电动装置由主传动装置、转矩限制机构、行程控制机构、手动—电动切换机构、电致力机和状态显示等部件组成。
79、单项选择题 高温阀门紧固件,为了保证螺栓和螺母不被咬死其材料要求()。
A、螺母和螺栓使用同一材料
B、螺母材料与螺栓材料不能相同
C、螺母材料硬度高于螺栓材料
点击查看答案
本题答案:B
本题解析:暂无解析
80、单项选择题 配制管子弯头在冷弯时,其弯曲半径不得小于管子外径的()。
A、4倍
B、3.5倍
C、2倍
D、1.5倍
点击查看答案
本题答案:A
本题解析:暂无解析
81、单项选择题 孔与轴的公差相互交叠,配合时可能产生间隙也可能产生过盈的配合叫()。
A、过渡配合
B、过盈配合
C、间隙配合
D、普通配合
点击查看答案
本题答案:A
本题解析:暂无解析
82、问答题 管道系统的布置应考虑哪些内容?
点击查看答案
本题答案:管道系统的布置包括确定管道走向、进行管道应力和强度计算
本题解析:试题答案管道系统的布置包括确定管道走向、进行管道应力和强度计算,并设计热伸长的补偿方法、支吊架的型式和位置、附件安装位置、传动装置型式和操作位置、管道坡度、疏放水和排气总位置,以及必要的运行、检修平台位置和尺寸等。
83、填空题 主蒸汽管道总的相对蠕变变形量ε达到()时应更换管子。
点击查看答案
本题答案:2%
本题解析:试题答案2%
84、问答题
某410/100型锅炉,其汽包工作压力为9.8MPa,试计算其汽包控制安全阀的排放量。
[提示:排汽量计算公式为G=CA(10.2P+1)•K]
已知:
(1)安全阀座内径d=80mm,
(2)安全阀阀瓣开启高度h=25mm,
(3)该安全阀安装在汽包上,
(4)当h≥d/4时,安全阀排汽系数c=0.235
(5)当P≤11.7MP时,饱和蒸汽的比容修正系数k=1
点击查看答案
本题答案:
试题答案
85、问答题 蒸汽管道上安装的阀门,为什么容易出现裂纹?
点击查看答案
本题答案:是由于阀们的形状复杂,启停机时,在凹槽中容易存凝结水,
本题解析:试题答案是由于阀们的形状复杂,启停机时,在凹槽中容易存凝结水,产生热应力,再加上孔的尖锐边缘都是应力集中的部位,因而易产生裂纹。
86、单项选择题 阀门液动执行装置适用于()的阀门。
A、高参数大直径
B、高参数小直径
C、低参数大直径
D、低参数小直径
点击查看答案
本题答案:A
本题解析:暂无解析
87、单项选择题 当发现高温高压管道弯头外壁有蠕变裂纹时,应及时()。
A、补焊
B、铲除
C、更换
D、加固
点击查看答案
本题答案:C
本题解析:暂无解析
88、填空题 阀门的阀杆与阀盖间是依靠()来密封的,填料的选用应根据()和()的不同来确定。
点击查看答案
本题答案:填料;介质压力;温度
本题解析:试题答案填料;介质压力;温度
89、问答题 设备发生问题后,检修之前应弄清的问题是什么?
点击查看答案
本题答案:设备在发生问题后,检修之前应弄清以下几个问题:
本题解析:试题答案设备在发生问题后,检修之前应弄清以下几个问题:
(1)损伤的原因是什么
(2)是个别缺陷还是系统性缺陷
(3)若未发现的缺陷造成进一步的损伤,是否会危及安全,即是否会造成人身事故或较大的设备事故。
90、问答题 发电厂热力系统的定义是什么?
点击查看答案
本题答案:根据发电厂热力循环的过程,将热力部分主辅设备及其管道附
本题解析:试题答案根据发电厂热力循环的过程,将热力部分主辅设备及其管道附件连接成一个整体的线路图,称为发电厂的热力系统。
91、问答题
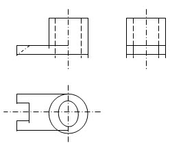
补全视图中的缺线。

点击查看答案
本题答案:
试题答案
92、填空题 焊缝的管子进行通球试验,球的直径为公称内径的()。其目的是检查管子是否(),管子是否符合要求。
点击查看答案
本题答案:80%~85%;畅通
本题解析:试题答案80%~85%;畅通
93、单项选择题 在进行蒸汽管道蠕变测量时,蒸汽管道壁温度应小于()℃。
A、20
B、50
C、100
D、200
点击查看答案
本题答案:B
本题解析:暂无解析
94、填空题 阀门驱动装置可分为()、()、()。
点击查看答案
本题答案:电动;气动;液动装置
本题解析:试题答案电动;气动;液动装置
95、问答题 试述阀门阀杆开关不灵的原因?
点击查看答案
本题答案:(1)操作过猛使螺纹损伤
(2)缺乏润滑油或
本题解析:试题答案(1)操作过猛使螺纹损伤
(2)缺乏润滑油或润滑剂失效
(3)阀杆弯曲
(4)表面光洁度不免
(5)配合公差不准,咬得过紧
(6)阀杆螺母倾斜
(7)材料选择不当
(8)螺纹或阀杆被介质腐蚀
(9)露天阀门缺乏保养,阀杆螺纹沾满尘砂或者被雨露霜雪锈蚀等。
96、填空题 发电厂主要汽水管道系统有(),(),()等。
点击查看答案
本题答案:再热蒸汽管道系统;给水管道系统;起动旁路系统
本题解析:试题答案再热蒸汽管道系统;给水管道系统;起动旁路系统
97、单项选择题 高温高压管道冷拉的目的是()。
A、便于焊接调整对口间隙
B、减少焊接应力
C、提高管道的刚度
D、减少管道膨胀的热应力
点击查看答案
本题答案:D
本题解析:暂无解析
98、单项选择题 当再热器压力超过定期时,苏尔寿再热器安全阀的电液控制系统可使安全阀在()快速打开。
A、10~15s
B、15~20s
C、5~10s
D、20~25s
点击查看答案
本题答案:A
本题解析:暂无解析
99、单项选择题 管子的弯曲度,冷轧钢管的弯曲度不超过()。
A、1.0mm/m
B、1.5mm/m
C、2mm/m
点击查看答案
本题答案:B
本题解析:暂无解析
100、填空题 阀门液动装置适用于()和()的场合。
点击查看答案
本题答案:高推力;高速度
本题解析:试题答案高推力;高速度
101、问答题 管道在运行中常出现的损伤故障形式有哪些?
点击查看答案
本题答案:管道损伤故障形式有材料的耗损,通常是由于渣粒和铁锈等固
本题解析:试题答案管道损伤故障形式有材料的耗损,通常是由于渣粒和铁锈等固体物在蒸汽或水的涡流作用下造成的冲蚀材料的变形和各种各样的裂纹,裂纹包括环向裂纹、横向裂纹、母材的纵向裂纹、其他裂纹。
102、单项选择题 金属齿形垫使用时要作外部检查,要求齿尖高低(),垫片各处厚度差不容许超过0.1mm。
A、不一致
B、一致
C、可以一致,也可以不一致
点击查看答案
本题答案:B
本题解析:暂无解析
103、问答题 对发电厂主蒸汽管道系统有哪些要求?发电厂常用的主蒸汽管道系统有哪些?
点击查看答案
本题答案:要求:系统简单,工作安全可靠运行调度活,便于切换便于维
本题解析:试题答案要求:系统简单,工作安全可靠运行调度活,便于切换便于维修、安装和扩建,投资费和运行费少。
常用的有:
(1)集中母管制系统
(2)切换母管制系统
(3)单元制系统
(4)扩大单元制系统。
104、问答题 蒸汽管道蠕变变形测量方法有哪几种?各是如何测量的?测量时应注意什么?
点击查看答案
本题答案:蒸汽管道蠕变变形测量方法有千分尺测量法和蠕变测量标记法
本题解析:试题答案蒸汽管道蠕变变形测量方法有千分尺测量法和蠕变测量标记法两种。
蠕变测量方法:
(1)千分尺测量法:在管道固定位置的外表面上焊上蠕变测点,用千分尺测量截面的直径,通过直径的变化,监视其蠕变变形情况
(2)标记法:在管道固定位置的外表面上打上两排互相平行的球面压痕标记,用特制的钢带缠绕在钢管测量截面的外表面,测量该截面的周长,通过周长的变化,监视其蠕变变形情况。
测量时的注意事项:
(1)蠕变测量的结果和计算的结果均需详细地登记在专用的表格上,并认真保存
(2)对蒸汽管道的蠕变测量工作要做到“三及时”,即“及时测、及时算、及时复测”
(3)对蠕变测点要精心保护,不允许磨损,敲击或有其他损伤
(4)当不知道千分尺弓身钢号时,据制造厂资料介绍,大部分国产千分尺弓身为低碳铸钢或A3钢板,可采用α=11.1×10-6mm/(mm•℃)
(5)常用国内外蒸汽管道材料的线膨胀系数αp。
105、填空题 阀体、阀盖是阀门主要()部件,并承受介质的()以及管道和阀杆的(),所用材料应具有足够的强度和韧性,良好的()性,并耐介质的()。
点击查看答案
本题答案:承压;温度;附加作用力;工艺;腐蚀
本题解析:试题答案承压;温度;附加作用力;工艺;腐蚀
106、填空题 研磨过程实质上是不用车床的()过程。
点击查看答案
本题答案:切削
本题解析:试题答案切削
107、问答题 管道冷拉前应检查哪些内容?
点击查看答案
本题答案:(1)冷拉区域各固定支架安装牢固,各固定支架间所有焊口
本题解析:试题答案(1)冷拉区域各固定支架安装牢固,各固定支架间所有焊口焊接完毕(冷拉口除外),焊缝均经检查合格,应作热处理的焊口已作过热处理
(2)所有支吊架已装设完毕,冷拉口附近支吊架的吊杆应预留足够的调整余量,弹簧支吊架的弹簧应按设计值预压缩,并临时固定
(3)法兰与阀门的连接螺栓已拧紧
(4)应作热处理的冷拉焊口,须经检验合格,热处理完毕后,才允许拆除冷拉时所装拉具。
108、填空题 阀门外部泄漏常见于()和法兰连接部位。阀门内部泄漏主要原因是()损坏。
点击查看答案
本题答案:填料箱;密封面
本题解析:试题答案填料箱;密封面
109、单项选择题 流体在管道中流动产生的阻力与流体的平均速度的()正比
A、一次方
B二次方
C三次方
D、四次方
点击查看答案
本题答案:B
本题解析:暂无解析
110、填空题 管道支吊架的作用是(),并承受管道本身及工质的()。
点击查看答案
本题答案:固定管子;重量
本题解析:试题答案固定管子;重量
111、单项选择题 高压阀门的公称压力范围应为()。
A、6.4MPa
B、10Mpa
C、10~80Mpa
D、40~100MPa
点击查看答案
本题答案:C
本题解析:暂无解析
112、填空题 管道焊口不得有气孔、()、()等缺陷。
点击查看答案
本题答案:夹渣;裂纹
本题解析:试题答案夹渣;裂纹
113、问答题 根据文字内容,写出下列螺纹的规定代号。
点击查看答案
本题答案:(1)普通粗牙螺纹直径20,螺距2.5,右旋
本题解析:试题答案(1)普通粗牙螺纹直径20,螺距2.5,右旋
(2)普通细牙螺纹直径20,螺距1,左旋
(3)梯形螺纹直径32,导程12,双头、公差5P,左旋
(4)圆柱管螺纹,公称直径径1”
(5)锥管螺纹,公称直径为1/2”。
(1)M20
(2)M20×1左
(3)T32×12/2-5P左
(4)G1“
(5)ZG1/2“
114、问答题 脉冲式安全阀误动作的原因有哪些?如何解决?
点击查看答案
本题答案:(1)脉冲式安全阀定值校验不准确,或弹簧失效,使定值改
本题解析:试题答案(1)脉冲式安全阀定值校验不准确,或弹簧失效,使定值改变,应重新检验或更换弹簧
(2)压力继电器定值不准,或表计摆动,使其动作。应重新检验定值或采取压力缓部装置
(3)脉冲安全阀严密较差,当回座电磁铁停电或电压降低吸力不足时,阀门漏汽,使主阀动作
(4)脉冲安全阀严重漏汽,应研磨检修脉冲安全阀
(5)脉冲安全阀出口管疏水阀、疏水管道堵塞,或疏水管与压力管道相连通,应解决使疏水管畅通,并通向大气。
115、单项选择题 12CrMOV进行氩弧焊,采用()焊丝。
A、H08CrMOv
B、TIG--R40
C、热317
D、TIG--R31
点击查看答案
本题答案:D
本题解析:暂无解析
116、填空题 对于管径大于()mm的焊口,应采用双人对称焊接,以 减少焊接应力。
点击查看答案
本题答案:219
本题解析:试题答案219
117、填空题 锅炉排污水进入扩容器后,容积(),压力(),温度()。
点击查看答案
本题答案:扩大;降低;降低
本题解析:试题答案扩大;降低;降低
118、问答题 简述阀瓣和阀杆脱离造成开关不灵的原因和排除方法?
点击查看答案
本题答案:原因:
(1)修复不当或未加并帽垫圈,运行中
本题解析:试题答案原因:
(1)修复不当或未加并帽垫圈,运行中由于汽水流动,使螺栓松动,而弹子落出
(2)运行时间过长,使销子磨损或疲劳损坏。
消除方法:提高检修质量,阀瓣与阀杆的销子要合乎规格,材料质量要合乎要求要求。
119、填空题 研具的硬度应该比研磨件(),以免在较大压力作用下,磨粒被嵌入或划坏(),()。
点击查看答案
本题答案:低;在较大压力作用下;磨粒被嵌入或划坏
本题解析:试题答案低;在较大压力作用下;磨粒被嵌入或划坏
120、单项选择题 压紧阀门盘根的方法是()。
A、压紧一侧,再压紧另一侧
B、两侧同时压紧
C、上述两种方法都不对
点击查看答案
本题答案:B
本题解析:暂无解析
121、填空题 阀门的静密封是靠两连接件之间夹持()来实现的。因此()是解决静密封处跑冒滴漏的零件。
点击查看答案
本题答案:垫片;垫片
本题解析:试题答案垫片;垫片
122、填空题 介质在流量孔板中通过时,压力有所(),速度有所()。
点击查看答案
本题答案:降低;增加
本题解析:试题答案降低;增加
123、单项选择题 在管道上不允许有任何位移的地方,应装设()。
A、固定支架
B、滑动支架
C、导向支架
D、弹簧吊架
点击查看答案
本题答案:A
本题解析:暂无解析
124、填空题 钢中渗碳体在高温下分解成游离碳,并以()析出,在钢中形成了()“夹杂”的现象,称之为()。
点击查看答案
本题答案:石墨形式;石墨;石墨化
本题解析:试题答案石墨形式;石墨;石墨化
125、填空题 在高温应力长期作用下,钢中珠光()为石墨化。
点击查看答案
本题答案:体内渗碳体分解为游离石墨的现象称
本题解析:试题答案体内渗碳体分解为游离石墨的现象称
126、单项选择题 编结填料的搭角应为()。
A、25°
B、30°
C、60°
D、50°
点击查看答案
本题答案:B
本题解析:暂无解析
127、填空题 弯制有缝钢管时,必须将焊缝放在(),以免弯制时焊缝()。
点击查看答案
本题答案:中性层位置;裂开
本题解析:试题答案中性层位置;裂开
128、填空题 带弹簧的升降式逆止阀的工作原理是:当介质按规定方向流动时,介质从阀瓣下引入,借介质()将()顶起,阀门开启当介质停止流动或倒流时,阀瓣借()和()落下,阀门关闭。
点击查看答案
本题答案:压力;阀辨;弹簧力;自重
本题解析:试题答案压力;阀辨;弹簧力;自重
129、填空题 更换苏尔寿再热器安全阀执行器的活塞杆下密封时,必须在拆下执行器后()才能更换。
点击查看答案
本题答案:将其倒过来
本题解析:试题答案将其倒过来
130、填空题 管子接口距离管弯曲起点不得小于管子()且不小于()。
点击查看答案
本题答案:外径;100mm
本题解析:试题答案外径;100mm
131、单项选择题 管道进行冷拉时,多数从()方向进行冷拉。
A、一个
B、二个
C、三个
点击查看答案
本题答案:A
本题解析:暂无 解析
132、填空题 弯管外弧部分实测壁厚不得小于()壁厚。
点击查看答案
本题答案:设计计算
本题解析:试题答案设计计算
133、填空题 弯要根据()和()选择规范胎具。
点击查看答案
本题答案:管径;弯曲半径
本题解析:试题答案管径;弯曲半径
134、填空题 阀门电动装置适用于()场合。
点击查看答案
本题答案:分散的和远距离的
本题解析:试题答案分散的和远距离的
135、填空题 耐热钢可分为(),(),()和()。
点击查看答案
本题答案:珠光体耐热钢;铁素体耐热钢;奥氏体耐热钢
本题解析:试题答案珠光体耐热钢;铁素体耐热钢;奥氏体耐热钢
136、单项选择题 特别重要的螺栓,最后拧紧螺母时,应按照序程多拧几遍,每遍只拧紧()转。
A、1/16~1/8
B、1/8~1/4°
C、1/4~1/2
D、1/2~1
点击查看答案
本题答案:B
本题解析:暂无解析
137、填空题 管道及其附件的连接方式:()、()、()。
点击查看答案
本题答案:焊接连接;法兰连接;螺纹连接
本题解析:试题答案焊接连接;法兰连接;螺纹连接
138、填空题 12CrIMOV属于(),用于壁温低于580的过热器管。
点击查看答案
本题答案:珠光体耐热钢
本题解析:试题答案珠光体耐热钢
139、单项选择题 低合金高强钢容器焊接后处理的目的是()。
A、改善组织
B、消除残作应力
C、降低冷裂倾向
点击查看答案
本题答案:C
本题解析:暂无解析
140、问答题 绘图题:画出电接点水位计的原理示意图。
点击查看答案
本题答案:
试题答案
141、单项选择题 金属空心O形圈最适合的压扁度为()。
A、10%~40%
B、10%~30%
C、5%~10%
D、20%
点击查看答案
本题答案:A
本题解析:暂无解析
142、单项选择题 有一个阀门牌号是Z96Y—250、Dg125,此阀叫做()。
A、电动截止阀
B、单向止回阀
C、弹簧式安全阀
D、电动高压闸阀
点击查看答案
本题答案:D
本题解析:暂无解析
143、问答题 金属在高温下长期运行,会发生哪些组织性能的变化和损坏?
点击查看答案
本题答案:金属在高温下长期运行,不但会发生蠕变、断裂和应力松弛等
本题解析:试题答案金属在高温下长期运行,不但会发生蠕变、断裂和应力松弛等形变过程,而且还会发生一些组织和性能的变化甚至损坏。温度越高,变化速度越大,而这些变化在大多数情况下都会使金属的高温工作能力降低,影响其安全运行。
144、填空题 管道在穿过隔墙、楼板时,位于隔墙、楼板内的管段不得有()。这样做主要是便于()和()。
点击查看答案
本题答案:接口;安装;检修
本题解析:试题答案接口;安装;检修
145、填空题 管子连接的一种方法是法兰连接,一般采用()法兰在管子焊固以前,应使它垂直于(),并与管子()。
点击查看答案
本题答案:平焊钢质;管子中心线;同心
本题解析:试题答案平焊钢质;管子中心线;同心
146、单项选择题 主安全阀下阀体法兰使用()。
A、石棉垫
B、金属绑缠绕垫
C、普通金属齿形垫
D、不锈钢齿形垫
点击查看答案
本题答案:D
本题解析:暂无解析
147、单项选择题 珠光体耐热钢中加入的合金元素总含量一般在()以下。
A、7%
B、10%
C、15%
D、3%
点击查看答案
本题答案:A
本题解析:暂无解析
148、问答题 对管道系统的严密性试验有何要求?
点击查看答案
本题答案:(1)管道系统一般通过试水压进行严密性试验,试验时应将
本题解析:试题答案(1)管道系统一般通过试水压进行严密性试验,试验时应将系统内空气排尽,试验压力如无设计规定时,一般采用工作压力的1.25倍,但不得小于0.196MPa,对于埋于地下的压力管应不小于0.392Mpa
(2)管道系统进行严密性试验时,当压力达到试验压力后应保持5min,然后降压至工作压力进行全面检查,若无渗漏现象,即认为合格
(3)在进行管道系统严密性水压试验时,禁止再拧各接口的连接螺栓,试验过程如发现泄漏时,应降压消除缺陷后,再进行试验。
149、问答题 什么是珠光体球化?
点击查看答案
本题答案:珠光体球化是珠光体钢中原来的珠光体里的片层状渗碳体在高
本题解析:试题答案珠光体球化是珠光体钢中原来的珠光体里的片层状渗碳体在高温下长期运行,逐步改变自己的形状成为球状的现象。
150、填空题 金属发兰垫片(1Cr18Ni9Ti)可用于工作温度不大于()的法兰上。
点击查看答案
本题答案:600
本题解析:试题答案600
151、填空题 管道支吊架应无变形,吊架拉杆()管子,不能()。
点击查看答案
本题答案:应垂直于;歪斜
本题解析:试题答案应垂直于;歪斜
152、问答题 管道及附件的连接方式有哪几种?举例。
点击查看答案
本题答案:管道及附件的连接方式有三种:
(1)焊接连接
本题解析:试题答案管道及附件的连接方式有三种:
(1)焊接连接:如焊接阀门的装设
(2)法兰连接:如低压阀门和扩容器的法兰连接等
(3)螺纹连接:如暖汽管道和低压供水管道的螺纹接头等。
153、单项选择题 浓酸、强碱一旦溅到人体时,首先应采取()方法进行急救。
A、大量清水冲洗
B、碳酸氢钠溶液清洗
C、2%稀碱液中和
D、1%醋酸清洗
点击查看答案
本题答案:A
本题解析:暂无解析
154、填空题 阀门的研磨修复包括清洗和()过程,()过程及()过程。
点击查看答案
本题答案:检查;研磨;检验
本题解析:试题答案检查;研磨;检验
155、单项选择题 锅炉排污水进入扩容器后()。
A、容积扩大,压力降低
B、容积减少,压力升高
C、容积扩大,压力升高
D、容积减少,压力降低
点击查看答案
本题答案:A
本题解析:暂无解析
156、单项选择题 逆止阀是用于()。
A、防止管道中的流体倒流
B、调节管道中流体的流量及压力
C、起保证设备安全作用
点击查看答案
本题答案:A
本题解析:暂无解析
157、单项选择题 更换管子时,两个接口间的距离不得小于管子外径,且不少于()mm。
A、150
B、130
C、100
D、200
点击查看答案
本题答案:A
本题解析:暂无解析
158、单项选择题 阀杆的弯曲度不允许超过()mm。
A、0.05
B、0.1
C、0.2
点击查看答案
本题答案:B
本题解析:暂无解析
159、填空题 管道蠕变测量所用外经千分尺,应定期(),专人(),专人()。
点击查看答案
本题答案:校验;保管;专用
本题解析:试题答案校验;保管;专用
160、单项选择题 WR、ZR阀的门杆材料为()。
A、10CrMo910
B、13CrMo44
C、X19CrMoVNbN111
D、15Mo3
点击查看答案
本题答案:C
本题解析:暂无解析
161、问答题 计算题:已知某钢管热弯曲半径R=400mm,弯曲角度α=90°,试求弯头弧长?
点击查看答案
本题答案:
试题答案
162、单项选择题 X20CrMOV121(F12)属()耐热钢
A、珠光体
B、马氏体
C、铁素体
D、奥氏体
点击查看答案
本题答案:B
本题解析:暂无解析
163、填空题 为了减少流体在阀门中的流动阻力,球形阀的阀体应制成()型。
点击查看答案
本题答案:流线
本题解析:试题答案流线
164、问答题 脉冲安全阀解体后,应对哪些部件进行检查,如何检查?
点击查看答案
本题答案:(1)检查弹簧,宏观检查有无裂纹、折迭等缺陷。
本题解析:试题答案(1)检查弹簧,宏观检查有无裂纹、折迭等缺陷。
(2)测量弹簧自由高度。检查活塞环(胀圈套)有无缺陷,并测量其接口间隙活塞环放入活塞室内不准漏光,活塞内间隙为0.20~0.30毫米,活塞外自由状态时间隙为1毫米。并检查活塞和活塞室有无裂纹、沟槽和麻坑。
(3)检查阀头和阀座的密封面有无沟槽和麻坑等缺陷。
(4)检查主阀的阀杆有无弯曲,可将阀杆夹在车床上用千分表检查其弯曲度。
(5)检查副阀的杠杆支点,“刀口”有无磨损、磨钝等缺陷。
(6)检查法兰螺丝有无裂纹、拉长、丝扣损坏等缺陷,并由金相检验人员做进一步检查。
165、问答题 弯管时,管子的弯曲半径有何规定?为什么不能太小?
点击查看答案
本题答案:通常规定热弯管的弯曲半径不小于管子公称外径的3.5倍,
本题解析:试题答案通常规定热弯管的弯曲半径不小于管子公称外径的3.5倍,冷弯管的弯曲半径不小于管子公称外径的4倍。
若弯曲半径太小,则会使管子出现裂纹,严重地影响管子使用寿命,故通常要规定最小弯曲半径。
166、填空题 纵向裂纹是沿管道()发展的,在光滑的弯管外侧出现的纵向裂纹,可能是由于()及随后的热处理引起的()造成的。
来源:91考试网
点击查看答案
本题答案:轴向;弯制方向;附加应力
本题解析:试题答案轴向;弯制方向;附加应力
167、问答题 绘图题:画出脉冲安全阀系统图。
点击查看答案
本题答案:
试题答案
168、单项选择题 管子接口距离弯管起点不得小于管子外径,且不少于()mm。
A、100
B、150
C、200
D、110
点击查看答案
本题答案:A
本题解析:暂无解析
169、单项选择题 对于管径大于()的焊口,应采用双人对称焊,以减少焊接应力。
A、108
B、219
C、273
D、426
点击查看答案
本题答案:B
本题解析:暂无解析
170、填空题 汽水管道更换后应及时将更换管段的()、()、()、长度及更换前的损坏情况等技术数据记入检修台帐,必要时可画出示意图。
点击查看答案
本题答案:名称;位置;规格
本题解析:试题答案名称;位置;规格
171、单项选择题 高温高压管道及附件的连接方式是()连接。
A、法兰
B、焊接
C、弹性
D、绕性
点击查看答案
本题答案:B
本题解析:暂无解析
题库试看结束后
微信扫下方二维码即可打包下载完整版《★锅炉检修工考试》题库
手机用户可保存上方二维码到手机中,在微信扫一扫中右上角选择“从相册选取二维码”即可。
题库试看结束后微信扫下方二维码即可打包下载完整版《锅炉检修工考试:锅炉管阀检修高级工》题库,分栏、分答案解析排版、小字体方便打印背记!经广大会员朋友实战检验,此方法考试通过率大大提高!绝对是您考试过关的不二利器!
手机用户可保存上方二维码到手机中,在微信扫一扫中右上角选择“从相册选取二维码”即可。
微信搜索关注"91考试网"公众号,领30元,获取公务员事业编教师考试资料40G