手机用户可
保存上方二维码到手机中,在
微信扫一扫中右上角选择“从
相册选取二维码”即可。
1、问答题 油母管运行正常,包括那些方面?
点击查看答案
本题答案:1)母管油压、油温正常;
2)燃油母管快关阀
本题解析:试题答案1)母管油压、油温正常;
2)燃油母管快关阀开启;
3)油源正常。
2、填空题 旋流燃烧器的布置方法一般有()、()、顶棚布置和炉底布置四种。
点击查看答案
本题答案:前墙布置;两侧墙布置
本题解析:试题答案前墙布置;两侧墙布置
3、判断题 投入连排罐时,应缓慢开启连排三次门,对连排罐进行充分暖管。
点击查看答案
本题答案:对
本题解析:暂无解析
4、问答题 什么叫金属的疲劳?
点击查看答案
本题答案:金属在机械交变应力和温度交变压力的作用下,虽其应力远较
本题解析:试题答案金属在机械交变应力和温度交变压力的作用下,虽其应力远较强度极限小,有时甚至还低于屈服点,但仍可产生破坏,这种现象叫金属疲劳。在锅炉的承压容器中,压力的波动,特别是温度的波动,是发生疲劳破坏的原因。
5、填空题 发现汽水管道泄漏轻微时可继续()运行,请示值长停炉处理;严重损坏时并威胁人员与设备安全时应()。
点击查看答案
本题答案:监视、紧急停炉
本题解析:试题答案监视、紧急停炉
6、问答题 泵按其工作原理是如何分类的?
点击查看答案
本题答案:泵按其工作原理可分为叶轮式、容积式和其他型式三种。其中
本题解析:试题答案泵按其工作原理可分为叶轮式、容积式和其他型式三种。其中叶轮式又分为离心泵、轴流泵和混流泵、旋涡泵等;容积式有活塞泵、齿轮泵、螺杆泵和滑片泵等常用型式;其他类型中有真空泵、射流泵等几种。
7、问答题 炉本体正常水压试验和超水压试验的设备范围?
点击查看答案
本题答案:炉本体正常水压试验设备范围为除再热器系统的所有受热面管
本题解析:试题答案炉本体正常水压试验设备范围为除再热器系统的所有受热面管道、联箱、水位计、水位测量装置、温度测点、压力测点、就地压力表计、压力讯号、疏放水一次门前管道、减温水管道及给水管道。炉本体超水压试验的设备范围为除再热器系统的所有受热面管道、联箱、疏放水一次门前管道、临时压力表、减温水管道及给水管道。
8、问答题 底部蒸汽加热装置的结构如何?
点击查看答案
本题答案:该装置是沿着下联箱长度在下联箱内放有钢管,在钢管上开有
本题解析:试题答案该装置是沿着下联箱长度在下联箱内放有钢管,在钢管上开有直径5mm的小孔(孔数与水冷壁根数对应),并与引入外来的蒸汽管子连接,当投用时,由阀门控制进汽量。
9、判断题 锅炉上水时,应将汽包水位上至100mm,此水位为锅炉点火水位。
点击查看答案
本题答案:错
本题解析:锅炉上水时,应将汽包水位上至-100mm,此水位为锅炉点火水位。
10、问答题 过热器及再热器的型式有哪些?
点击查看答案
本题答案:(1)按照不同的传热方式,过热器和再热器可分为对流式、
本题解析:试题答案(1)按照不同的传热方式,过热器和再热器可分为对流式、辐射式和半辐射式三种形式。
(2)根据烟气和管内蒸气的相对流动方向又可分为顺流、逆流和混合流三种型式。
(3)根据管子的布置方式又可分为立式和卧式两种型式。
(4)根据管圈数量可分为单管圈、双管圈和多管圈三种型式。
11、填空题 当高压加热器故障,使给水温度()时,将引起过热蒸汽温度大幅度()。
点击查看答案
本题答案:降低;上升
本题解析:试题答案降低;上升
12、填空题 风机在不稳定区工作时,所产生的()和()脉动现象称为喘振。
点击查看答案
本题答案:压力、流量
本题解析:试题答案压力、流量
13、单项选择题 蒸汽压力越高,能溶解的盐类()。
A、越多
B、越少
C、维持不变
D、接近饱和
点击查看答案
本题答案:A
本题解析:暂无解析
14、问答题 脉冲安全门的工作原理?
点击查看答案
本题答案:当汽压超过规定值时,脉冲阀先行打开,蒸汽经导汽管引入主
本题解析:试题答案当汽压超过规定值时,脉冲阀先行打开,蒸汽经导汽管引入主阀活塞上面,蒸汽在活塞上的压力可以克服弹簧的作用力,帮将主阀打开排汽泄压,当压力降到一定数值后,脉冲阀关闭,活塞上的汽源中断,因此安全阀关闭。
15、单项选择题 停炉后()小时后可启动引风机通风冷却。
A、15;
B、18;
C、20。
点击查看答案
本题答案:B
本题解析:暂无解析
16、问答题 火焰检测冷却风机联锁内容?
点击查看答案
本题答案:a.正常情况下,一台运行,一台备用。b.控制方式置&l
本题解析:试题答案a.正常情况下,一台运行,一台备用。b.控制方式置“远方”位置时,当冷却风压低至750Pa(mmH2o)备用风机自启动。c.当一台跳闸时,另一台自动投入。
17、问答题 风机的启动主要有哪几个步骤?
点击查看答案
本题答案:(1)具有润滑油系统的风机应首先启动润滑油泵,并调整油
本题解析:试题答案(1)具有润滑油系统的风机应首先启动润滑油泵,并调整油压、油量正常;
(2)采用液压联轴器调整风量的风机,应启动辅助油泵对各级齿轮和轴承进行供油;
(3)启动轴承冷却风机;
(4)关闭出入口挡板或将动叶调零,勺位关到零位,保持风机空载启动;
(5)启动风机,注意电流回摆时间;
(6)电流正常后,调整出力至所需。
18、名词解释 循环倍率
点击查看答案
本题答案:1kg水在循环回路中,需经过多少次循环才能全部变成蒸汽
本题解析:试题答案1kg水在循环回路中,需经过多少次循环才能全部变成蒸汽。
19、问答题 一次风机跳闸的原因有哪些?
点击查看答案
本题答案:a.具备一次风机跳闸的条件之一
b.运行人员
本题解析:试题答案a.具备一次风机跳闸的条件之一
b.运行人员误操作或其他人员误动事故按钮?
20、问答题 计算题:某锅炉炉膛出口过剩空气系数是1.2,求该处的氧量?
点击查看答案
本题答案:解:O2=21(α-1)/α=
本题解析:试题答案解:O2=21(α-1)/α=21(1.2-1)/21=3.5%
该处氧量为3.5%。
21、填空题 锅炉的信号系统有两种,一种是()信号系统,一种是()信号系统。
点击查看答案
本题答案:热工、电气
本题解析:试题答案热工、电气
22、填空题 电了计算机的应用软件是由()编制的各种()。
点击查看答案
本题答案:用户;专业应用程序
本题解析:试题答案用户;专业应用程序
23、问答题 锅炉受热面在运行中存在哪些腐蚀?
点击查看答案
本题答案:(一)受热面烟气侧的腐蚀:(1)水冷壁管的硫腐蚀;(2
本题解析:试题答案(一)受热面烟气侧的腐蚀:(1)水冷壁管的硫腐蚀;(2)过热器管的高温硫腐蚀;(3)空气预热器的低温硫腐蚀。
(二)受热面工质侧的腐蚀:(1)垢下腐蚀;(2)氧腐蚀。
(三)受热面的应力腐蚀:(1)苛性脆化;(2)奥氏体钢应力腐蚀破裂;(3)交变应力腐蚀。
24、问答题 什么是“虚假水位”?在什么情况下容易出现虚假水位?
点击查看答案
本题答案:(1)汽包水位的变化不是由于给水量与蒸发量之间的物料平
本题解析:试题答案(1)汽包水位的变化不是由于给水量与蒸发量之间的物料平衡关系破坏所引起,而是由于工质压力突然变化,或燃烧工况突然变化,使水容积中汽泡含量增多或减少,引起工质体积膨胀或收缩,造成的汽包水位升高或下降的现象,称为虚假水位。“虚假水位”就是暂时的不真实水位,如:当汽包压力突降时,由于炉水饱和温度下降到相应压力下的饱和温度而放出大量热量并自行蒸发,于是炉水内气泡增加,体积膨胀,使水位上升,形成虚假水位;汽包压力突升,则相应的饱和温度提高,一部分热量被用于炉水加热,使蒸发量减少,炉水中气泡量减少,体积收缩,促使水位降低,同样形成虚假水位。
(2)下列情况下容易出现虚假水位:
1)在负荷突然变化时:负荷变化速度越快,虚假水位越明显;
2)如遇汽轮机甩负荷;
3)运行中燃烧突然增强或减弱,引起汽泡产量突然增多或减少,使水位瞬时升高或下降;
4)安全阀起座或旁路动作时,由于压力突然下降,水位瞬时明显升高;
5)锅炉灭火时,由于燃烧突然停止,锅水中汽泡产量迅速减少,水位也将瞬时下降。
25、判断题 由外界负荷突然增加而致使汽压突降,引起的水位上升是暂时的,如不增加给水量,水位就会下降。
点击查看答案
本题答案:对
本题解析:暂无解析
26、问答题 火电厂控制系统从常规仪表到分散控制系统的发展过程。
点击查看答案
本题答案:(1)随着火电生产规模的增大,常规仪表控制系有及个缺点
本题解析:试题答案(1)随着火电生产规模的增大,常规仪表控制系有及个缺点不能克服:
1)难以实现复杂的控制;
2)难以集中监控;
3)难以实现全厂综合管理;
4)灵活性差。
(2)计算机技术在60年代初有初步发展,利用计算机控制可解决以上问题,这就出现了集中计算机控制系统。它采用一台计算机对整个生产过程进行控制,这在一定程度上解决了常规控制仪表系统的缺点的同时,又存在着几个大的缺陷。特别是所有控制系统集中在一台中央计算机上,危险性很大,这一代产品并不成功。
(3)计算机与模拟仪表的混合式分散控制系统。控制交给下级的智能仪表,仪表的参数由计算机统一监视、记录。这一代系统的计算机不具备控制功能,仅监视信号及记录,控制由下级的智能仪表完成。
(4)70年代中期出现了分散式控制系统并发展多代,它的特点是:
1)控制交给各现场控制站控制。从硬件到功能分散,局部故障不影响整个系统;
2)实现集中监控,管理功能强大;
3)系统组成灵活,扩展方便。
27、填空题 逆止阀的作用是在该泵停止运行时,防止压力水管路中液体向泵内(),致使转子倒转,损坏设备或使压力管路()急剧下降。
点击查看答案
本题答案:倒流、压力
本题解析:试题答案倒流、压力
28、问答题 回转式空气预热器漏风的原因是什么?
点击查看答案
本题答案:由于烟气侧与空气侧存在压差,预热器动、静部分之间的间隙
本题解析:试题答案由于烟气侧与空气侧存在压差,预热器动、静部分之间的间隙不可避免要引起漏风。
影响漏风的原因:
(l)结构设计不良。密封装置在热态运行中补偿不足。
(2)制造工艺欠佳。加工精度不够,焊接质量差。
(3)安装与检修质量差。未能按设计要求安装和检修。
(4)运行与维护不当,造成预热器积灰和腐蚀及二次燃烧。
29、问答题 计算题:某台600MW机组年发电量为34.44亿KWH,求该机组的年利用小时数?
点击查看答案
本题答案:解:年利用小时=发电量/额定容量=34.44&time
本题解析:试题答案解:年利用小时=发电量/额定容量=34.44×10/6×10=5740h
该机组年利用小时为5740小时。
30、填空题 锅炉三冲量给水自动调节系统的三个信号是:()、()和()。
点击查看答案
本题答案:汽包水位、给水流量、蒸汽流量
本题解析:试题答案汽包水位、给水流量、蒸汽流量
31、填空题 烟气中过剩空气系数越大,则含氧量越()。
91EXAM.org
点击查看答案
本题答案:大
本题解析:试题答案大
32、问答题 点炉初期对汽包的要求?
点击查看答案
本题答案:1)汽包壁温差小于56℃
2)适当的进水与放
本题解析:试题答案1)汽包壁温差小于56℃
2)适当的进水与放水,促进水循环建立
3)水上至最低可见水位。
33、问答题 冷态启动前的检查项目?
点击查看答案
本题答案:1)各处平台、扶梯、栏杆等完整、牢固,地面整洁,通道畅
本题解析:试题答案1)各处平台、扶梯、栏杆等完整、牢固,地面整洁,通道畅通,各部照明良好。?
2)锅炉,烟风道等内外清洁,脚手架,临时支撑等全部拆除,所有人员撤离检修现场,各门孔关严。?
3)锅炉,烟风道等各部保温及罩壳完整,各膨胀装置完好,并无膨胀障碍,本体及汽水管道的弹簧吊回完好,烟风道支吊正常。?
4)锅炉各现场仪表及测量装置,热工、电气盘、柜及电缆等处外观完好。
5)锅炉操作、调节机构连接完好,周围空间无障碍物阻挡其动作,气动装置的控制气源在投运状态。锅炉各伸缩式吹灰器退出待用,测温探头退出待用,并在“遥控”方式。
34、判断题 炉膛内水冷壁结渣,会使过热蒸汽温度偏高。
点击查看答案
本题答案:对
本题解析:暂无解析
35、问答题 试述水分在煤中的含量及对燃烧的影响?
点击查看答案
本题答案:(1)煤样在102~105℃条件下干燥到恒重,失去的重
本题解析:试题答案(1)煤样在102~105℃条件下干燥到恒重,失去的重量就是全水分。水分含量从2%~60%不等, 随着煤化年代的增加,煤中水分逐渐减少;
(2)煤中的水分不利于燃烧,它会降低燃烧温度。燃料燃烧后,水分吸收热量转变为水蒸汽随烟气排入大气,降低锅炉效率,增大烟气量,同时给低温腐蚀创造了条件。
36、填空题 强化锅炉燃烧时,应先增加(),然后增加()。
点击查看答案
本题答案:送风量、燃料量
本题解析:试题答案送风量、燃料量
37、判断题 水泵内进空气将造成离心泵不打水。
点击查看答案
本题答案:对
本题解析:暂无解析
38、判断题 闪点越高的油发生火灾的危险性越大。
点击查看答案
本题答案:错
本题解析:闪点越低的油发生火灾的危险性越大。
39、判断题 锅炉的额定蒸发量为1000t/h。
点击查看答案
本题答案:错
本题解析:锅炉的额定蒸发量为670t/h。
40、判断题 热的传递方式有传导、对流、辐射三种。
点击查看答案
本题答案:对
本题解析:暂无解析
41、问答题 为什么要进行锅炉水压试验?
点击查看答案
本题答案:对于新装和大修后以及受热面大面积更换的锅炉,汽水管道的
本题解析:试题答案对于新装和大修后以及受热面大面积更换的锅炉,汽水管道的连接焊口成千上万,管材质量也不可能完全合乎标准,各个汽水阀门的填料、盘根等也需要动态检验,故在机组热态试运前,需要对汽水系统进行冷态的水压试验,以检验各承压部件的强度和严密性。然后根据水压试验时发生的渗漏、变形和损坏情况查找到承压部件的缺陷并及时加以处理。
42、问答题 锅炉过热器管损坏的原因有哪些?
点击查看答案
本题答案:1)蒸汽品质长期不合格,管壁内结垢或腐蚀,造成传热恶化
本题解析:试题答案1)蒸汽品质长期不合格,管壁内结垢或腐蚀,造成传热恶化。
2)管材质量不合格,焊接工艺差?
3)水冷壁结焦,使炉膛出口烟温升高,长期超温运行,使管壁过热疲劳
4)吹灰器安装不正确,冲刷磨损?
5)燃烧调整不当,火焰中心上移或火焰偏斜,造成过热器区域烟温升高或烟气侧热偏差过大。
6)管道内有杂特堵塞?
7)燃烧调整不当,火焰偏斜或煤粉太粗,使管壁磨损,火焰太长或过热器积灰结焦,造成
局部过热,
8)过热器结焦堵灰严重,形成烟气走廊,使流通部分烟气流速增大,加速冲刷磨损。
9)对过热器管未定期吹灰,造成过热器管长期结焦超温
10)吹灰器安装不正确,对过热器管造成冲刷磨损。
43、名词解释 锅炉
点击查看答案
本题答案:是将燃料的化学能转变为热能,又将热能传递给水,从而产生
本题解析:试题答案是将燃料的化学能转变为热能,又将热能传递给水,从而产生一定温度和压力的蒸汽或热水的设备.
44、单项选择题 排烟热损失是锅炉()排出的热烟气带走的物理热量占输入热量的百分率。
A、末级省煤器;
B、除尘器后;
C、末级空气预热器后。
点击查看答案
本题答案:C
本题解析:暂无解析
45、问答题 灰器的行程、参数、吹灰时间各为多少?
点击查看答案
本题答案:IK型吹灰器的行程是7.2m,IR吹灰器的行程是0.2
本题解析:试题答案IK型吹灰器的行程是7.2m,IR吹灰器的行程是0.267m;吹灰蒸汽的压力设计为1.96Mpa,温度为400℃;
IK吹灰器每次吹灰时间为7.5min,全吹一次的时间是3.375h;IR吹灰器每次吹灰时间为72s,全吹一次的时间是18min;全吹一次合计用时3.675h。
46、判断题 凡是经过净化处理的水都可以作为电厂的补给水。
点击查看答案
本题答案:错
本题解析:经过一定程序净化处理后的水可以作为电厂的补给水。
47、单项选择题 运行中管式空气预热器的主要问题是()。
A、腐蚀严重;
B、积灰腐蚀严重;
C、漏风严重;
D、磨损严重。
点击查看答案
本题答案:B
本题解析:暂无解析
48、判断题 饱和汽安全门排放的是汽包内的饱和蒸汽。
点击查看答案
本题答案:错
本题解析:饱和汽安全门排放的是集汽联箱内的过热蒸汽。
49、填空题 提高蒸汽初压力时,汽轮机末级湿度相应()。
点击查看答案
本题答案:增大
本题解析:试题答案增大
50、问答题 什么是风机的喘振?
点击查看答案
本题答案:喘振,顾名思义就象人哮喘一样,风机运行时,当负荷下降到
本题解析:试题答案喘振,顾名思义就象人哮喘一样,风机运行时,当负荷下降到一定数值,气体排送会出现强烈振荡,机身剧烈振动,风机出现周期性的出风与倒流,相对来讲,轴流式风机更容易发生喘振,严重的喘振会导致风机叶片疲劳损坏。
51、判断题 煤粉细度对汽温变化有一定的影响。
点击查看答案
本题答案:对
本题解析:暂无解析
52、问答题 直流式燃烧器为什么要采用四角布置的方式?
点击查看答案
本题答案:由于直流燃烧器单个喷口喷出的气流扩散角较小,速度衰减慢
本题解析:试题答案由于直流燃烧器单个喷口喷出的气流扩散角较小,速度衰减慢,射程较远。而高温烟气只能在气流周围混入,使气流周界的煤粉首先着火,然后逐渐向气流中心扩展,所以着火较迟,火焰行程较长,着火条件不理想。
采用四角布置时,四股气流在炉膛中心形成一直径600~800mm左右的假想切圆,这种切圆燃烧方式能使相邻燃烧器喷出的气流相互引燃,起到帮助气流点火的作用。同时气流喷入炉膛,产生强烈旋转,在离心力的作用下使气流向四周扩展,炉膛中心形成负压,使高温烟气由上向下回流到气流根部,进一步改善气流着火条件。由于气流在炉膛中心强烈旋转,煤粉与空气混合强烈,加速了燃烧,形成了炉膛中心的高温火球,而且由于气流的旋转上升延长了煤粉在炉内的燃尽时间,改善了炉内气流的充满程度。
53、单项选择题 连续排污的位置为()。
A、蒸发表面
B、汽包中心线
C、汽包底部
D、水冷壁下联箱
点击查看答案
本题答案:B
本题解析:暂无解析
54、填空题 过热蒸汽流程中进行左右交叉,有助于减轻沿炉膛方向由于()不均而造成热负荷不均的影响,也是有效减少过热器左右两侧()的重要措施。
点击查看答案
本题答案:烟温、热偏差
本题解析:试题答案烟温、热偏差
55、单项选择题 大容量锅炉一般采用()水冷壁。
A、膜式
B、光管式
C、丁爪式
点击查看答案
本题答案:A
本题解析:暂无解析
56、单项选择题 筒型磨煤机的转速为()Ar/m。
A、16~25;
B、30~50;
C、80~160。
点击查看答案
本题答案:A
本题解析:暂无解析
57、单项选择题 再热器冷段管壁温度不能超过()℃。
A、580
B、560
C、450
D、420
点击查看答案
本题答案:D
本题解析:暂无解析
58、单项选择题 滑启时饱和温度上升速度不允许超过()℃/min。
A、1
B、2
C、3
D、1.5
点击查看答案
本题答案:D
本题解析:暂无解析
59、问答题 再热器冷段疏水电动门联锁逻辑?
点击查看答案
本题答案:当再热器冷段疏水罐水位高Ⅱ值时,自动打开疏水电动门,当
本题解析:试题答案当再热器冷段疏水罐水位高Ⅱ值时,自动打开疏水电动门,当该水位低时,自动关闭疏水电动门。
60、问答题 简述轴流风机的工作原理?
点击查看答案
本题答案:当叶轮旋转时,气体从进风口轴向进入叶轮,受到叶轮上叶片
本题解析:试题答案当叶轮旋转时,气体从进风口轴向进入叶轮,受到叶轮上叶片的推挤而使气体的能量升高,然后流入导叶。导叶将偏转气流变为轴向流动,同时将气体导入扩压管,进一步将气体动能转换为压力能,最后引入工作管路。轴流风机的叶片一般都是可以转动角度的,大部分轴流风机都配有一套叶片液压调节装置。当风机运行时,通过叶片液压调节装置,可调节叶片的安装角,并保持在一定角度上,使其在变工况工作时仍具有较高的效率。
61、判断题 二级减温水减温幅度为7.8℃。
点击查看答案
本题答案:对
本题解析:暂无解析
62、问答题 省煤器漏泄的处理?
点击查看答案
本题答案:1)省煤器泄漏不严重能维持正常水位时,可以降压、降负荷
本题解析:试题答案1)省煤器泄漏不严重能维持正常水位时,可以降压、降负荷短时间运行并请示停炉。
2)省煤器管爆破不能维持正常水位时,应立即停炉。
3)停炉后应继续向锅炉上水并关闭所有排污门、放水门,水位维持不住应停止进水。
4)停止上水后严禁开启省煤器再循环门。
5)联系除尘分厂停止电除尘器运行。
63、填空题 磨煤机的机械轴承温度≤()
点击查看答案
本题答案:70℃
本题解析:试题答案70℃
64、填空题 由于炉水含盐量太大发生汽水共腾时,将使过热蒸汽温度()。
点击查看答案
本题答案:降低
本题解析:试题答案降低
65、问答题 风量变化对过热汽温有何影响?为什么?
点击查看答案
本题答案:在正常运行中,为保证燃料在炉内完全燃烧,必须保持一定的
本题解析:试题答案在正常运行中,为保证燃料在炉内完全燃烧,必须保持一定的过量空气系数。风量过大时,燃烧温度有时下降,烟气流速有所上升,使辐射吸热减少,对流吸热上升,因而汽温上升。风量过小时,会使汽温下降。
66、单项选择题 贮气罐与空气压缩机之间应装设()。
A、调节阀
B、节流阀
C、逆止阀
D、安全阀
点击查看答案
本题答案:C
本题解析:暂无解析
67、问答题 点火后,锅炉燃烧方面应重点注意什么?
点击查看答案
本题答案:(1)调节配风,逐步调节油、风比例适度。
(
本题解析:试题答案(1)调节配风,逐步调节油、风比例适度。
(2)就地观察炉膛火焰亮度,及烟囱冒烟情况,如果油枪雾化不好,油量太多,或油枪喷射火焰太短,应检查油枪是否堵塞或雾化片有问题,查明原因及时处理。
(3)为使锅炉受热均匀,应定期调换对角油枪。
(4)按升温升压曲线要求,适当调整油量或增投油枪个数。
(5)经常检查燃油系统有无漏油,防止火灾事故的发生。
(6)一般过热器后烟温达350℃,热风温度150℃以上时可投入煤粉燃烧器,但要注意防止汽温上升过快。
(7)如发生灭火,严禁采取“爆燃法”点火,应以不低于25%额定风量下通风吹扫5分钟且检查无异常后方可重新点火。
68、判断题 蒸汽带水量随着负荷的增加而降低。
点击查看答案
本题答案:错
本题解析:蒸汽带水量随着负荷的增加而增加。
69、问答题 球磨机空转有哪些危害?
点击查看答案
本题答案:按规程规定,球磨机空转时间不得大于10min,因为空转
本题解析:试题答案按规程规定,球磨机空转时间不得大于10min,因为空转时间长了,一方面钢球与钢球之间,钢球与波浪瓦之间的金属磨损增加。磨煤机正常运行和空转时所产生的磨损比是1:50。
另一方面磨煤机空转时,钢球与钢球之间,钢球与波浪瓦之间的撞击容易产生火花,产生火花又是制粉系统爆炸的原因之一。
70、问答题 锅炉净效率试验的目的?
点击查看答案
本题答案:锅炉净效率试验,就是要测出锅炉在运行中有效利用热量与自
本题解析:试题答案锅炉净效率试验,就是要测出锅炉在运行中有效利用热量与自用能量,据此确定锅炉设备运行的经济性。假若锅炉本身的工作性能很好,总效率很高,但锅炉辅助设备的自用能量很多,则也不是经济的。因此在锅炉设备的运行中应合理调整,尽量减少自用能量的消耗(即自用电量和自用蒸汽量)。
71、问答题 为什么热态启动时锅炉主汽温度应低于额定值?
点击查看答案
本题答案:热态启动时对锅炉本身来说,实际上是把冷态启动的全过程的
本题解析:试题答案热态启动时对锅炉本身来说,实际上是把冷态启动的全过程的某一阶段作为起始点。当机组停止运行后,锅炉的冷却要比汽轮机快得多。
如果汽轮机处于半热态或热态时,锅炉可能已属冷态,这样锅炉的启动操作基本上按冷态来进行升温、升压,为尽量满足热态下汽轮机冲转要求的参数,需投入较多的燃料量,但此时仅靠旁路系统和向空排汽的蒸汽量是不够的,使得蒸汽温度上升较快,且壁温又高。
又由于燃烧室和出口烟道宽度较大,炉内温度分布不均,过热器蛇形管圈内蒸汽流速也不均,温度差较大,造成过热器管局部超温。为避免过热器的超温,延长其使用寿命,因此要规定在启动过程中主汽温度应低于额定值50~60℃。
72、单项选择题 对电厂锅炉而言,热损失最小的一项是()损失。
A、排烟热
B、未完全燃烧热
C、散热
D、灰渣物理热
点击查看答案
本题答案:D
本题解析:暂无解析
73、判断题 磨煤机停止后应立即关闭一次风挡板。
点击查看答案
www.91exAm.org
本题答案:错
本题解析:磨煤机停止30分钟后关闭一次风挡板。
74、问答题 电除尘器的组成部件有哪些?
点击查看答案
本题答案:电除尘器由集尘极(阳极)、电晕极(放电极、阴极)、振打
本题解析:试题答案电除尘器由集尘极(阳极)、电晕极(放电极、阴极)、振打装置、气流分布装置、壳体以及排灰装置等组成。
75、填空题 一定压力下,液体加热到一定温度时开始(),虽然对它继续加热,可其()温度保持不变,此时的温度即为饱和温度。
点击查看答案
本题答案:沸腾、沸点
本题解析:试题答案沸腾、沸点
76、问答题 水位保护动作的条件?
点击查看答案
本题答案:1)水位达+250mm时,延时10秒水位保护动作;本题解析:试题答案1)水位达+250mm时,延时10秒水位保护动作;
2)水位达-200mm时,延时5秒水位保护动作。
77、判断题 锅炉过热器出口温度为540℃。
点击查看答案
本题答案:对
本题解析:暂无解析
78、问答题 何谓水锤?有何危害?如可防止?
点击查看答案
本题答案:水锤:在压力管路中,由于液体流速的急速变化,从而造成管
本题解析:试题答案水锤:在压力管路中,由于液体流速的急速变化,从而造成管中液体的压力显著、反复、迅速地变化,对管道有一种"锤击"的特征,称这种现象为水锤(或叫水击)。危害:水锤有正水锤和负水锤。当正水锤时:管道中的压力升高,可以超过管中正常压力的几十倍至几百倍,以致使管壁材料产生很大的压力,而压力的反复变化将引起管道和设备的振动,管道的应力交变变化,都将造成管道、管件和设备的损坏。负水锤时:管道中的压力降低,也会引起管道和设备振动,应力交替变化,对设备有不利的影响。同时,负水锤时,如压力降得过低,可能使管中产生不利的
79、问答题 锅炉为什么要加药?
点击查看答案
本题答案:锅炉内加药的主要作用是:
(1)与锅水残存的
本题解析:试题答案锅炉内加药的主要作用是:
(1)与锅水残存的钙镁盐类混合,生成疏松状态的沉淀物,然后通过排污管排出,防止这些盐类在受热面内形成水垢;
(2)使锅水碱度PH值适当提高,有助于防止汽包、•水冷壁金属发生酸性腐蚀,以减少蒸汽对硅酸的选择性携带。保持锅炉正常加药,维持适当的磷酸根离子过剩量,是防止锅炉结垢的一个重要措施。
80、问答题 国外先进电业技术水平的重要标志是什么?
点击查看答案
本题答案:是大电网、大电厂、大机组、高电压、高参数、高度自动化。
本题解析:试题答案是大电网、大电厂、大机组、高电压、高参数、高度自动化。
81、单项选择题 当烟气横向冲刷受热面管束时,磨损较严重的受热面管束布置方式是()。
A、错列管束;
B、顺列管束。
点击查看答案
本题答案:A
本题解析:暂无解析
82、问答题 什么是直流锅炉的启动压力?启动压力的高低对锅炉有何影响?
点击查看答案
本题答案:直流锅炉、低循环倍率锅炉和复合循环锅炉启动时,为保证蒸
本题解析:试题答案直流锅炉、低循环倍率锅炉和复合循环锅炉启动时,为保证蒸发受热面的水动力稳定性所必须建立的给水压力,称为启动压力。
直流锅炉给水是一次通过锅炉各受热面的,所以,锅炉一点火就要依靠一定压力的给水,流过蒸发受热面进行冷却。但直流锅炉启动时一般不是一开始就在工作压力下工作,而是选择某一较低的压力,然后再过度到工作压力。启动压力的高低,关系到启动过程的安全性和经济性。
启动压力高,汽水密度差小,对改善蒸发受热面水动力特性、防止蒸发受热面产生脉动、减小启动时的膨胀量都有好处。但启动压力高,又会使给水泵电耗增大,加速给水阀门的磨损,并能引起较大的振动和噪声。目前,国内亚临监界参数直流锅炉,启动压力一般选为6.8~7.8MPa。
83、问答题 煤粉燃烧器应满足哪些要求?
点击查看答案
本题答案:(1)一、二次风出口截面能保证适当的一、二次风风速比;
本题解析:试题答案(1)一、二次风出口截面能保证适当的一、二次风风速比;(2)要有足够的扰动性,能使风粉很好的混合;(3)风阻要小;(4)扩散角可以在一定范围内任意调整;(5)沿燃烧器出口截面的煤粉分布要均匀。
84、问答题 锅炉水压试验时如何规定的?
点击查看答案
本题答案:锅炉大小修或局部受热面临修后,必须进行常规水压试验,其
本题解析:试题答案锅炉大小修或局部受热面临修后,必须进行常规水压试验,其试验压力应等于汽包工作压力,锅炉的超水压试验应按《蒸汽锅炉安全监察规程》的规定,定期进行,其试验压力为汽包工作压力的1.25倍,再热器为工作压力的1.5倍,锅炉的超水压试验应由总工程师或其指定的专责人员在现场指挥。
85、问答题 影响锅炉整体布置的因素有哪些?
点击查看答案
本题答案:影响锅炉整体布置的因素主要有蒸汽参数、锅炉容量、燃料性
本题解析:试题答案影响锅炉整体布置的因素主要有蒸汽参数、锅炉容量、燃料性质以及热风温度等。
86、问答题 锅炉事故处理的总原则是什么?
点击查看答案
本题答案:(1)运行人员应准确判断事故原因;正确消除事故根源;解
本题解析:试题答案(1)运行人员应准确判断事故原因;正确消除事故根源;解除人身、设备威胁;防止引起事故扩大。
(2)在保证人身及设备安全的前提下,尽量维持锅炉运行,必要时转移负荷至其他机组,保证用户供电及厂用供电。
(3)紧急停炉时应及时通知调度系统,以便统一调配负荷。
(4)单元制机组紧急停炉时,为保证汽轮机的安全,停炉后不应立即关闭锅炉主汽门,应待停机后再关闭。
87、填空题 锅炉()与()的比值称为水循环倍率。其数值()水循环越安全。
点击查看答案
本题答案:上升管入口的循环水量、上升管出口的蒸汽量、越大
本题解析:试题答案上升管入口的循环水量、上升管出口的蒸汽量、越大
88、判断题 锅炉启炉过程中,为保护汽包,锅炉补水时,应开启省煤器再循环门。
点击查看答案
本题答案:错
本题解析:锅炉启炉过程中,当停止锅炉上水时,应开启省煤器再循环门。
89、问答题 简述湿法脱硫的优缺点?
点击查看答案
本题答案:优点:技术先进成熟,运行安全可靠,脱硫效率较高,适用于
本题解析:试题答案优点:技术先进成熟,运行安全可靠,脱硫效率较高,适用于大机组,煤质适应性广,副产品可回收等。缺点:系统复杂,设备庞大,占地面积大,一次性投资多,运行费用较高,耗水量大。
90、填空题 三相异步电动机的转子根据结构上的不同。分为()式和()式两种型式。
点击查看答案
本题答案:鼠笼;绕线
本题解析:试题答案鼠笼;绕线
91、单项选择题 机组运行中,主蒸汽压力超过105%的瞬间压力波动时间一年内的总和应小于()。
A、10小时
B、11小时
C、12小时
点击查看答案
本题答案:C
本题解析:暂无解析
92、单项选择题 离心式水泵一般只采用()叶片叶轮。
A、后弯式
B、前弯式
C、径向式
点击查看答案
本题答案:A
本题解析:暂无解析
93、问答题 怎样才能放掉垂直过热器管内积水?
点击查看答案
本题答案:水压试验后,可采用以下方法放掉垂直过热器管内积水:本题解析:试题答案水压试验后,可采用以下方法放掉垂直过热器管内积水:
(1)打开事故放水门(不开向空排汽和空气门〕。
(2)待汽包压力降到零的同时,打开向空排汽门,利用虹吸原理将过热器管内积水放掉。
(3)汽包水位达到锅炉点火水位时,关事故放水门,开启汽包上部空气门。
94、问答题 锅炉有哪些热损失?
点击查看答案
本题答案:(1)排烟热损失;
(2)化学不完全燃烧热损
本题解析:试题答案(1)排烟热损失;
(2)化学不完全燃烧热损失;
(3)机械不完全燃烧热损失;
(4)散热损失;
(5)灰渣物理热损失。
95、问答题 热风再循环的作用是什么?
点击查看答案
本题答案:热风再循环的作用就是从空气预热器出口引出部分热空气,再
本题解析:试题答案热风再循环的作用就是从空气预热器出口引出部分热空气,再送回到入口风道内,以提高空气预热器入口风温。
这样可以提高空气预热器受热面壁温,防止预热器受热面的低温腐蚀,同时还可提高预热器出口风温。但使排烟温度提高,降低了锅炉热效率。
96、问答题 给煤机的启动前检查?
点击查看答案
本题答案:1)给煤机设备完整,内部无杂物,落煤插板开启,检查孔关
本题解析:试题答案1)给煤机设备完整,内部无杂物,落煤插板开启,检查孔关闭,照明充足;
2)二次风开启;
3)相应的磨煤机启动。
97、填空题 水蒸汽凝结放热时,其温度(),主要是通过蒸汽凝结放出()而传递热量的。
点击查看答案
本题答案:保持不变、汽化潜热
本题解析:试题答案保持不变、汽化潜热
98、问答题 锅炉满水后如何处理?
点击查看答案
本题答案:1)水位超过+120mm时,校对水位计,将自动改为手动
本题解析:试题答案1)水位超过+120mm时,校对水位计,将自动改为手动减少给水量
2)水位超过+160mm时,开启事故放水门,继续减少给水量?
3)经放水后,水位无明显下降,且水位上升较快时,联系汽机停一台给水泵
4)严密监视汽温,关小或关闭减温器进水门,必要时开启加热器疏水
5)水位超过+300mm时,立即手动MFT紧急停炉,停炉后加强放水,并注意水位变化情况?
6)水位正常后,停止放水,汇报值长,查明故障原因,消除后重新点火
99、问答题 火电厂热力系统主要有哪几部分组成?
点击查看答案
本题答案:主蒸汽系统,回热抽汽系统,主凝结水系统,除氧器和给水泵
本题解析:试题答案主蒸汽系统,回热抽汽系统,主凝结水系统,除氧器和给水泵的连接系统,补充水系统,锅炉连续排污利用系统等。此外,热电厂还有对外供热系统。
100、问答题 什么是挥发分?是否包括煤中的水分?
点击查看答案
本题答案:失去水分的煤样,在隔绝空气条件下加热至850(&plu
本题解析:试题答案失去水分的煤样,在隔绝空气条件下加热至850(±20)℃,使燃料中有机物分解而析出的气体产物,称为挥发分。
挥发分不包括水分。
101、问答题 论述转动机械试运基本要求?
点击查看答案
本题答案:(1)接到辅机试运通知后,应确认热机、电气、热控所有检
本题解析:试题答案(1)接到辅机试运通知后,应确认热机、电气、热控所有检修工作结束,工作票在押或收回,新安装设备需要具有各有关单位会签的试运申请单
(2)确认启动前无自转,盘车360度且合格,对拆掉电源线检修后或第一次启动的转机,要试验转机转动方向正确。
(3)新安装的转动机械,启动后连续时间不少于8h,大小修的转动机械不少于30min。
(4)转动机械启动后,逐渐增加负荷,不应带负荷启动,风机试运行时应进行最大负荷试验,风机转动时应保持炉膛负压。对泵类转动机械,水泵类启动前应将泵内注满水,出口门应处于关闭状态。
(5)给粉机、给煤机、螺旋输粉机不应带负荷试转,要预先将入口进料插板关闭严密。
(6)初次启动钢球磨煤机,大罐内不应加钢球,试转正常后方可加钢球。带钢球试转时间不大于10min。
(7)中速磨煤机要带负荷进行启动试验。
(8)滚动轴承温度一般不超过80℃,滑动轴承温度一般不超过70℃。
(9)轴承振动值:
(10)进行动平衡工作时,启动间隔应掌握以下原则:
102、判断题 风扇磨煤机启动前必须开启一次风挡板。
点击查看答案
本题答案:对
本题解析:暂无解析
103、填空题 燃烧调整的目的是:保证合格的蒸汽参数,提高燃烧的()、(),消除(),防止锅炉()、堵灰、积结油垢、()、金属材料过热。
点击查看答案
本题答案:经济性、稳定性、热偏差、结渣、低温腐蚀
本题解析:试题答案经济性、稳定性、热偏差、结渣、低温腐蚀
104、问答题 风机调节挡板的作用是什么?一般装在何处?
点击查看答案
本题答案:风机调节挡板亦即导流器,其作用是:
(1)用
本题解析:试题答案风机调节挡板亦即导流器,其作用是:
(1)用以调节风机流量大小;
(2)风机启动时关闭,可避免电机带负荷启动,烧坏电机。
一般安装在风机进口集流器之前。
105、填空题 燃料按其物态可分为()、()和()燃料。
点击查看答案
本题答案:固体、液体、气体
本题解析:试题答案固体、液体、气体
106、问答题 什么叫锅炉临界负荷?
点击查看答案
本题答案:在蒸汽压力和炉水含盐量一定的条件下,锅炉负荷开始增加时
本题解析:试题答案在蒸汽压力和炉水含盐量一定的条件下,锅炉负荷开始增加时,蒸汽带水也随之有少量增加,但当锅炉负荷增加到某一数值后再继续增加负荷,蒸汽带水量则急剧增加,该负荷称为锅炉临界负荷,锅炉超过临界负荷运行时,蒸汽品质会严重恶化,将造成过热蒸汽温度急剧下降。
107、单项选择题 锅水中的硅酸和硅酸盐可以相互转化,若使硅酸转变为难溶于蒸汽的硅酸盐时,可提高锅水的()。
A、酸度;
B、碱度;
C、硬度。
点击查看答案
本题答案:B
本题解析:暂无解析
108、问答题 转动机械紧急停止的条件?
点击查看答案
本题答案:1)发生人身事故无法脱险时;
2)轴承温度不
本题解析:试题答案1)发生人身事故无法脱险时;
2)轴承温度不正常升高或超过规定值;
3)电动机转子和静子发生严重磨擦或电动机冒烟起火时;
4)机发生火灾或被水淹时;
5)转子和外壳发生严重磨擦或撞击时。
109、问答题 锅炉的热态启动有何特点?
点击查看答案
本题答案:(1)点火前即具有一定的压力和温度,所以点火后升压、升
本题解析:试题答案(1)点火前即具有一定的压力和温度,所以点火后升压、升温可适当加快速度;
(2)因热态启动时升压、升温变化幅度较小,故允许变化率较大;
(3)极热态启动时,因过热器壁温很高,故应合理使用对空排汽和旁路系统,防止冷汽进入过热器产生较大热应力,损坏过热器。
110、问答题 过热器管道泄漏和爆破时的现象有哪些?
点击查看答案
本题答案:(1)过热器附近有泄漏声,严重时炉膛负压变正,从孔、&
本题解析:试题答案(1)过热器附近有泄漏声,严重时炉膛负压变正,从孔、•门处向外喷烟气和蒸汽;(2)过热蒸汽流量不正常地小于给水流量,汽压降低;(3)过热器损坏侧烟气温度降低;(4)过热蒸汽温度发生变化;(5)屏式过热器爆破造成燃烧不稳定或灭火。
111、名词解释 煤的发热量
点击查看答案
本题答案:1kg煤完全燃烧时放出的热量。
本题解析:试题答案1kg煤完全燃烧时放出的热量。
112、填空题 减温器喷嘴堵塞时,堵塞侧汽温不正常地(),两侧汽温差值(),减温水量()。
点击查看答案
本题答案:升高、增大、偏小
本题解析:试题答案升高、增大、偏小
113、问答题 炉膛结焦的原因是什么?
点击查看答案
本题答案:炉膛内结焦的原因很多,大致有如下几点:
(1
本题解析:试题答案炉膛内结焦的原因很多,大致有如下几点:
(1)灰的性质。灰的熔点越高,越不容易结焦。反之,熔点越低,就越容易结焦。
(2)周围介质成分对结焦的影响也很大。燃烧过程中,由于供风不足或燃料与空气混合不良,使燃料未达到完全燃烧,未完全燃烧将产生还原性气体,灰的熔点就会大大降低。
(3)运行操作不当,使火焰发生偏斜或一、二次风配合不合理,一次风速过高,颗粒没有完全燃烧,而在高温软化状态下粘附到受热面上继续燃烧,而形成结焦。
(4)炉膛容积热负荷过大。锅炉超出力运行,炉膛温度过高,灰粒到达水冷壁面和炉膛出口时,还不能够得到足够的冷却,从而造成结焦。
(5)吹灰、除焦不及时。造成受热面壁温升高,从而使受热面产生严重结焦。
114、填空题 燃烧必须具备三个条件,即要有()要有()要有()。
点击查看答案
本题答案:可燃物质;助燃物质;足够的温度和热量或明火
本题解析:试题答案可燃物质;助燃物质;足够的温度和热量或明火
115、问答题 锅炉漏风的危害?
点击查看答案
本题答案:锅炉漏风包括炉膛漏风,烟道漏风,空预器漏风,漏风对锅炉
本题解析:试题答案锅炉漏风包括炉膛漏风,烟道漏风,空预器漏风,漏风对锅炉运行的安全性和经济性有很大影响。
漏风增加了排烟量,也提高了排烟温度排烟损失增大,锅炉效率降低,吸风机出力增加,受热面磨损加剧。
炉膛特别是炉底漏风,降低炉膛温度,抬高火焰中心,引起炉膛出口烟温升高,当高负荷炉膛大量漏风时,过热器有超温的危险,当低负荷炉膛大量漏风时,又能引起燃烧不稳定,或不完全燃烧损失增加,甚至会发生灭火。
预热器漏风会使空气短路进入吸风机,吸风机电耗增加,炉膛负压维持不好,可能会迫使锅炉减负荷,可能使送风量不足,即使加大送风机出力,还不能满足所需送风量,不完全燃烧损失增加,造成锅炉带不上负荷,引起结焦,预热器传染效果差。
116、问答题 停止油枪的操作?
点击查看答案
本题答案:1)关闭油速断阀、开启供油门;
2)开启蒸汽
本题解析:试题答案1)关闭油速断阀、开启供油门;
2)开启蒸汽吹扫速断阀、蒸汽吹扫截门进行吹扫;
3)吹扫1小时完毕后,关闭蒸汽吹扫速断阀和蒸汽吹扫截门;
4)将油枪退出。
117、问答题 为什么要进行锅炉的吹管?
点击查看答案
本题答案:锅炉汽水系统中的部分设备如减温水、启动旁路、过热器、再
本题解析:试题答案锅炉汽水系统中的部分设备如减温水、启动旁路、过热器、再热器管路系统等,由于结构、材质、布置方式等原因不适合化学清洗,所以新装锅炉在正式投运前需用物理方法清除内部残留的杂物,故利用本炉产生的蒸汽对汽水系统及设备进行吹管处理。
118、填空题 热力学第一定律的实质是()与()在热力学上应用的一种特定形式。
点击查看答案
本题答案:能量守恒、转换定律
本题解析:试题答案能量守恒、转换定律
119、名词解释 水管锅炉
点击查看答案
本题答案:受热面管子中流动的是水或蒸汽,管外是火或烟气的锅炉。<
本题解析:试题答案受热面管子中流动的是水或蒸汽,管外是火或烟气的锅炉。
120、判断题 安全门定砣时,高巡应在就地监视汽包水位。
点击查看答案
本题答案:错
本题解析:安全门定砣时,高巡应在就地监视汽包压力。并与单元对照。
121、填空题 &n bsp;卡诺循环热效率的大小与采用工质的()无关,仅决定于()的温度。
点击查看答案
本题答案:性质;高低温热源
本题解析:试题答案性质;高低温热源
122、问答题 简述四角布置直流燃烧器的工作原理?
点击查看答案
本题答案:在布置有直流燃烧器的锅炉中,一般都将喷燃器在炉膛四角布
本题解析:试题答案在布置有直流燃烧器的锅炉中,一般都将喷燃器在炉膛四角布置。这样当四股一次风气流到达炉膛中心位置时,形成一个旋转切圆,且随着引、送风气流的取向,产生自下而上、旋涡状燃烧气流。同时四股一次风气流冲向下游一次风火嘴,有利于煤粉的着火。
123、填空题 当锅炉水冷壁内结垢后,可造成传热(),管壁温度()。
点击查看答案
本题答案:减弱、升高
本题解析:试题答案减弱、升高
124、判断题 汽包水位的变化与给水压力无关。
点击查看答案
本题答案:错
本题解析:汽包水位的变化与给水压力有关。
125、问答题 现代大型锅炉为何多采用非沸腾式省煤器?
点击查看答案
本题答案:从整台锅炉工质所需热量的分配来看,随着参数的升高,饱和
本题解析:试题答案从整台锅炉工质所需热量的分配来看,随着参数的升高,饱和水变成饱和汽所需的汽化潜热减小,液体热增加。因而所需炉膛蒸发受热面积减少,加热工质的液体热所需的受热面(省煤器)增加。锅炉参数越高,容量越大,炉膛尺寸和炉膛放热越大,为防止锅炉炉膛结渣,保证锅炉安全运行,必须在炉膛内敷设足够的受热面,将炉膛出口烟温降到允许范围。为此,将工质的部分加热转移到由炉膛蒸发受热面完成,这相当于由辐射蒸发受热面承担了省煤器的部分吸热任务。
另外,省煤器受热面主要依靠对流传热,而炉膛内依靠辐射换热,其单位辐射受热面(水冷壁)的换热量,要比对流受热面(省煤器等)传热量大许多倍。因此,把加热液体热的任务移入炉膛受热面完成,可大大减少整台锅炉受热面积数,减少钢材耗量,降低锅炉造价;另外,提高给水的欠焓,对锅炉水循环有利。所以,现代高参数大容量锅炉的省煤器一般都设计成非沸腾式。
126、填空题 锅炉点火初期,加强水冷壁下联箱放水,其目的是促进(),使受热面受热(),以减少汽包壁()。
点击查看答案
本题答案:水循环、均匀、温差
本题解析:试题答案水循环、均匀、温差
127、问答题 锅炉受热面积灰的原因是什么?
点击查看答案
本题答案:飞灰颗粒尺寸是不均匀的,一般都小于200μm,相
本题解析:试题答案飞灰颗粒尺寸是不均匀的,一般都小于200μm,相当一部分为10~30μm。对于小于3μm的灰粒,分子引力比本身重量还大,当这些细小灰粒与金属表面接触时,粘附在表面上。含灰烟气流动时,烟气中灰粒会因静电感应而带电,带电荷的灰粒与管壁接触,当静电引力大于灰粒本身重量时,灰粒就吸附在管壁上,形成积灰。沉积在受热面上的灰粒都是10~30μm以下的细灰粒。
由于烟气流过管子时流线发生变化,并在管子背面产生涡流区,使管子背后积灰严重。同时背后的积灰又不易被较大颗粒的飞灰冲刷掉,因此管子背面积灰最厚,管子正面(迎风面)积灰较少。如果烟气流速降低,这部分积灰将增加,但当气流速度提高后,由于较大颗粒飞灰的冲刷,积灰将减少,特别是正面的积灰将大大减轻。因此要求在额定负荷时,烟速不能低于6m/s,低负荷时烟速不得低于3m/s,以免发生积灰堵塞。
128、问答题 锅炉滑参数停用的特点和注意事项?
点击查看答案
本题答案:特点:
(1)滑参数停炉是锅炉仍以压力和温度
本题解析:试题答案特点:
(1)滑参数停炉是锅炉仍以压力和温度逐渐降低的蒸汽供应汽轮机,逐步降低负荷,控制单元机组的联合停运方式。
(2)充分利用锅炉余热发电。
(3)利用温度逐渐降低的蒸汽使汽轮机部件得到比较均匀地和较快地冷却。
(4)可以缩短从停机到开机的时间。
注意事项:
(1)停炉前全面吹灰一次。
(2)及时调整燃料量和风量,保持燃烧稳定,严密监视水位。
(3)油枪投入后应投入空气预热器连续吹灰,注意排烟温度以防尾部烟道发生二次燃烧,同时停运电除尘。
(4)严格控制降温降压速度,避免波动太大。一般主汽压力下降不大于0.05MPa/mi,主、再汽温度下降不大于1~1.5℃/min。
(5)汽温要保持50℃以上的过热度。防止汽温大幅度变化,尤其使用减温水降低汽温时更要特别注意。
(6)在滑参数停炉过程中,始终要监视和确保汽包上下壁温差不大于40℃。
(7)为防止汽轮机停机后的汽压回升,应使锅炉熄火时的负荷尽量降低。
(8)锅炉熄火时应上水至较高水位,防止水位下降过快。
(9)当空气预热器进口烟温在150度以上时,应注意监视。
(10)停炉后应严密关闭各风门档板,冬季停炉还要做好防寒防冻措施。
129、单项选择题 水在汽化时,吸收汽化潜热,其温度()。
A、上升
B、下降
C、不变
D、无法判定
点击查看答案
本题答案:C
本题解析:暂无解析
130、问答题 省煤器的哪些部位容易磨损?
点击查看答案
本题答案:(1)当烟气从水平烟道进入布置省煤器的垂直烟道时,由于
本题解析:试题答案(1)当烟气从水平烟道进入布置省煤器的垂直烟道时,由于烟气转弯流动所产生的离心力的作用,使大部分灰粒抛向尾部烟道的后墙,使该部位飞灰浓度大大增加,造成锅炉后
墙附近的省煤器管段磨损严重。
(2)省煤器靠近墙壁的管子与墙壁之间存在较大的间隙或管排之间存在有烟气走廊时,由于烟气走廊处烟气的流动阻力要比其他处的阻力小得多,该处的流速就高.故处在烟气走廊旁边的管子或弯头就容易受到严重磨损。实践证明.管束中烟气流速4~5m/s,而烟气走廊里的流速就要高达12-15m/s,为前者的3~4倍,其磨损速度就要高几十倍,这是因为管子被磨损的程度大约与烟速的三次方成正比的缘故。
131、单项选择题 ()是产生电晕、建立电场的最主要构件。
A、电晕极系统
B、收尘极系统
C、槽形板系统
D、高压供电系统
点击查看答案
本题答案:A
本题解析:暂无解析
132、问答题 高加跳时锅炉专业的处理?
点击查看答案
本题答案:1)减负荷或保持负荷不超过180MW;
2)
本题解析:试题答案1)减负荷或保持负荷不超过180MW;
2)监视再热汽压力不超过规定值;
3)联系汽机人员尽快恢复高压加热器运行;
4)保持汽包水位在规定范围内,必要时改为手动;
5)控制好汽温。
133、问答题 B.设备启动前有何检查内容?
点击查看答案
本题答案:(1)检查与启动设备有关的 工作票已收回,就地检查全部工
本题解析:试题答案(1)检查与启动设备有关的工作票已收回,就地检查全部工作人员撤出现场。检查设备
及其周围无杂物且照明充足。
(2)检查设备外观完整,连接牢靠,转动部分的安全罩应装复。人孔门关闭严密,地脚螺丝、联结螺栓无松动。设备有关表计应投运。
(3)检查设备轴承已加好润滑油,油质、油位、油温符合要求。设备的冷却水或密封水已投入正常,辅机及电动机各部分的温度应符合要求。
(4)检查电动机接线牢固、接地线良好,测量绝缘应合格。
(5)检查设备就地事故按扭接线良好,安全罩齐全。
(6)对有关油、水系统和泵体充油、充水,放尽空气。
(7)对可以进行手动盘动的辅助设备,均应盘动转子,确认转动灵活,无卡涩现象。
(8)辅助设备启动前检查工作完成,确认启动条件具备后,送上辅机及有关系统装置动力电源及控制电源。
134、填空题 燃烧生成的理论烟气量由()容积、()容积、()容积和()容积组成。
点击查看答案
本题答案:二氧化碳;二氧化硫;理论氮;理论水蒸汽
本题解析:试题答案二氧化碳;二氧化硫;理论氮;理论水蒸汽
135、问答题 水冷壁的作用是什么?
点击查看答案
本题答案:水冷壁是锅炉的主要蒸发设备。它的主要作用是:Τ
本题解析:试题答案水冷壁是锅炉的主要蒸发设备。它的主要作用是:⑪吸收炉膛和火焰的高温辐射热,使进入锅炉的水逐步蒸发成饱和蒸汽;⑫保护炉墙。由于炉膛四周敷设了水冷壁,使炉墙温度大大下降,可避免烧坏,同时防止炉墙结焦和熔渣对炉墙的侵蚀。⑬简化炉墙结构。当采用敷管式炉墙时,水冷壁本身还可悬吊炉墙,可使炉墙重量减轻。
136、填空题 空气预热器一般可分为()式和()式两种。
点击查看答案
本题答案:管;回转
本题解析:试题答案管;回转
137、填空题 脱硫系统大小修后,必须经过(),(),整体传动试验合格后方能启动。
点击查看答案
本题答案:分段验收,分部试运行
本题解析:试题答案分段验收,分部试运行
138、问答题 何为煤的低位发热量?
点击查看答案
本题答案:1Kg燃料在完全燃烧时所发出的全部热量,扣除烟气中水蒸
本题解析:试题答案1Kg燃料在完全燃烧时所发出的全部热量,扣除烟气中水蒸汽的汽化潜热后的热量,称为燃料的低位发热量。
139、单项选择题 轴流泵输送液体的特点是()。
A、流量大,扬程高
B、流量小,扬程高
C、流量小,扬程低
D、流量大,扬程低
点击查看答案
本题答案:D
本题解析:暂无解析
140、问答题 水循环停滞在什么情况下发生?有何危害?
点击查看答案
本题答案:水循环停滞易发生在部分受热较弱的水冷壁管中,当其重位压
本题解析:试题答案水循环停滞易发生在部分受热较弱的水冷壁管中,当其重位压头等于或接近于回路中共同压差,水在管中几乎不流动,只有所产生的少量汽泡在水中缓慢的向上浮动,进入汽包,而上升管的进水量仅与出汽量相等,就是发生了循环停滞。
水循环停滞时,由下水冷壁管中循环水速接近或等于零,因此热量传递主要靠导热,即使热负荷较低,由于热量不能及时带走,管壁仍可能超温烧坏。
另外,还由于水的不断“蒸干”,水中含盐浓度增加,会引起管壁的结盐和腐蚀。当在引入汽包蒸汽空间的上升管中发生循环停滞时。
上升管内将产生“自由水位”,水面以上管内为蒸汽,冷却条件恶化易超温爆管;而汽水分界处由于水位的波动,管壁在交变热应力作用下,易产生疲劳损坏。
141、问答题 省煤器的布置位置及作用?
点击查看答案
本题答案:省煤器布置在尾部竖井后烟道一级过热器下面。作用是利用烟
本题解析:试题答案省煤器布置在尾部竖井后烟道一级过热器下面。作用是利用烟气热量加热给水,使进入汽包的给水温度接近汽包压力下的饱和水温度,从而达到减少炉内换热量,减少换热面积,节约燃料,利用烟气余热,降低排烟温度,提高锅炉效率的目的。
142、填空题 安全门是锅炉的重要保护设备,必须在()态下进行调试定砣。
点击查看答案
本题答案:热
本题解析:试题答案热
143、填空题 锅炉启动点火后,一般烟温到(),热风温度到(),可以启动制粉系统制粉。
点击查看答案
本题答案:350℃;160℃
本题解析:试题答案350℃;160℃
144、问答题 立式布置的过热器有何特点?
点击查看答案
本题答案:立式布置的过热器支吊简便、安全,运行中积灰、结渣可能性
本题解析:试题答案立式布置的过热器支吊简便、安全,运行中积灰、结渣可能性小,一般布置在折焰角上方和水平烟道内。
缺点是停炉时蛇形管内的积水不易排出,在升护时管子通汽不畅易使管子过热。
145、问答题 强化燃烧的措施?
点击查看答案
本题答案:1)提高热风温度
2)保持适当的空气量并限制
本题解析:试题答案1)提高热风温度
2)保持适当的空气量并限制一次风量
3)选择适当的气流速度
4)合理送入二次风
5)在着火区保持高温
6)选择适当的煤粉细度
7)在强化着火阶段的同时必须强化燃烧阶段本身
146、填空题 水冷壁、省煤器、过热器、再热器管或联箱泄漏时,应()。
点击查看答案
本题答案:申请停炉
本题解析:试题答案申请停炉
147、填空题 每月七日白班应对()、(),()电动门进行定期开关试验。
点击查看答案
本题答案:事故放水、对空排汽、集汽联箱疏水
本题解析:试题答案事故放水、对空排汽、集汽联箱疏水
148、判断题 电气设备着火时可用泡沫灭火器灭火。
点击查看答案
本题答案:错
本题解析:应先切断电源,后用电气专业用灭火器灭火。
149、问答题 水压试验的合格标准?
点击查看答案
本题答案:1)在关闭上水门,停止给水泵后经5分钟,汽包压力下降值
本题解析:试题答案1)在关闭上水门,停止给水泵后经5分钟,汽包压力下降值不大于0.5MPa;
2)受压元件金属壁和焊缝没有漏泄痕迹;
3)受压元件没明显的残余变形。
150、单项选择题 汽包严重减水时,会造成()超温,爆破。
A、水冷壁
B、过热器
C、再热器
D、省煤器
点击查看答案
本题答案:A
本题解析:暂无解析
151、问答题 配有中间储仓式制粉系统的锅炉如何调整燃料量?
点击查看答案
本题答案:该制粉系统运行工况变化与锅炉负荷并不存在直接关系。当锅
本题解析:试题答案该制粉系统运行工况变化与锅炉负荷并不存在直接关系。当锅炉负荷发生变化时,需要调节进入炉内的燃料量是通过启、停给粉机或改变给粉机的转速、调节给粉机下粉挡板开度来实现。
增加负荷时应先增加引风量,再增加送风量,最后增加燃料量;降负荷时相反。当锅炉负荷变化较小时,只需改变给粉机转速就可以达到调节的目的。当锅炉负荷变化较大时,用改变给粉机转速不能满足调节幅度的要求,则在不破坏燃烧工况的前提下可先投、停给粉机只数进行调节,而后再调给粉机转速来弥补调节幅度大的矛盾,必要时投油助燃。若上述手段仍不能满足调节需要时,可用调节给粉机下粉挡板开度的方法加以辅助调节。
启、停给粉机运行方式的调节,由于燃烧器布置的方式和类型的不同,投运方法也不同。一般可参考以下原则:
(1)投下排、停上排燃烧器,可降低燃烧中心,有利于燃尽;
(2)四角布置的燃烧方式,宜分层停用或对角停用,不允许缺角运行;
(3)投、停燃烧器应先以保证锅炉负荷、运行参数和锅炉安全为原则,而后考虑经济指标。
152、问答题 锅炉蒸发量不变,给水温度的变化对过热汽温有何影响?为什么?
点击查看答案
本题答案:当给水温度降低时,加热给水所需的热量增多,锅炉热负荷增
本题解析:试题答案当给水温度降低时,加热给水所需的热量增多,锅炉热负荷增加,其结果将使过热汽温升高,反之给水温度升高,将降低锅炉热负荷,将使过热汽温下降。
153、问答题 什么是RB保护?
点击查看答案
本题答案:当锅炉的主要辅机(如给水泵、送风机、引风机、一次风机、
本题解析:试题答案当锅炉的主要辅机(如给水泵、送风机、引风机、一次风机、磨煤机)有一部分发生故障时,为了使机组能够继续安全运行,必须迅速降低锅炉及汽轮机的负荷。这种处理故障的方法,称为锅炉快速切回负荷RB保护。
154、填空题 停止水泵前应将出口门(),直至()全关。
点击查看答案
本题答案:逐渐关小、全关
本题解析:试题答案逐渐关小、全关
155、问答题 影响汽温变化的因素?
点击查看答案
本题答案:1)燃料量的变化;
2)炉膛负压的变化;本题解析:试题答案1)燃料量的变化;
2)炉膛负压的变化;
3)一、二次风比例的变化;
4)过剩空气量的变化;
5)给水温度的变化;
6)锅炉负荷的变化;
7)锅炉水位的变化;
8)煤质的变化;
9)减温水 量的变化;
10)煤粉细度的变化;
11)制粉系统的启动和停止;
12)受热面的积灰和结焦。
156、问答题 燃油系统恢复注意事项?
点击查看答案
本题答案:关闭放油门,缓慢开启回油管道措施门,缓慢开启进油管道措
本题解析:试题答案关闭放油门,缓慢开启回油管道措施门,缓慢开启进油管道措施门进行炉前油系统充油,防止影响邻炉油压波动过大,检查油系统严密情况。
157、单项选择题 罗茨风机是()设备。
A、通风机
B、压气机
C、鼓风机
D、都不是
点击查看答案
本题答案:C
本题解析:暂无解析
158、单项选择题 超临界参数的锅炉炉型是()。
A、自然循环汽包炉
B、强制循环汽包炉
C、复合循环汽包炉
D、直流炉
点击查看答案
本题答案:D
本题解析:暂无解析
159、填空题 在滑参数停炉过程中,主汽温度下降速度不大于(),再热汽温下降速度不大于()。
点击查看答案
本题答案:1.5℃/min;2~2.5℃/min
本题解析:试题答案1.5℃/min;2~2.5℃/min
160、填空题 炉内燃烧后剩余空气量的多少通常用炉膛出口处的()表示,对于一般煤粉炉其值约为()。
点击查看答案
本题答案:过量空气系数;1.15∽1.25
本题解析:试题答案过量空气系数;1.15∽1.25
161、单项选择题 在火力发电厂中蒸汽参数一般是指蒸汽的()。
A、压力和比容
B、温度和比容
C、压力和温度
D、压力和焓
点击查看答案
本题答案:C
本题解析:暂无解析
162、单项选择题 简单机械雾化油枪是由()部分组成。
A、二个
B、三个
C、四个
D、五个
点击查看答案
本题答案:B
本题解析:暂无解析
163、问答题 磨煤机跳闸的处理?
点击查看答案
本题答案:1)将跳闸磨煤机、给煤机开关复位;
2)关闭
本题解析:试题答案1)将跳闸磨煤机、给煤机开关复位;
2)关闭热风门,冷风门开25%,降低磨煤机出口温度;
3)关小吸风机入口挡板,保持燃烧室负压稳定;
4)增加运行中给煤机的转速或投入油枪稳燃;
5)若两台以上磨煤机同时跳闸时,投1-3支油枪,报告值长,联系汽机值班员减负荷;
6)有备用磨煤机时,联系启动备用磨煤机;
7)待跳闸磨煤机查明原因,处理完毕,方可重新启动;
8)若无油枪运行时,全部运行中的磨煤机跳闸,应按锅炉灭火处理。
164、判断题 汽包内有旋风分离器49个,出力为8.46t/h。
点击查看答案
本题答案:错
本题解析:汽包内有旋风分离器80个,出力为8.46t/h。
165、问答题 什么是煤的发热量?
点击查看答案
本题答案:单位质量的煤在完全燃烧时所能释放出的全部热量称为煤的发
本题解析:试题答案单位质量的煤在完全燃烧时所能释放出的全部热量称为煤的发热量,其单位用Kj/kg来表示。发热量分为高位发热量和低位发热量。
166、问答题 降低排烟损失的措施有那些?
点击查看答案
本题答案:1)选择合适的过剩空气系数;
2)减少炉膛,
本题解析:试题答案1)选择合适的过剩空气系数;
2)减少炉膛,烟道及空预器的漏风;
3)及时吹灰打焦,保持受热面清洁;
4)加强燃烧调整,控制火焰中心高度,降低炉膛出口烟温;
5)合理配风,加强燃烧器出口火焰调整;
6)保持空预器换热面清洁,换热效果好。
167、填空题 省煤器的作用是利用锅炉()加热锅炉()。
点击查看答案
本题答案:尾部烟气的余热、给水
本题解析:试题答案尾部烟气的余热、给水
168、问答题 一次风管堵塞的处理?
点击查看答案
本题答案:1)减少或停止给煤,增大通风量,提高磨煤机出口风压;<
本题解析:试题答案1)减少或停止给煤,增大通风量,提高磨煤机出口风压;
2)清除燃烧器出口处结焦;
3)慢敲击煤粉管堵塞处,根据情况及时调整给煤量,防止大量煤粉进入燃烧室;
4)上述处理无效,应停止磨煤机,进行处理。
169、单项选择题 定期排污应在()监督下进行。
A、炉主操
B、监护人
C、化学人员
D、安全科
点击查看答案
本题答案:C
本题解析:暂无解析
170、问答题 脉冲式安全阀由哪些部分组成?动作原理如何?
点击查看答案
本题答案:脉冲式安全阀由主安全阀、脉冲阀和连接管道组成。主安全阀
本题解析:试题答案脉冲式安全阀由主安全阀、脉冲阀和连接管道组成。主安全阀由小脉冲阀控制。在正常情况下,主阀被高压蒸汽压紧,严密关闭。当汽压超过规定值时,小脉冲阀先打开,蒸汽经导汽管引入主阀活塞上面,蒸汽在活塞上的压力可以克服弹簧压紧的作用力,故将主阀打开排汽泄压;
当压力下降到一定数值后,小脉冲阀关闭,活塞上的汽流切断,因此主安全阀又关闭。而活塞上的余汽可以起缓冲作用,使主阀缓慢关闭,以免阀瓣与阀座因撞击而损伤。
171、填空题 当蒸汽、给水流量表都损坏时,通知()进行紧急处理,在()小时内未恢复一块时,汇报值长,请示停炉。
点击查看答案
本题答案:热工、2
本题解析:试题答案热工、2
172、问答题 油跳闸阀手动开启的许可条件?
点击查看答案
本题答案:1)油源压力合适或油循环阀开。
2)油没有在
本题解析:试题答案1)油源压力合适或油循环阀开。
2)油没有在检漏过程中。?
3)所有角阀关。
173、问答题 汽轮机凝汽设备的任务是什么?
点击查看答案
本题答案:在汽轮机排汽口建立并保持高度真空,使蒸汽在汽轮机中膨胀
本题解析:试题答案在汽轮机排汽口建立并保持高度真空,使蒸汽在汽轮机中膨胀做功到最低压力,以提高循环热效率;将汽轮机排汽凝结为水,送回锅炉继续使用。
174、问答题 四角布置的喷燃器的燃烧特点是什么?
点击查看答案
本题答案:四角布置的喷燃器气流射入炉膛后,射流在炉膛中心形成一个
本题解析:试题答案四角布置的喷燃器气流射入炉膛后,射流在炉膛中心形成一个旋转的假想圆,由于引风机的抽力和切线喷入气流的带动,迫使气流成螺旋状向上运动。又由于旋转离心力的作用,汽流向外扩散,其中心形成一个速度较低的微风区(负压区),当旋转较强烈时,炉膛中心部分形成真空,导致一股旋转而下的气流,而正中心的气流则直冲炉底,这有利于煤粉的着火,并可减少飞灰损失。在炉膛中心部分下降旋转气流的外围,是上升的旋转气流,它是一个强风区,紧靠墙壁的四周,由于摩擦及炉膛长方形断面的几何图形,形成微风区,四角上还形成四个上升的角旋涡。
175、问答题 单元机组锅炉吹管质量合格的标准是什么?
点击查看答案
本题答案:为了检验吹管质量的好坏,需在被吹管道末端的临时排汽管内
本题解析:试题答案为了检验吹管质量的好坏,需在被吹管道末端的临时排汽管内或排汽口处装设靶板。靶板可用铅板制作,每次吹管后应将靶板换下,检查上面的杂物和冲击坑痕。当最大冲击坑痕直径小于1mm,目测总数少于10点,并且连续两次吹管均符合上述要求时,则为吹管质量合格。
176、单项选择题 随着压力增加很多时,饱和温度的增加值()。
A、逐渐增大
B、逐渐减少
C、值不变
D、为零
点击查看答案
本题答案:B
本题解析:暂无解析
177、填空题 锅炉三冲量给水自动调节系统的三个信号是()、()和()。
点击查看答案
本题答案:汽包水位;蒸汽流量;给水流量
本题解析:试题答案汽包水位;蒸汽流量;给水流量
178、填空题 水压试验是检查锅炉()部件()性的一种方法。
点击查看答案
本题答案:承压、严密
本题解析:试题答案承压、严密
179、问答题 中间储仓式制粉系统启停对汽温有何影响?
点击查看答案
本题答案:启动制粉系统后,一次风要适当地减少,为了使燃料达到完全
本题解析:试题答案启动制粉系统后,一次风要适当地减少,为了使燃料达到完全燃烧,总风量要增加,这样使烟气容积增大,流经过热器的烟速增大,由于炉膛出口烟温升高,所以汽温上升。
另外对于热风送粉的制粉系统由于三次风的风温较低,它的投入也相对降低了炉膛温度,使得炉内辐射传热减弱,因烟气流量大、流速加快,对流过热器、再热器区域换热加强,这些因素使一、二次汽温上升。停运制粉系统时,情况则相反,汽温应下降。
180、填空题 下降管水中含汽时,增加了()、()等故障发生的可能性。
点击查看答案
本题答案:循环停滞、倒流
本题解析:试题答案循环停滞、倒流
181、问答题 给水温度降低为什么会影响汽温升高?
点击查看答案
本题答案:给水温度降低时,为了保持锅炉负荷不变;必须增加燃料量以
本题解析:试题答案给水温度降低时,为了保持锅炉负荷不变;必须增加燃料量以维持炉水的加热和蒸发,因此,炉膛理论燃烧温度和炉膛出口烟温增加。烟气容积增大,流过过热器的速度加快,所以过热蒸汽温度升高。特别是在高压加热器停用时,会使给水温度大幅度下降,过热蒸汽温度会明显升高。但使用表面式减温器调节汽温的锅炉,因为给水温度降低,减温器降温的效果也相应增加,所以汽温升高不很明显。
182、问答题 启动磨煤机时零米值班员的注意事项?
点击查看答案
本题答案:1)磨煤机合闸后10秒无初转速、90秒电流不返回应立即
本题解析:试题答案1)磨煤机合闸后10秒无初转速、90秒电流不返回应立即使用事故按钮停止,90秒内不得离开事故按钮附近;
2)磨煤机确认正常后,检查各部振动是否在允许范围内,无金属撞击声,无摩擦现象,电动机转向正确,无漏粉。
183、问答题 叙述开缝钝体燃烧器基本原理?
点击查看答案
本题答案:开缝钝体燃烧器是将进入喷燃器的一次风气流分为三路,中间
本题解析:试题答案开缝钝体燃烧器是将进入喷燃器的一次风气流分为三路,中间一路较小的气流实现浓缩。由于回流区是燃烧的关键的核心区,对燃烧的强弱起着主要的控制作用。喷入少量的燃料进入回流区,由于回流区的高温、低速、停留时间长,着火容易,增大了回流区对主流的点火能量,强化了燃烧,即相当于喷燃器中部具备了一只小火炬。在锅炉负荷变化、炉膛温度场发生较大变化时由于小火炬的作用,仍能保持稳定燃烧,从而实现降低锅炉机组最低不投油负荷点的目的。
184、问答题 润滑油对轴承起什么作用?
点击查看答案
本题答案:无论是滚动轴承或滑动轴承,在轴转动时,其转动部分和静止
本题解析:试题答案无论是滚动轴承或滑动轴承,在轴转动时,其转动部分和静止部分都不能直接接触,否则会因摩擦生热而损坏。
为了防止动静部分摩擦,必须添加润滑剂。润滑剂对轴承的作用主要表现在润滑作用、冷却作用和清洗作用三个方面。
185、问答题 燃料完全燃烧的条件是什么?
点击查看答案
本题答案:燃料和空气要有良好的混合。
要供给足够的空气
本题解析:试题答案燃料和空气要有良好的混合。
要供给足够的空气量。
氧化过程要有足够的时间。
要维持相当高的炉膛温度。
186、问答题 如何停止水泵?
点击查看答案
本题答案:1)关闭出口门;
2)拉回开关停止泵的运行;
本题解析:试题答案1)关闭出口门;
2)拉回开关停止泵的运行;
3)电流表指示回零,泵停止转动。
187、问答题 6KVA段或B段电源中断现象有哪些?如何处理?
点击查看答案
本题答案:现象:
1)A段或B段电源所带电机停止转动,
本题解析:试题答案现象:
1)A段或B段电源所带电机停止转动,电流表指示回零,红灯灭,绿灯闪,事故喇叭响;
2)A段或B段所带电运门失电;
3)部分6KV电机联动跳闸;
4)燃烧恶化,调整不及时将造成灭火。
处理:
1)立即投油助燃,复归跳闸电机开关,汇报值长;
2)失去电源的电动门就地手动调整;
3)主要辅机润滑油泵跳闸后,应立即停止该辅机运行,以免损坏设备;
4)如灭火时按灭火处理。
188、单项选择题 HG-670/13.7-HM12型锅炉,HG代表()锅。
A、上
B、武
C、东
D、哈
点击查看答案
本题答案:D
本题解析:暂无解析
189、问答题 什么叫机组补水率?
点击查看答案
本题答案:锅炉与汽轮机在运行中,为了保证水汽品质合格,需排出一些
本题解析:试题答案锅炉与汽轮机在运行中,为了保证水汽品质合格,需排出一些汽水,如锅炉连续排污、定期排污、除氧器排汽等。还有些由于运行设备泄漏,造成的汽水损失,加上事故状态下的疏排放汽、水。故机组在生产过程中要定期补水。电厂一般根据不同类型的机组制定出一定的补水率,即补水量与锅炉蒸发量之比。
190、问答题 锅炉正常停运后,为什么要采用自然降压?
点击查看答案
本题答案:由于水蒸气在一定压力下具有一定的饱和温度,当压力变化时
本题解析:试题答案由于水蒸气在一定压力下具有一定的饱和温度,当压力变化时,饱和水、饱和汽的温度也相应发生变化。如果锅炉停炉后压力下降过快,则饱和水、饱和汽的温度也大幅度下降。
由于在较低压力时饱和温度对压力的变化率较高,又因汽包上壁与饱和汽接触、下壁与饱和水接触,水的导热系数比汽大,则汽包下壁的蓄热量很快传给水,使汽包下壁温度接近于压力下降后新的压力下的饱和温度,而汽包上壁传热效果差维持较高的温度,汽包上壁温高于下壁温,汽压下降越快,汽包上、下壁温差越大。
同时汽压下降速度过快,其对应的饱和温度也下降加快,水冷壁、省煤器及联箱的壁温下降也越快,由于急剧冷却、收缩将会产生很大温度应力,局部接头、焊口处易产生裂纹,所以锅炉正常停运后要采取自然降压。当锅炉正常熄火停运后,应关闭所有汽水门,关闭烟道挡板、人孔门,使锅炉处于密闭状态,自然冷却降压。
191、单项选择题 在锅炉水循环设备中()是加热、蒸发、过热三个过程的连接枢纽或大致分界点。
A、水冷壁
B、下降管
C、汽包
D、联箱
点击查看答案
本题答案:C
本题解析:暂无解析
192、单项选择题 材料的导热量与材料两侧面的温差成()。
A、正比
B、反比
C、不成比例
点击查看答案
本题答案:A
本题解析:暂无解析
193、单项选择题 锅炉过热蒸汽调节系统中,被调量是()。
A.过热器进口温度;
B.减温水量;
C.减温阀开度;
D.过热器出口汽温。
点击查看答案
本题答案:D
本题解析:暂无解析
194、问答题 锅炉灭火的现象有哪些?
点击查看答案
本题答案:炉膛负压突然增大?
灭火信号报警,火焰监视器
本题解析:试题答案炉膛负压突然增大?
灭火信号报警,火焰监视器无火
汽压下降?
水位迅速下降
195、问答题 电除尘器的工作原理是怎样的?
点击查看答案
本题答案:在电晕极和集尘极组成的不均匀电场中,以放电极(电晕极)
本题解析:试题答案在电晕极和集尘极组成的不均匀电场中,以放电极(电晕极)为负极,集尘极为正极,并以60kV的高压直流电源来充电。当这一电场强度提高到某一值时,电晕极周围形成负电晕,气体分子的电离作用加强,产生了大量的正、负离子。
正离子被电晕极中和,负离子和自由电子则向集尘极转移,当带有粉尘的气体通过时,这些带负电荷的粒子就会在运动中不断碰到并被吸附在尘粒上,使尘粒荷电,在电场力的作用下,很快运动到达集尘极气阳极板),放出负电荷,本身沉积在集尘板上。在正离子的运行中,电晕区里的粉尘带正电荷,移向电晕极,因此电晕极也会不断积灰,只不过量较小。收集到的粉尘通过振打装置使其跌落、聚集到下部的灰斗中排出,使气体得到净化。
196、问答题 在启动过程中为什么要控制燃烧率?
点击查看答案
本题答案:在启动过程中,省煤器、过热器和再热器内部工质流动尚未正
本题解析:试题答案在启动过程中,省煤器、过热器和再热器内部工质流动尚未正常,有的管道内工质流量很少,甚至在短时间内是不流动的。因而,这些受热面还不能正常地被工质冷却。为此,在启动过程中,对燃烧率的控制是十分重要的。
197、问答题 安全门定砣的注意事项?
点击查看答案
本题答案:1)升压过程中,监视汽包上下壁温差不许超过50℃。本题解析:试题答案1)升压过程中,监视汽包上下壁温差不许超过50℃。
2)屏式过热器的壁温超过允许值时,用增加通汽量或适当减少燃料量的方法调整。
3)严格监视再热器壁温,必要时可通汽冷却。
4)安全门动作时,注意汽包水位变化,及时调整,保持水位稳定。
5)A操可记录主控压力与就地压力表的误差,供运行调整的控制数据。
6)安全门的启、回座压力要作好记录。
198、问答题 直流锅炉切除分离器时会发生哪些不安全现象?是什么原因造成的?
点击查看答案
本题答案:(1)切除启动分离器时,极易发生主汽温度下降和前屏过热
本题解析:试题答案(1)切除启动分离器时,极易发生主汽温度下降和前屏过热器管壁超温现象。
(2)启动过程中应严格按照启动分离器切除的条件执行操作。若切除过早,分离器过早停止排水,使蒸发段出口工质焓值降低,同时过热器内蒸汽流量增大,易造成过热汽温降低。若切除过迟,则会使前屏过热器管壁超温。
199、问答题 如何调整锅炉水位?
点击查看答案
本题答案:锅炉正常运行中调整锅炉水位,保持汽包水位稳定,应做到以
本题解析:试题答案锅炉正常运行中调整锅炉水位,保持汽包水位稳定,应做到以下几点:
(1)要控制好水位,必须对水位认真监视,原则上以一次水位计为准,以电接点水位计为主要监视表计。要保持就地水位计清晰、准确。若水位计无轻微晃动或云母片不清晰时,应立即冲洗水位计,定期对照各水位计,准确判断锅炉水位的变化。
(2)随时监视蒸汽流量、给水流量、汽包压力和给水压力等主要数据,发现不正常时,立即查明原因,及时处理。
(3)若水位超过十50mm时,应关小给水调节门,减少进水量,若继续上升至+75㎜时,应开事故放水门放水至正常水位,并查明原因。
(4)正常运行中水位低于-50mm时,应及时开大给水调整门增大进水量,使水位尽快恢复正常,并查明原因、及时处理。
(5)在机组升降负荷、启停给水泵、高压加热器投入或解列、锅炉定期排污、向空排汽或安全门动作以及事故状态下,应对汽包水位所发生的变化超前进行调整。
200、问答题 绘图题:背画带风扇磨煤机热风干燥的直吹式制粉系统图,标出主要设备的名称。
点击查看答案
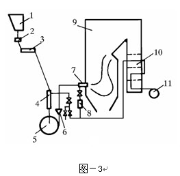
本题答案:如图-3所示:
试题答案如图-3所示:

1-原煤仓;2-自动磅秤;3-给煤机;4-下行干燥管;5-磨煤机;
6-粗粉分离器;7-燃烧器;8-二次风箱;9-锅炉;10-空气预热器;11-送风机。
题库试看结束后
微信扫下方二维码即可打包下载完整版《★集控值班员考试》题库
手机用户可保存上方二维码到手机中,在微信扫一扫中右上角选择“从相册选取二维码”即可。
题库试看结束后微信扫下方二维码即可打包下载完整版《集控值班员考试:锅炉运行》题库,分栏、分答案解析排版、小字体方便打印背记!经广大会员朋友实战检验,此方法考试通过率大大提高!绝对是您考试过关的不二利器!
手机用户可保存上方二维码到手机中,在微信扫一扫中右上角选择“从相册选取二维码”即可。
微信搜索关注"91考试网"公众号,领30元,获取公务员事业编教师考试资料40G