时间:2020-03-17 05:31:31
1、单选题 台湾是我国领土不可分割的一部分。读台湾省地形图,完成:
1.台湾岛上的河流具有短小流急、水力丰富的特点,与这一特点无关的是
A.岛屿面积狭小? B.地形以山地为主? C.降水丰富? D.森林覆盖率高
2.有关台湾经济的叙述正确的是
A.目前主要以农业和农产品加工工业为主,出口蔗糖、菠萝、稻米、樟脑等
B.进入20世纪60年代后,吸收外资,重点发展出口加工业,形成“进口一加工一出口”型的经济模式
C.出口商品中以初级产品为主
D.台湾属于海岛,发展重化工不会对台湾的环境造成很大污染
参考答案:
1.D
2.B
本题解析:
河流的水文水系特征深受气候、地形等因素的影响,从本题来看,与植被覆盖率关
系不是太大;随着产业结构的调整和经济的发展,台湾省一改过去以农业为主的经济结构,第二和第三产业发展迅速。
本题难度:简单
2、综合题 (23分)读下列图文材料,回答问题
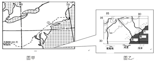
材料一下图中的图甲为美国五大湖区,是美国非常重要的工业区,图乙地区为图甲中的一部分,该地区由于土色深黑和曾经大规模使用黑奴从事农业劳动而被称为“黑带”,是历史上著名的棉花地带。但近年来,该地区植棉业已经衰落,转而大量种植一种根深叶茂的野草,成为以畜牧业为主的多种作物区。
材料二?科罗拉多大峡谷是世界陆地上最长的峡谷之一。从谷底向上,沿岩壁出露着早古生代到新生代的各期岩系,并含有代表性生物化石,大峡谷因此有“活的地质史教
科书”之称。
(1)阅读材料一,描述图乙地区的地形、地势特征。(6分)
(2)解释图甲中80度经线附近的无霜期等值线向南弯曲的原因。(2分)
(3)简述图甲中部分地区有利于植棉的气候条件,并分析植棉业衰落的原因。(6分)
(4)据材料二,分析科罗拉多大峡谷岩石的主要类型,说明大峡谷形成过程。(4分)
(5)材料二中图示地区于20世纪30年代修建了胡佛水坝,试分析修建胡佛水坝遇到的困难及建成后发挥的主要功能。(5分)
参考答案:(1) 地势:由西北向东南倾斜(西北高,东南低)地形:西北部以山地丘陵为主(阿巴拉契亚山脉),起伏较和缓;东南部以平原为主(大西洋沿岸平原),地势低平,面积较大
(2)阿巴拉契亚山脉,海拔高,无霜期短
(3)气候条件:该区域属于温带大陆性气候,热量充足,无霜期长春夏降水多,利于棉花生长,秋季降水少,适宜棉花成熟和采摘
衰落原因:年降水量大,水土流失严重,开发历史悠久(不合理开垦),土壤肥力下降。
(4)沉积岩。峡谷地貌的形成过程:先是外力沉积,后地壳抬升,最后受流水侵蚀作用。
(5)困难:①地质地形条件复杂,施工困难;②生态环境脆弱,易破坏当地生态环境;③交通不便,修筑难度大。(任答两项)?功能:发电、灌溉、旅游等
本题解析:本题考查世界国家地理(美国)。
(1)利用河流流向和等高线分布判断:图示西北高,东南低;西北部为山地丘陵;东南部为平原,地势较低。
(2)无霜期等值线向南弯曲表示该地无霜期较周边短;结合地形分布该地区位于阿巴拉契亚山区;
(3)棉花种植的气候条件从气温、降水等方面分析。衰败的原因:主要从该地区的生态环境问题分析。
(4)含有代表性生物化石说明该地区的岩石主要为沉积岩;沉积岩分布说明经历了外力沉积作用(开始该地区地势较低)。但河流峡谷的形成说明主要的外力作用为流水侵蚀(地势较高);故中间经历了地壳的抬升。
(5)水电站建设的困难主要从地质条件、生态环境、周围的经济条件等方面分析。水库的主要功能从发电、防洪、灌溉、航运、养殖、旅游等方面分析(注意基本没有的功能不分析)。
本题难度:一般
3、单选题 2012年6月21日,国务院批准设立地级三沙市,下辖西沙、中沙、南沙诸群岛及海域,涉及岛屿面积13平方千米,海域面积200多万平方千米。三沙市人民政府驻西沙永兴岛。完成题。
小题1:永兴岛的主要植被类型
A.亚热带常绿林
B.热带雨林和季雨林
C.热带稀树草原
D.亚热带硬叶林
小题2:随着三沙市的建立和基础设的完善,海南省计划在永兴岛大力发展海岛旅游业和海水养殖业,易引发的环境问题
A.水土流失严重
B.滨海湿地消失
C.海水污染加剧
D.海平面上升
参考答案:
小题1:B
小题2:C
本题解析:
小题1:永兴岛位于我国南海,为热带海岛,受热带季风气候影响,故主要的植被为了为热带雨林和热带季雨林。
小题2:该岛属于热带海岛,随着海岛旅游业和海水养殖业,排放的污染加大,则海洋污染加重。
点评:本题难度低,解题的关键是掌握我国的区域地理位置,结合气候类型的分布判断主要的植被类型,并结合人类的生产活动判断对环境问题的影响。
本题难度:一般
4、单选题 2007年7月1日是香港回归祖国十周年纪念日,香港回归以来,在中央政府和祖国内地的全力支持下,克服了亚洲金融危机和非典疫情的冲击和影响,继续保持了自由港和国际大都市的特色,继续保持了国际金融、贸易和航运中心的地位,保证了香港的稳定与繁荣,促进了香港经济的发展。据此完成3一5题。
小题1:下列关于香港地理位置的叙述,正确的是
A.香港北临经济特区珠海市
B.香港位于珠江口西侧
C.香港东、南、西、北四面环海
D.香港北部与深圳特区相邻
小题2:香港经济发展的有利条件是
①有丰富的森林②有丰富的铁矿③具有优越的地理位置④有优良的海港
A.①②
B.②③
C.③④
D.①④
小题3:香港对外贸易比澳门发达,最主要的原因是
A.香港人口比澳门多
B.香港有可停泊海洋以轮的天然深水港湾
C.澳门与广州间没有铁路运输
D.澳门的自然资源没有香港丰富
参考答案:
小题1:D
小题2:C
小题3:B
本题解析:
小题1:香港北部与深圳特区相邻;位于珠江口东侧;香港三面环海。
小题2:香港自然资源不丰富,地域小,没有丰富的森林和铁矿,但地理位置优越.
小题3:香港具有优良的海港,是其对外贸易的基本条件。
本题难度:简单
5、综合题 我国跨世纪的四大工程,在促进西部大开发、资源大调度等方面具有重大意义。读 “我国四大工程示意图”,完成下列各题。(15分)
(1)填出四大工程的名称:属于水资源跨流域调配的是___________工程,属于能源调配的是_________________工程和_________________工程,属于交通设施建设的是 _________________工程。
(2)四大工程中,沿线气候变化最显著的是_____________工程,所经过的地区全部位于同一地形区的是_____________工程。
(3)四大工程建设有利于我国东西互补、南北共济、资源共享,请写出我国水资源、能源和经济发展水平的地区差异。
水资源分布的南北差异:______________________________________________;
能源供需的东西差异:________________________________________________;
经济发展水平的地区差异:_________________。
(4)四大工程中,对上海社会经济发展和环境保护有积极影响的工程是______________,它们对上海的积极影响是:_________________________________。
参考答案:
(1)南水北调?西气东输?西电东送?青藏铁路(4分)
(2)西气东输?青藏铁路(2分)
(3)水资源南部多,北部少(2分)
西部地区能源供大于求,东部地区供不应求(2分)
东部经济比较发达,西部经济相对比较落后(2分)
(4)西气东输、西电东送?缓解能源供应紧张的矛盾,改善能源消费结构,有利于环境保护(3分)
本题解析:本题考查我国的四大工程。
(1)结合图示了解我国的四大工程,包括南水北调、西气东输、西电东送、青藏铁路。
(2)西气东输从塔里木盆地到上海,东西方向跨度大,故气候变化大;青藏铁路全部位于青藏高原。
(3)由于受夏季风影响强弱,故水资源的南北差异:南多北少;注意“供需关系”:我国能源资源的供应:西多东少,但经济发达东部发达西部落后,故能源需求:东多西少;经济发展水平的差异:东部发达,西部落后;
(4)四大工程中,西气东输和西电东送,都向上海供应能源,故对上海的意义:主要从能源供应、改善能源消费、改善环境等方面分析。
本题难度:一般