时间:2020-03-17 04:05:43
1、单选题 读某区域等压线形势图(单位hpa),完成1-2题。
小题1:如图所示气压形势下,a等压线的数值为
A.1020
B.1017.5
C.1015
D.1012.5
小题2:有关图中四地天气与气候特征叙述正确的是
A.②地风力大于①地
B.①地天气以阴雨为主
C.③地冬冷夏热,全年少雨
D.④地吹西北风
参考答案:
小题1:D
小题2:C
本题解析:略
本题难度:一般
2、综合题 下面左图为某区域对应月份的主导风向和等压线示意图,右侧为图中两个城市的降水量(mm)图。读图并完成下列问题。(16分)
(1)据材料分析卡昂的风力发电机组单位时间的发电量的季节差异及原因。(4分)
(2)据图分析那不勒斯和巴里的降水差异,并解释其原因。(6分)
(3)简析卡昂所在的欧洲西部内河航运发达的原因。(6分)
参考答案:
(1)冬季发电量比夏季大。(2分)冬季欧洲西部地区等压线较夏季密集,单位距离上的气压差(气压梯度力)大,风速快,发电量大。(2分)
(2)意大利在亚平宁半岛上,地形以山地丘陵为主,那不列斯在半岛的西部,巴里在东部。那不勒斯冬季地处西风的迎风坡,降水多;夏季受副热带高压控制盛行下沉气流,干旱少雨。而巴里冬季地处西风的背风坡,夏季受副热带高压控制,降水少,所以巴里年降水量小于那不勒斯,降水季节分配较均匀。(2分)
(3)①欧洲西部河网密布;②河流水量丰富;③无结冰期,同行时间长;④落差小,水流平稳;⑤西欧经济发达,对河运的需求量大等(必答)。答出三点给6分
本题解析:
(1)发电机组单位时间的发电量主要由风速的大小决定的,风速的大小取决于气压梯度,气压梯度在图形中是由等压线的密集程度来表示的,从图中可以看到,欧洲西部1月份等压线较夏季密集,单位距离间的气压差大,风速快,发电量大。
(2)那不勒斯年降水量大于巴里,降水季节差异大。那不勒斯冬季地处西风的迎风坡,降水多;夏季受副热带高压控制盛行下沉气流,干旱少雨。而巴里冬季地处西风的背风坡,夏季受副热带高压控制,降水少,所以巴里年降水量小于那不勒斯,降水季节分配较均匀。
(3)影响内河航运业发展的主要因素为:河网密度、河流水量、径流季节变化、流速大小、有无冰封期、经济发达程度等。①欧洲西部河网密布;②河流水量丰富;③无结冰期,同行时间长;④落差小,水流平稳;⑤西欧经济发达,对河运的需求量大等。
本题难度:一般
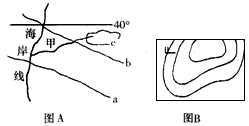
3、单选题 ? 下图中图A中的40°线为纬线,a、b、c为等温线,甲为河流,图B为甲地区近地面气压分布及风向示意图。读图,完成下题。
结合图A和图B给出的信息,下列说法正确的是
[? ]
A.从数值上看b>a
B.我国大部分地区高温多雨
C.尼罗河正处于汛期
D.墨累—达令盆地正处于剪羊毛的季节
参考答案:A
本题解析:
本题难度:一般
4、综合题 新疆的伊利河谷被誉为“中国天府”、“西域湿岛”。读新疆局部地区年降水量图(单位:mm)(图一)及伊犁河谷地区分布示意图(图二),回答下列问题。

参考答案:(1)少;该地区深居内陆(远离海洋),加之地形闭塞,海洋湿润气流难以到达,因而降水稀少。
(2)伊犁河谷是由西北—东南走向的北天山山脉和东北—西南走向的南天山山脉夹峙,形成的西部宽、东部窄,西低东高,向西敞开的三角形区域;近东西走向的中天山山脉又将其分割成山脉、河谷(盆地)相间的分布格局。
(3)伊犁河谷属于向西(呈喇叭口形)敞开的地形,来自大西洋的暖湿气流容易聚集,受地形抬升,形成山地降水,河谷地区,汇集了山地降雨和高山冰雪融水,地表水比较丰富,从而成为“西域湿岛”。
(4)有利:受天山阻挡,冬季相对温暖,利于小麦安全越冬,位于山地迎风坡,丰富的降水和地表水为小麦生长提供了较充足的灌溉水源,河谷地区,地形平坦,土壤肥沃。不利:易受到低温冻害影响。
本题解析:
本题难度:一般
5、单选题 1.下列说法正确的是2.图中四地中,最易受到泥石流威胁的是3.该地区泥石流灾害多发的自然原因有4.该地区自然灾害的关联性可表现为5.如果你和同学利用暑假到图示山区野营游玩,保障安全的做法是
A.①②两个居民点的高差约为300米
B.①处河流的流向为东北向西南
C.③处的地形适合建水坝
D.④处地形为鞍部
E.①
F.②
G.③
H.④
I.地势低洼多河流
G.黑土疏松多沟壑
降水持续多暴雨
山高谷深多植被
暴雨——泥石流——堰塞湖——洪水
地震——暴雨——泥石流——洪水
地震——崩塌、滑坡——泥石流
洪水——滑坡、泥石流——地震
沿河谷向山上行进
遇雷雨在大树下躲避
选择河道弯曲或汇合处露营
选择地势高、较平坦处露营
参考答案:1. B
2. A
3. C
4. A
5. D
本题解析:本题考查等高线地形图的判读和应用。
1.A项①②两个居民点之间只相差1条等高线,故高差应在200米以内;错误;B项结合指向标和等高线分布,①处河流的流向为东北向西南流,正确。C项③处为盆地,不适宜建水坝;错误;D项④处地形为山顶。
2.泥石流多发于较陡的山谷地区,故①处最易形成。
3.泥石流多发的地形条件为地形坡度较大;故A错误;该地区位于南方,自然土壤为红壤,粘重,故B错误;植被多则利于防止地质灾害的发生,故D项错误;该地区位于南方,受季风气候影响,降水集中多暴雨,是泥石流形成的气候条件,正确。
4.没有信息反映该地区多地震,故BCD项错误;由于该地区位于季风区,故降水集中,多暴雨,且该地区位于山区,地形坡度大;故容易引发泥石流,泥石流可能堵塞河道,而形成堰塞湖,堰塞湖积水过多,一旦决堤就可能形成山洪。
5.A项沿河谷向山上行进,若遇强降雨,可能遇洪水和泥石流;错误;B项雷雨时在大树下躲避可能遭雷击;错误;C项在河道弯曲或汇合处,若遇强降雨,可能遭洪水和泥石流威胁;错误。故选D项。
本题难度:简单