时间:2020-01-16 07:21:41
1、单选题 下图反映的是下列哪个地区的气候特点
A.华北平原
B.西西伯利亚平原
C.阿根廷潘帕斯草原
D.西欧平原
2、综合题 读图,回答下列各题。
(1)丙图中能正确反映甲、乙两地降水特征的点分别是____________和____________。
(2)比较甲、乙两地河流的水文特征及成因。
____________________________________________________________
(3)甲、乙两图的北部都有世界著名的大渔场,说出它们的名称并指出其成因。
________________________________________________________________________
(4)乙地的农业地域类型是________________________,请分析影响该地这种农业地域类型的区位因素。____________________________________
3、单选题 夏特古道沟通新疆天山南北,全长约120公里,是丝绸之路上最为险峻的一条古隘道。如今横穿支离破碎的冰川、冰缝及横渡汹涌的南木扎尔特河都给徒步探险者构成极大的威胁。读图和以上材料回答下列小题。
【小题1】历史上温暖期是该古道使用最多的时期,下列朝代中夏特古道使用最多的是
A.汉朝(前202~公元220年)
B.唐朝(618~907年)
C.宋朝(960~1279年)
D.明朝(1368~1644年)
【小题2】与夏季相比,分析目前去夏特古道徒步探险较安全的季节是春、秋季,其主要原因是
A.气温低
B.流量小
C.降水少
D.冰缝多
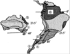
4、综合题 下图是两大洲气候区分布示意图,读图回答下列问题。
(1)图中①、②两地的气候类型分别是_________________、___________。其成因分别是____________
? _________________、_________________________________。
(2)图中③、④两地纬度位置、海陆位置相似,但气候不同,产生这种差异的主要原因是________。
(3)⑤、⑥两地同属热带雨林气候,但面积大小不同。试从大气环流、地形两方面作简要解释。
? _________________________________________________________________________________________
? _________________________________________________________________________________________
5、单选题 图是“甲乙两区域气候类型分布图”,回答1~3题。
小题1:甲图中①的流向及等温线画法正确的是? (? )
小题2:与乙图中②地沿岸景观形成,关联不大的地理要素是 (? )
A.地形条件
B.洋流影响
C.副热带高压和信风
D.气压带的季节移动
小题3:甲图中所示区域沿岸植被变化(? )
A.雨林——常绿阔叶林——落叶阔叶林
B.草原——荒漠——常绿硬叶林
C.雨林——常绿阔叶林——落叶阔叶林
D.草原——荒漠——常绿硬叶林
小题4:与乙图中③地气候类型相匹配的是(? )?