时间:2020-01-08 13:05:57
1、单选题 板块张裂地区,常形成 (? )
A.褶皱山地
B.裂谷
C.山脉
D.丘陵
2、单选题 读图,回答下列各题。
小题1: 图示地质构造主要由水平张力形成的是
A.①
B.②
C.③
D.④
小题2: 选择坝址是修建水库的关键之一,图示方案中,最适宜建大坝的是
A.①
B.②
C.③
D.④
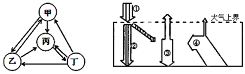
3、单选题 2012年1月以来,意大利埃特纳火山多次喷发,大量火山灰直冲云霄。左图为“地壳物质循环示意图”,右图为“大气受热过程示意图”。读图完成题。
【小题1】与埃特纳火山喷发形成的岩石类型一致的是图中的( )
A.甲
B.乙
C.丙
D.丁
【小题2】图5数码所示辐射中,直接受弥漫在大气中的火山灰影响而减弱的是( )
A.①
B.②
C.③
D.④
4、单选题 读下图,完成问题。
【小题1】图中河流①②③段主要受到的河流作用依次是( )
A.堆积、搬运 、侵蚀
B.堆积、侵蚀、搬运
C.搬运、侵蚀、搬运
D.侵蚀、堆积、堆积
【小题2】图中②处、③处最有可能形成的河流地貌的名称是( )
A.瀑布、河漫滩平原
B.冲积扇、三角洲
C.三角洲、冲积平原
D.河漫滩平原、冲积扇
5、单选题 读地质构造图,完成问题。
【小题1】庐山属于图中甲、乙、丙、丁的哪一种地质构造( )
A.甲
B.乙
C.丙
D.丁
【小题2】在图中甲、乙、丙、丁四种地质构造中,为良好储油、储气构造的是( )
A.甲
B.乙
C.丙
D.丁