时间:2020-01-08 12:21:31
1、单选题 赤道地区的主要降水类型是( )
A.对流雨
B.地形雨
C.锋面雨
D.台风雨
2、综合题 (14分)下图表示某地2013年5月15日14:00海平面等压线分布图(单位:hpa),5月14日夜间至15日,甲地出现降雪.降雨.大风天气。
(1)描述图示区域气压分布特点。(6分)
(2)图示时刻,甲.乙两地气温较低的是 ,简述成因。(8分)
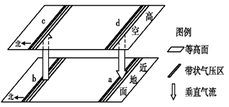
3、单选题 读下图回答问题。
1.若该图表示热力环流形势,则a处与b处的气压(P)和气温(T)大小关系正确的是2.若该图表示北半球的热力环流形势,不考虑摩擦力,c、d之间的风向为3.若该图表示地球表面三圈环流之一,则
A.Pa>Pb;Ta>Tb
B.Pa
D.Pa>Pb;Ta
F.东北风
G.南风
H.西南风
I.该环流一定是北半球低纬环流
G.该环流一定是南半球低纬环流
环流一定使a地高温干燥
环流使b地气候全年多雨
4、综合题 读下图“亚洲东部地区气压分布图(单位:百帕)”,回答下列问题。
(1)图中气压的分布状况最可能出现在
? A、隆冬季节
? B、冬春之交
? C、春末夏初
? D、秋末冬初
(2)图中锋面在图示位置较长时间徘徊,形成特殊的___________天气现象。此时,从农业与气候两方
? 面考虑,下列地区缺水最严重的地区是___________。(填字母:A东北,B华北,C西北,D江淮)
(3)2003年夏季我国淮河流域遭严重的洪涝灾害,随后南方广大地区又出现持续的高温和干旱天气,给
? 当地人民的生产和生活造成很大的影响。请利用图中相关的信息,分析说明上述气象灾害产生的主要
? 自然原因。
? _________________________________________________________________________________________
? _________________________________________________________________________________________
? _________________________________________________________________________________________
5、单选题 下列气候类型中,其成因一般与气压带、风带季节移动无关的是
A.热带草原气候
B.热带季风气候
C.地中海气候
D.亚热带季风气候