时间:2019-12-27 01:43:01
1、综合题 美国,一个由移民组成的国家,工业、农业都发达,有着特殊的自然条件和历史背景。读材料回答下列问题。(13分)
材料一:
材料二:
(1)美国农业发达,形成了专门的农业生产区,A—D中,小麦带是 ??,玉米带是 ??;大牧场畜牧带是 ??,乳畜带是 ??,(4分)
(2)简述美国乳畜带形成条件。(2分)
?
?
(3)在①②③所示的三个工业地带中,美国的传统工业区位于??,(1分)其形成的有利条件有哪些?(3分)
?
?
(4)美国环境污染最严重的地区是(?)(1分)
A.北部地区
B.东北地区
C.南部地区
D.西部地区
(5)20世纪60年代以后,美国国内人口迁移方向主要是向 ?、?。(2分)
参考答案:
(1)C? B? D? A
(2)城市密集、人口众多,市场广阔;地形平坦开阔,气候较温和湿润,有利于牧草的生长。(离玉米带近,饲料供应充足) (答任意两点得2分)
(3)①?丰富的铁矿,离煤产区近;水源充足、水运便利;交通便利;市场广阔;历史悠久,产业基础好等(任意3点,得3分)
(4)B
(5)南、西
本题解析:
(1)本题考查美国农业的分布,形成专业化生产。
(2)本题考查美国乳蓄业的区位条件。从自然条件方面,地形、气候等适合牧草的生长;从社会经济条件方面市场、交通、技术等方面分析。
(3)美国的传统工业位于美国的东北部及五大湖地区。其区位条件从交通、市场、资源等方面。
(4)美国的传统工业位于美国的东北部及五大湖地区。环境污染严重。
(5)此时美国人口从东北向南方、西部迁移。
本题难度:一般
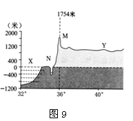
2、单选题 图9为某区域沿31°N纬线附近的地形剖面图,读图完成问题。?
小题1:图示N湖泊水面与M山峰的相对高度较大值多出现在
A.冬季
B.春季
C.夏季
D.秋季
小题2:图示x海区与Y高原分别位于?
A.非洲板块亚欧板块
B.亚欧板块太平洋板块
C.亚欧板块印度洋板块
D.非洲板块印度洋板块
参考答案:
小题1:C
小题2:D
本题解析:本题考查世界地理(巴勒斯坦地区)。
小题1:结合图示的经纬度位置判断图示地区为巴勒斯坦地区,N湖泊为死海,由于受地
中海气候和热带沙漠气候过渡带的影响,夏季为湖泊水面最低的季节,故与M山峰的相对高
度最大;选C项。
小题2:X位于地中海为非洲板块;Y位于阿拉伯半岛北部,属于印度洋板块。故选D项。
本题难度:一般
3、单选题 读图8,回答问题。
1.有关图中赤道地区东、西部地理环境描述正确的是?(?)
A.地势西高东低,东部以平原盆地为主,西部以高原山地为主
B.赤道横贯东西,东、西部均为热带雨林气候,终年高温多雨
C.本地区东部分布有世界上面积最大的热带雨林,堪称“热带植物王国”
D.西部有大河西流,下游多激流瀑布,是世界上水力资源最丰富的河流之一
2.该地区东部湖泊众多,南北纵贯,主要的成因类型是?(?)
A.地震堰塞湖?B.冰川侵蚀湖?C.火山口湖?D.断裂构造湖
参考答案:
1.D
2.D
本题解析:略
本题难度:简单
4、综合题 (15分)2005年8月,中俄科学家对贝加尔湖进行了综合科学考察,这是迄今为止两国规模最大的联合科学考察活动。
(1)据图说明贝加尔湖的成因。
(2)结合科学知识说明图中A河流形成凌汛现象的自然条件。
(3)简要分析图中B城市近年发展迅速的原因。
参考答案:(1)地壳运动导致地壳断裂下陷(2分)?洼地积水形成构造湖。(2分)
(2)该河流纬度较高,有冰期;(2分)?自较低纬度流向较高纬度。(3分)
(3)该城市地处中俄边界,地理位置优越(2分)?滨洲铁路经过,交通便利(2分)
国家政策的大力支持,中俄两国经济互补性强(2分)
本题解析:通过贝加尔湖构造断面图可以看出该处是地壳运动的断层断裂下陷洼地积水形成;凌汛形成必须具备两个条件:河流有结冰期;自低纬向高纬流的河段;第三小题主要考察城市发展的区位条件
本题难度:一般
5、单选题 下图为某岛屿的示意图。该岛屿面积约为1.09万平方千米,约有280万人口,岛上主峰蓝山峰的海拔为2256米,山区多火山活动。该岛矿产资源丰富,其中铝土矿储量和出口量都居世界前列。读图回答下列各题。
小题1:下列有关该岛屿自然地理特征的说法,正确的是
①地势东南高西北低?
②北部河流平均流速比南部河流快
③北部植被为热带雨林,南部植被为热带草原?
④土壤为红壤,较贫瘠
A.①②
B.②③
C.②④
D.①③
小题2:图中铁路修建于19世纪末,目前客运已经停运。下列说法正确的是
A.修建该铁路的主要目的是便于矿产的出口
B.该铁路沿线经济发达、人口稠密
C.修建该铁路主要是为了方便内陆地区居民的出行
D.该铁路沿线地势平坦,河流少,建设成本低
参考答案:
小题1:B?
小题2:A
本题解析:
小题1:读图可以看到,河流的源头位于岛屿中部,说明岛屿地势中部高,四周低。①错。河流都是发源于中部山地,北部河流流程短,说明地形坡度大,所以流速快,②对。根据经纬度判断,岛屿位于大西洋的加勒比海地区,位于热带,常年盛行东北信风,岛屿北部是东北信风的迎风坡,降水多,形成热带雨林气候,植被是热带雨林。南部位于背风坡,降水较少,形成热带草原气候,植被以草原为主,③对。热带雨林气候区为砖红壤,土壤贫瘠;热带草原区是红棕壤,比较肥沃,④错。所以B对。A、C、D错。
小题2:读图,从铁路线经过的地区看,并没有联系沿海众多的城市,而是从河流上游河段山区经过,所以主要不是为了方便居民出行,C错。由材料知岛上铝土矿丰富,所以主要目的是便于矿产的运输,A对。该岛经济水平落后,铁路沿线山区人口少,B错。铁路并未建在沿海平原,而是穿过山区,地形崎岖,建设成本高,D错。
本题难度:一般