时间:2019-12-27 01:15:34
1、单选题 读图,A、B位于晨线,A是晨昏线上的纬度最高点,A的纬度为70°S,回答小题。
【小题1】关于A、B两地的叙述,正确的是( )
A.两地的地方时相同 B.两地的正午太阳高度角相同
C.两地同时日出且同时日落 D.B地日落的时间比A地早
【小题2】此时,下列地理现象可信的是( )
A.长江流量处于一年中最高的季节
B.美国东海岸的纽约地区夜幕降临
C.北印度洋海区的洋流呈逆时针方向流动
D.北京正处于上班高峰期
【小题3】A地上空一架飞机向南极长城科考站(62°13′S ,58°58′W)飞行,其最短距离的飞行方向是( )
A.一直往东北方向
B.一直向西南方向
C.先向东南再向东北
D.先向西南再向西北
参考答案:
【小题1】D
【小题2】C
【小题3】C
本题解析:
【小题1】图示A、B位于晨线上,则AB线以东为昼半球;A是晨昏线上的纬度最高点,A的纬度为70°S,则70°S及以南地区出现极昼现象,图示A、B不在同一经线上,故地方时不同,A项错误;A、B都位于晨线上,图太阳高度都为0°,但所在纬度不同,故正午太阳高度不同,B项错误;A地出现极昼,此时与B点同位于晨线上,故同时日出,但肯定不会同时日落,C错误;由于A点出现极昼,而B点昼长小于24小时,故B点较A点早日落,D正确。
【小题2】结合上题分析,70°S及以南地区出现极昼,故判断太阳直射点位于20°S,此时为南半球夏季,北半球冬季,故长江流量为一年中最小,A项错误;而图示A点位于夜半球的平分线,地方时为0时,其经度为150°E,则此时纽约西五区时间约为9时,即当地上午,B错误;北京时间为东八区区时为22时;D错误;北印度洋此时为冬季,受东北季风影响,故形成自东向西流的逆时针环流,C正确。
【小题3】连接两点之间的球面大圆为最短航线,结合A点(70°S,150°E);南极长城科考站(62°13′S ,58°58′W)的经纬度位置,可转化到南极点俯视图上,从南北方向看,连接A点和长城站穿过70°S,判断从A点到长城站先向南再向北飞行;从东西方向上看,从150°E向东到58°58′W为劣弧距离,故从A点到长城站的最短航线为先向东南再向东北。
考点:本题考查地球地图和局部晨昏线图的综合分析。
点评:本题难度较大,学生应抓住图示的晨昏线与经线、纬线之间的关系,可判断地方时、太阳直射点的位置和南北半球的季节等信息,掌握球面上最短距离的方法可在俯视图上利用两点之间的直线判断。
本题难度:一般
2、单选题 我国“植树节”那一天,太阳直射点在北半球,并向南移动。
参考答案:错误
本题解析:
试题分析:每年3月12日为植树节,此时太阳直射点在南半球,并向北移动。
考点:该题考查太阳直射点移动规律。
本题难度:简单
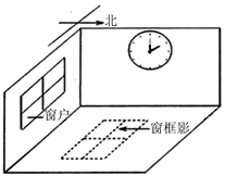
3、单选题 下图表示我国某地房屋内的光照情况,据图判断该地的经度大约是( )
A.90°E
B.150°E
C.146°E
D.86°E
参考答案:A
本题解析:
试题分析:读图,根据图中窗户和窗框影可知,该地为正午,但是此时北京时间是14点,与该地相差2个小时,相差30°,故该地为90°E。
考点:该题考查根据正午地方时计算精度。
本题难度:一般
4、综合题 (共18分)读地球经纬网图,图中O为北极点,阴影为黑夜。据此回答下列问题:
(1)若经线OA为东西半球分界线,且图幅范围在东半球,OB的经度为 。
(2)此时太阳直射点的地理坐标经度为 ,纬度为 ,D点的太阳高度为 ,正午太阳高度为 。
(3)此时将全球分隔为新旧两天的日期界线分别是 和 两条经线。北京时间为 。
(4)此时下列说法可信的有( )
A.华北平原旱情严重
B.尼罗河水猛涨
C.正是考察北极的最佳季节
D.南极上空出现臭氧层空洞
参考答案: (1)10ºE。(2分)
(2)80ºW,0º,0º ,60º。(8分)
(3)180º和100ºE(可互换)。1:20。(6分)
(4)AD。(2分)
本题解析:(1)经线OA为东西半球分界线,且图幅范围在东半球,OA经度是20ºW,OB与OA的经度差是30º ,所以OB说我经度是10ºE。(2)OB是昏线,时间是18时,直射点(地方时为12时)的经度是80ºW;晨昏线与经线重合,说明是二分日,直射点在赤道。(3)日界线二条:一条是0时的经度(100ºE);一条是180º. 100ºE时间是0时,北京时间(120ºE)时间是1:20(4)本题根据二分日的时期判断。
本题难度:困难
5、单选题 读“中心点为地球某一极点的示意图”。阴影部分为10月7日,非阴影部分为10月8日。图中M为某一地球同步通信卫星,箭头表示其绕地球转动方向。据此回答下列小题。
【小题1】对该通信卫星运动特征的描述,正确的是 ( )
A.M公转的线速度和角速度比a点自转的线速度和角速度大
B.M公转周期为23时56分4秒
C.M公转周期为24小时
D.在a点观察到M为自西向东运动
【小题2】此时北京时间为( )
A.10月6日8时
B.10月7日16时
C.10月6日16时
D.10月8日8 时
参考答案:
【小题1】B
【小题2】D
本题解析:
试题分析:
【小题1】M公转的线速度比a点自转的线速度大,但是角速度相同;M的公转周期就是地球的自转周期;a点观察到M自东向西运动。
【小题2】阴影部分和非阴影部分表示的日期不相同,即两条分界线一个是180°经线,一个是0点所在经线,根据图中90°E和地球自转方向可知,0点坐在经线为0°,即北京时间为7月8日8时。
考点:该题考查地球运动地理意义及地方时计算。
本题难度:一般