时间:2019-12-22 05:21:32
1、综合题 读“北美洲海陆轮廓图”和“美国本土年降水量分布图和棉花带示意图”,回答下列问题。(10分)
(1)据图及所学知识,描述美国的地理位置特征。(3分)
(2)说出甲城市夏季时的气候特征,分析其形成原因。(2分)
(3)说出甲、乙两地多发的自然灾害类型,并简述其共同的防御措施。(5分)
2、综合题 读某区域某时海平面等压线分布示意图,虚线为晨昏线。回答下列问题。(13分)
(1)①地位于②地的 方向,①地距③地约 千米。(2分)
(2)此时,北京时间为 ;新一天的范围是 。(2分)
(3)此日,地球公转速度较 (快或慢),北半球昼夜长短的分布规律是 。(2分)
(4)此时,①地的盛行风向为 ;②地的天气特点是 。(2分)
(5)比较此季节②地和③地的气温差异并分析原因。(3分)
(6)近年来,有关③海域的国际竞争愈演愈烈,简述国家间产生竞争的主要原因。(2分)
3、单选题 近年来华北地区深陷雾霾污染之中。雾霾时能见度很低,连续多天的雾霾更是给道路交通和市民生活带来严重影响。结合所学知识,回答下题。
【小题1】雾霾天气能见度低,其主要原因是空气中的大量悬浮颗粒
A.增强了对光的反射和散射作用
B.削弱了地面长波辐射
C.改变了太阳辐射波长
D.增强了大气逆辐射
【小题2】雾霾天气持续出现的自然原因可能是
A.受暖锋控制,空气流动性差
B.地面蒸发强,空气湿度增大
C.冷空气快速南下,气温降低,水汽凝结
D.受稳定天气系统控制,大气稳定
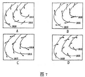
4、单选题 读图6和图7,回答问题。
【小题1】6月份武汉的月降水量超过200毫米,该月的降雨类型主要是( )
A.地形雨
B.锋面雨
C.台风雨
D.对流雨
【小题2】当武汉正值图6中阴影部分对应的月份时,常受图7中哪种天气系统的影响( )
5、单选题 下图为北半球某区域简图。读图回答下列问题。
1.图中最大的山脉走向大致为2.在图示天气系统影响下
A.东西走向
B.南北走向
C.东北——西南走向
D.西北——东南走向
E.甲地处背风坡,降水概率较小
F.乙地吹偏西风,气温较高
G.丙地吹东南风,降水概率较大
H.丁地吹偏西风.晴朗少云