时间:2017-07-27 12:44:23
1、简答题 如图(a)所示,ABCO是固定在一起的T型支架,其中水平部分AC是质量为M=2kg、长度为L=1m的匀质薄板,OB是轻质硬杆,下端通过光滑铰链连接在水平地面上,可绕水平轴O在竖直面内自由转动,支架A端搁在左侧平台上.已知AB的长度l1=
| 3 4 |
| L 2 |
| 3 4 |

参考答案:该同学的结论不正确.
钢块在杆上运动时,对杆产生的摩擦力是滑动摩擦力,方向沿杆向右,该力对轴O同样有力矩作用.
支架恰好不翻转的力矩平衡方程应该是
Mg(l1-L2)=N?x+f?h;
式中N=mg,f=μN=μmg
带入数据:2×10×(0.75-0.5)=2×10x+0.5×2×10×0.5
可解得:x=0,所以只要钢块沿杆滑行s1=0.75m到达B点,支架即翻转.
另外,钢块沿杆滑行时,有
μmg=ma,解得a=μg=5m/s2
钢块在杆上最多能滑行的距离
S2=v202a=322×5m=0.9m
由于S2>S1,所以当钢块滑到B点时T型支架就会翻转.
答:当钢块滑到B点时T型支架就会翻转.
本题解析:
本题难度:一般
2、简答题 用图示装置做“研究有固定转动轴物体平衡条件”的实验,力矩盘上各同心圆的间距相等.在用细线悬挂钩码前,已经采取的措施有:
①检查力矩盘是否处在竖直平面.
还必须采取的检查措施有
②______
③______.
参考答案:本实验沿验证力矩平衡条件,故要使力矩盘的重心处于转轴位置,要尽量减小力矩盘与转轴间摩擦力的影响;
故答案为:判断力矩盘与转轴间的摩擦是否足够小,判断力矩盘的重心是否位于盘中心.
本题解析:
本题难度:一般
3、填空题 如图所示,一根长为L、质量为100kg的木头,其重心O在离粗端
| L 3 |

参考答案:丙作用前,以右端为支点,根据力矩平衡条件,有:f甲?l=mg?23l,解得f甲=23mg=20003N;
丙作用前,以左端为支点,有:f乙?l=mg?13l,解得:f乙=13mg=10003N;
丙作用后,以右端为支点,根据力矩平衡条件,有:f甲′?l+F?12l=mg?23l,解得f甲′=23mg-12F=20003N-150N=15504N;
丙作用后,以左端为支点,有:f乙′?l+F?12l=mg?13l,解得:f乙′=13mg-12F=10003N-150N=5503N;
故甲的负担减轻了150N,乙的负担也减轻了150N;
故答案为:150,150.
本题解析:
本题难度:一般
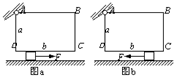
4、简答题 如图a所示,质量分布均匀、长宽分别为a、b的长方体木块ABCD,左上角用光滑的铰链与固定装置连接,底部放一个厚度与长方体宽度相同的小物块,小物块放在光滑水平面将木块支撑起来,长方体木块的质量为m,其底边DC与水平面平行,与小物块之间的动摩擦因素为μ.现用水平向右的力F将小物块从D匀速拉至C处.
(1)推导出拉力F的大小随小物块距D点距离x的关系式.
(2)如果用水平力F将小物块从C向D方向拉动(如图b),请通过理论推导,推测将发生什么情况?
参考答案:(1)对长方体木块受力分析,并根据力矩平衡条件有:mgb2=f?a+N?x? f=μN
?F=f=μmgb2(μa+x)?
(2?)?当用向左的力拉小物块时,长方体木块所受的摩擦力方向与(1)的分析相反.故有:mgb2+f?a=N?x
F=f=μmgb2(x-μa),随着小物块的向左运动,x减小,当x→μ.a,F→∞,由此推测:物体将无法移动,产生自锁现象.
答:(1)拉力F的大小随小物块距D点距离x的关系式为μmgb2(μa+x).
(2)物体将无法移动,产生自锁现象.
本题解析:
本题难度:一般
5、选择题 如图所示,AB为一轻质杠杆,O为支点,BO=2AO,AB两端分别悬挂实心铜球和实心铁球,杠杆在水平位置平衡,若将两球同时浸没在某液体中,液体的密度小于铜和铁的密度,则
A.杠杆仍能保持平衡
B.铜球一端下降
C.铁球一端下降
D.液体密度未知,故无法判断哪端下降
参考答案:B
本题解析:分析:AB两端分别悬挂实心铜球和实心铁球,杠杆在水平位置平衡,根据杠杆平衡条件求出铜块和铁块的体积关系.
当两球同时浸没在某液体中,两球受到液体的浮力作用,判断现在杠杆是否平衡.
解答:解:如图,杠杆处于平衡状态,根据杠杆平衡条件得,
OA×G铜=OB×G铁,OA×ρ铜gV铜=OB×ρ铁gV铁,
所以,
,所以,V铜
.
当两球同时浸没在某液体中,杠杆左端:
OA×(G铜-F浮铜)=OA×G铜-OA×F浮铜=OA×G铜-OA×ρ液gV铜=OA×G铜-OA×ρ液g
=OA×G铜-OB×ρ液g
--①
杠杆右端:OB×(G铁-F浮铁)=OB×G铁-OB×F浮铁=OB×G铁-OB×ρ液gV铁--②
比较①和②式,
因为OA×G铜=OB×G铁,ρ铁<ρ铜,所以①>②,所以杠杆的左端下沉.
故选B.
点评:判断杠杆是否平衡,杠杆平衡条件是本题的关键,首先由杠杆平衡条件推知铜块和铁块的体积关系,然后根据铜块和铁块的体积关系、密度关系,判断是否符合杠杆平衡条件.力和力臂的乘积大的一端是下沉的.
本题难度:简单