高考物理知识点《弹力》试题巩固(2017年最新版)(四)

时间:2017-03-02 10:38:13

微信搜索关注"91考试网"公众号,领30元,获取事业编教师公务员等考试资料40G

1、实验题  在“研究平抛物体运动”的实验中,可以描绘平抛物体运动轨迹和求物体的平抛初速度。
实验简要步骤如下:
A.让小球多次从静止滚下,记下小球落到水平槽的一系列位置;
B.安装好器材,注意调节斜槽和平板竖直,记下抛出点O和过抛出点O的竖直线;
C.测出曲线上某点的坐标,用算出该小球的平抛初速度,实验需要对多个点求的值,然后求它们的平均值;
D.取下白纸,以抛出点O为坐标原点,以竖直线为轴建立坐标系,用平滑曲线画平抛轨迹;(1)完成上述步骤,将正确的答案填在横线上。
(2)上述实验步骤的合理顺序是?(只排列序号即可)



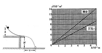
2、实验题  (6分)某同学利用如图所示的实验装置验证机械能守恒定律.弧形轨道末端水平,离地面的高度为H.将钢球从轨道的不同高度h处静止释放,钢球的落点距轨道末端的水平距离为s.

(1)若轨道完全光滑,s2与h的理论关系应满足s2=?(用H、h表示).
(2)该同学经实验测量得到一组数据,如下表所示:

在坐标纸上描点后作出了s2--h关系图.对比实验结果与理论计算得到的s2-h关系图线(图中已画出),判断自同一高度静止释放的钢球,水平抛出的速率____________(填“小于”或“大于”)理论值。
(3)从s2--h关系图线中分析得出钢球水平抛出的速率差十分显著,你认为造成上述偏差的可能原因是?



3、实验题  在“探究功与物体速度变化关系”的实验中,某实验研究小组的实验装置如图甲所示,弹簧与木块接触但并没有拴连。木块从A点静止释放后,在1根弹簧作用下弹出,沿足够长的木板运动到B1点停下,O点为弹簧原长时所处的位置,测得OB1的距离为L1,并记录此过程中弹簧对木块做的功为W。用完全相同的弹簧2根、3根……并列在一起进行第2次、第3次……实验,每次实验木块均从A点释放,木块分别运动到B2、B3……停下,测得OB2、OB3……的距离分别为L2、L3……作出弹簧对木块做功W与木块停下的位置距O点的距离L的图象如图乙所示。

(1)根据图线分析,弹簧对木块做功W与木块在O点的速度v0之间的关系为?
(2)W—L图线不通过原点的原因是?
(3)弹簧被压缩的长度LOA为多少?_____________________。



4、填空题  某同学做“探究弹力和弹簧伸长量的关系”的实验,设计了如图(a)所示的实验装置.他先测出不挂钩码时弹簧的自然长度,然后在弹簧下端依次挂1、2、3、4、5个钩码,待静止时,测出弹簧相应的总长度.每只钩码的质量都是10g.实验数据见下表.(弹力始终未超过弹性限度,g取10N/kg)

钩码质量/g01020304050
弹簧总长度/cm
5.00
5.50
6.00
6.50
7.00
7.50
弹力大小/N
0
0.1
0.2
0.3
0.4
0.5
(1)试根据这些实验数据,在给定的如图(b)所示的坐标纸上,作出弹簧弹力大小F跟弹簧总长度l之间的函数关系图象.
(2)图象跟坐标轴交点的物理意义是______.该弹簧的劲度系数k是______N/m.
91考试网



5、实验题  在做《研究共点力的合成》实验时。

小题1:已准备好的器材有:方木板1块、橡皮条1根、细绳套2个、三角板1副、刻度尺1把、图钉若干只,还缺少的器材是_____________。
小题2:实验时先用两只弹簧秤分别钩住细绳套,互成角度地拉橡皮条,使橡皮条伸长到某一位置O,此时需记录的是_____________、_____________、_____________;再用一只弹簧秤通过细绳套把橡皮条的结点拉到__________,做好有关记录。
小题3:实验时得到结果如右图所示,(F’与A、O共线,A端为固定橡皮条的图钉,O为橡皮条与细绳套的结点),图中用一只弹簧秤拉时测得的力是_______。




首页 上页 3 4 5 下页 尾页 4/10/10
微信搜索关注"91考试网"公众号,领30元,获取公务员事业编教师考试资料40G
【省市县地区导航】【考试题库导航】
 ★ 高考省级导航 ★ 
全国 A安徽 B北京 C重庆 F福建 G广东 广西 甘肃 贵州 H河南 河北 湖南 湖北 黑龙江 海南 J江苏 江西 吉林 L辽宁 N内蒙古 宁夏 Q青海 S山东 山西 陕西 四川 上海 T天津 X新疆 西藏 Y云南 Z浙江
 ★ 高考信息汇总 ★ 
 ★ 高考历年真题 ★ 
 ★ 高考历年真题 ★ 
 ★ 高考题库 ★ 
 ★ 高考题库 ★ 

电脑版  |  手机版  |  返回顶部