时间:2020-08-09 22:58:21
1、简答题 如图,在“验证力的平行四边形定则”的实验中,使弹簧秤乙从图示位置开始沿顺时针方向开始缓慢转动,在此过程中保持结点O的位置不变,保持弹簧秤甲的拉伸方向不变.那么,在全过程中,关于弹簧秤甲、乙的示数F1、F2变化是( )
A.F1减小,F2先增大后减小
B.F1减小,F2先减小后增大
C.F1减小F2增大
D.F1增大,F2减小
2、选择题 关于分力和合力的关系,下列说法中正确的是
[? ]
A.分力和合力同时作用在物体上
B.合力的作用效果与分力共同作用的效果一定相同
C.两个分力的合力一定大于任一分力
D.合力一定小于其中一个分力
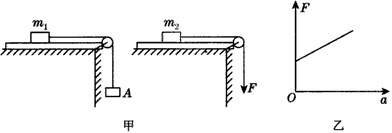
3、实验题 贝贝和晶晶在探究加速度与力、质量的关系的过程中分别采用了以下方案:两人都在水平桌面上放上一端带有定滑轮的长木板,在将相同质量的滑块放在木板上后,贝贝在滑块上用绳子连接重物A;晶晶则直接在滑块上施加竖直向下的拉力F。重物A的重力和拉力F大小相同,如图甲所示。不计滑块与长木板间的摩擦,也不计绳的质量及绳与滑轮间的摩擦,若m1运动的加速度为a1,m2运动的加速度为a2,那么:

4、计算题 (8分)有一种机械装置叫做“滚珠式力放大器”,其原理如图所示,斜面A可以在水平面上滑动,斜面B以及物块C都是被固定的,它们均由钢材制成,钢珠D置于ABC之间.当用水平力F推斜面A时,钢珠D对物块C的挤压力F/就会大于F,故称为“滚珠式力放大器”.如果斜面A、B的倾角分别为α、β,不计一切摩擦力以及钢珠自身的重力,求:
这一装置的力放大倍数(即F/与F之比).
5、实验题 在共点力合成的实验中,根据实验数据画出力的图示,如图。图上标出了F1、F2、F、F′四个力,其中____________(填上述字母)不是由弹簧秤直接测得的;比较力____________与____________的大小和方向,若基本相同,则共点力合成的平行四边行定则得到了验证。 
在本实验中,下列说法是不正确的
[? ]
A.通过细绳套用一个弹簧秤拉和用两个弹簧秤拉,只要橡皮条伸长相同长度即可
B.在实验前,一定要将弹簧秤调零
C.实验中,弹簧秤和所拉的绳套一定要和木板平行
D.如果手头只有一个弹簧秤,通过改变方法也可以完成实验