时间:2019-07-11 03:31:04
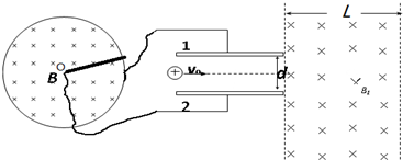
1、简答题 一半径为r的圆形导线框内有匀强磁场,磁感应强度大小为B,方向垂直于导线框所在平面,一导体棒一端在圆心O,另一端放于圆形导线框上,并接触良好,导体绕圆心O匀角速转动,O端及线框分别用导线连接一对水平放置的平行金属板,两板间的距离为d.有一质量为m、带电量为q的液滴以初速度v0水平向右射入两板间(该液滴可为质点).该液滴恰能从两板间作匀速直线运动,然后液滴射入右侧电场强度大小恒定、方向竖直向上、磁感应强度为B1、宽为L的(重力场、电场、磁场)复合场(磁场的上下区足够大)中,重力恰等于电场力.求:
(1)平行金属板1和2间的电压是多大?
(2)导体棒旋转方向如何(顺时针或逆时针)?旋转角速度多大?
(3)该液滴离开复合场时,偏离原方向的距离.
参考答案:(1)带电粒子在两板间作匀速直线运动,重力等于电场力.
即:qUd=mg
u=mgdq
(2)上金属板带负电,即圆形线框带负电,由右手定则知导体棒转动方向为逆时针
设转动角速度为ω,棒转动的平均线速率为v=12ωr
棒产生的电动势为u,则u=Brv
即mgdq=12Br2ω
解得ω=2mgdBr2q
(3)液滴进入复合场后做匀速圆周运动,设运动半径为R,
由牛顿第二定律有:qv0B1=mv20R?
得:R=mv0qB1?
讨论:①若R≤L,电子从磁场左边界离开?
由几何关系知偏转距离为?y=2R?
代入数据并整理得?y=2mv0qB1?
②若R>L,电子从磁场右边界离开?
由几何关系知偏转距离为y=R-
本题解析:
本题难度:一般
2、实验题 (1)如图甲所示,某同学将一端固定有滑轮的长木板水平放置在桌面上,利用钩码通过细绳水平拉小车,让小车从静止开始运动,利用打点计时器在纸带上记录小车的运动情况。如图乙所示,其中O点为纸带上记录到的第一点,A、B、C是该同学在纸带上所取的一些点。已知打点计时器所用交流电源的频率为50 Hz(打点计时器每隔0.02 s打一个点),利用图中给出的数据,算出打点计时器打下B点时小车的速度大小vB=_____________m/s,小车运动过程中的加速度大小a=_____________m/s2。(结果均保留3位有效数字)
? 
(2)某同学在探究摩擦力的实验中采用了如下图所示的操作,将一个长方体木块放在水平桌面上,然后用一个力传感器对木块施加一个水平拉力F,并用另外一个传感器对木块的运动状态进行监测,表中是记录的实验数据。木块的重力为10.00 N,重力加速度g=9.80 m/s2,根据表格中的数据回答下列问题(答案保留3位有效数字):木块与桌面间的最大静摩擦力fm一定不小于_____________N;木块匀加速运动时受到的摩擦力f =_____________N。
? 
参考答案:(1)1.03,1.34
(2)4.01,4.01
本题解析:
本题难度:一般
3、简答题 如图所示,匀强磁场宽L=30cm,B=3.34×10-3?T,方向垂直纸面向里,设一质子以v0=1.6×105?m/s的速度垂直于磁场B的方向从小孔C射入磁场,然后打到照相底片上的A点,质子的质量为1.67×10-27?kg;质子的电量为1.6×10-19?C.试求:
(1)质子在磁场中运动的轨道半径r;
(2)A点距入射线方向上的O点的距离H;
(3)质子从C孔射入到A点所需的时间t.
参考答案:
(1)根据公式得:qvB=mv2R
R=mveB=1.67×10-27×1.6×1051.6×10-19×3.34×10-3m=0.5m,
(2)由平面几何关系得:R2=L2+(R-H)2? 得H=0.1m
(3)sinθ=LR=0.30.5=0.6? θ=37°
质子在磁场中转动的角度为37°,则运动时间为:
t=37°360°T=2πmeB×37°360°≈2×10-6s.
本题解析:
本题难度:一般
4、简答题 经过观察,科学家在宇宙中发现了许多孤立的双星系统.若双星系统中每个星体的质量都是M,两者相距为L(远大于星体半径),它们正绕两者连线的中点做圆周运动.
①试计算双星系统中的运动周期T计算;
②若实际观察到的运动周期为T观测,且T观测:T计算=1:
| N+1 |
参考答案:(1)以双星系统中任一星球为研究对象,根据牛顿第二定律得GM2L2=M4π2T2?L2
得到 T算=
本题解析:
本题难度:一般
5、实验题 利用下图所示的装置可测量滑块在斜面上运动的加速度。一斜面上安装有两个光电门,其中光电门乙固定在斜面上靠近底端处,光电门甲的位置可移动,当一带有遮光片的滑块自斜面上滑下时,与两个光电门都相连的计时器可以显示出遮光片从光电门甲至乙所用的时间t。改变光电门甲的位置进行多次测量,每次都使滑块从同一点由静止开始下滑,并用米尺测量甲、乙之间的距离s,记下相应的t值;所得数据如下表所示。
? 
完成下列填空和作图:
(1)若滑块所受摩擦力为一常量,滑块加速度的大小a、滑块经过光电门乙时的瞬时速度v1、测量值s和t四个物理量之间所满足的关系式是_______;
(2)根据表中给出的数据,在下图给出的坐标纸上画出
图线; 
(3)由所画出的
图线,得出滑块加速度的大小为a=____________m/s2(保留2位有效数字)。
参考答案:(1)
(2)
(3)2
本题解析:
本题难度:一般