高中物理高考知识点《力的合成与分解》高频考点预测(2019年最新版)(八)

时间:2019-06-26 05:09:29

微信搜索关注"91考试网"公众号,领30元,获取事业编教师公务员等考试资料40G

1、选择题  下列国际制单位中属于基本单位的是
[? ]
A.牛顿?
B.焦耳?
C.帕斯卡?
D.开尔文


参考答案:D


本题解析:


本题难度:简单



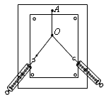
2、实验题  如图为“验证力的平行四边形定则”的实验装置图。
(1)请将下面实验的主要步骤补充完整。
①将橡皮筋的一端固定在木板上的A点,另一端拴上两根绳套,每根绳套分别连着一个弹簧测力计;
②沿着两个方向拉弹簧测力计,将橡皮筋的活动端拉到某一位置,将此位置标记为O点,并记录两个拉力的大小及方向;
③再用一个弹簧测力计将橡皮筋的活动端仍拉至O点,记录______________。
(2)用一个弹簧测力计将橡皮筋的活动端仍拉至O点,这样做的目的是______________。



参考答案:(1)测力计拉力的大小及方向
(2)使这两次弹簧测力计的拉力作用效果相同


本题解析:


本题难度:一般



3、其他  按下列要求画出图中物体所受弹力的示意图。
(1)斜面对物块的支持力;
(2)墙壁对球的支持力;
(3)大球球面对小球的支持力。


参考答案:


本题解析:


本题难度:一般



4、选择题  下列关系错误的是:(?)
A.1F=1J/C
B.1F=1C/V
C.1?F=10-6F
D.1pF=1012F


参考答案:AD


本题解析:1V=1J/C, 1F=1012PF,所以答案选AD。


本题难度:简单



5、选择题  属于狭义相对论基本假设的是:在不同的惯性系中(  )
A.真空中光速不变
B.时间间隔具有相对性
C.物体的质量不变
D.物体的能量与质量成正比


参考答案:A


本题解析:本题考查相对论。爱因斯坦狭义相对论的基本假设是相对性原理和光速不变原理,选A。


本题难度:简单




首页 上页 7 8 9 下页 尾页 8/10/10
微信搜索关注"91考试网"公众号,领30元,获取公务员事业编教师考试资料40G
【省市县地区导航】【考试题库导航】
 ★ 高考省级导航 ★ 
全国 A安徽 B北京 C重庆 F福建 G广东 广西 甘肃 贵州 H河南 河北 湖南 湖北 黑龙江 海南 J江苏 江西 吉林 L辽宁 N内蒙古 宁夏 Q青海 S山东 山西 陕西 四川 上海 T天津 X新疆 西藏 Y云南 Z浙江
 ★ 高考信息汇总 ★ 
 ★ 高考历年真题 ★ 
 ★ 高考历年真题 ★ 
 ★ 高考题库 ★ 
 ★ 高考题库 ★ 

电脑版  |  手机版  |  返回顶部