时间:2019-06-26 05:06:00
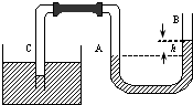
1、选择题  如图所示,U形管A、B内装有一部分水银,通过橡胶软管与玻璃管C相连,C管竖直插入水银槽中,若A、B、C三管内径相同,U形管两侧液面高度差为h,中间封有一段空气,则( ? )
A.C管内外水银面的高度差为h
B.若将C管向下移动少许,则B管内水银面沿管壁上升
C.若往B管注入一些水银,则A管水银面上升的高度大于C管水银面下降的高度
D.若环境温度升高,则A管水银面下降的高度等于C管水银面下降的高度
参考答案:ABC
本题解析:
本题难度:一般
2、选择题  如图所示,为一定质量的气体在不同温度下的两条等温线,则下列说法正确的是(  )
A.从等温线可以看出,一定质量的气体在发生等温变化时,其压强与体积成反比
B.一定质量的气体,在不同温度下的等温线是不同的
C.由图可知T1>T2
D.由图可知T1<T2
参考答案:ABC
本题解析:根据理想气体状态方程 ,
, ,当温度恒定是,压强p与体积V成反比关系,A选项正确。温度不同时,反比例函数系数不同,两条曲线不同,B选项正确。由图可知压强p相同时,T1曲线体积V较小,则T1较大。
,当温度恒定是,压强p与体积V成反比关系,A选项正确。温度不同时,反比例函数系数不同,两条曲线不同,B选项正确。由图可知压强p相同时,T1曲线体积V较小,则T1较大。
点评:该类型题目结合数学中函数关系式进行求解,要求学生对数学知识理解透彻。类似题目还经常考两个物理量之间成正比例关系,这时要注意线是否过原点。
本题难度:一般
3、选择题  图8-3-7所示为充气泵气室的工作原理图,设大气压强p0,气室中的气体压强为p,气室通过阀门S1、S2与空气导管相连接,以下选项中正确的是(? )
图8-3-7
A.当橡皮碗被拉伸时,p>p0,S1关闭,S2开通
B.当橡皮碗被拉伸时,p<p0,S1关闭,S2开通
C.当橡皮碗被压缩时,p>p0,S1关闭,S2开通
D.当橡皮碗被压缩时,p<p0,S1关闭,S2开通
参考答案:C
本题解析:当橡皮碗向上拉伸时,气室内气体体积增大,因为气体的温度不变,故气体压强减小,此时外界大气压将阀门S1冲开,而充气容器内的气体将阀门S2关闭,此时外界空气向气室内补充气体;当橡皮碗向下压缩时,气室内气体体积减小,压强增大,室内气体分别将阀门S1压下而关闭,将阀门S2打开(S1、S2阀门的打开方向是相反的,图中未明确表示出来),气室内气体经S2进入充气容器,属于充气机向容器充气的过程.
本题难度:简单
4、选择题  如图一定质量的理想气体由状态A变化到状态B,则(  )
A.气体膨胀对外做功
B.气体温度降低
C.气体的内能增大
D.气体密度加大
参考答案:A
本题解析:
本题难度:简单
5、计算题  (6分)如图所示,导热良好的薄壁汽缸放在光滑水平面上,用横截面积为S=1.0×10-2m2的光滑活塞将一定质量的理想气体封闭在汽缸内,活塞杆的另一端固定在墙上。外界大气压强P0=1.0×l05Pa。当环境温度为27oC时,密闭气体的体积为2.0×10-3 m3。
①当环境温度缓慢升高到87℃时,汽缸移动的距离是多少?
②在上述过程中封闭气体(填“吸热”或“放热”),传递的热量(填“大于”或“小于”)气体对外界所做的功。
参考答案:① ②吸热(1分) 大于(1分)
②吸热(1分) 大于(1分)
本题解析:①气体等压变化 ----------------------------------------------(2分)
----------------------------------------------(2分)
气缸移动的距离为 ----------------------------------------(2分)
----------------------------------------(2分)
本题难度:一般