高考物理答题技巧《力的合成与分解》考点强化练习(2019年练习版)(四)

时间:2019-06-26 03:55:33

微信搜索关注"91考试网"公众号,领30元,获取事业编教师公务员等考试资料40G

1、选择题  下列说法不正确的是
A.磁电式电流表所依据的原理是安培力与电流的关系。
B.电子感应加速器是利用变化的磁场产生感生电场,来加速电子的。
C.电磁感应现象中,感应电流的磁场总是跟原来的磁场方向相反
D.法拉第心系“磁生电”,寻找10年之久,终于发现了“磁生电”的效应,并把这些现象定名为电磁感应。



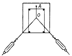
2、实验题  下图是用来探究“互成角度的两个力的合成”的实验装置图,本实验采用的科学方法是_________。?
? A.理想实验法?
? B.等效替代法?
? C.控制变量法?
? D.极限法



3、选择题  下列说法正确的是(  )
A.功是矢量
B.速度的变化量是矢量
C.牛顿运动定律适用于宏观物体的低速运动
D.力的单位N是物理学中的基本单位



4、填空题  做“探究加速度与力、质量的关系”的实验,主要的步骤有:
A.将一端附有定滑轮的长木板放在水平桌面上,取两个质量相等的小车,放在光滑的水平长木板上
B.打开夹子,让两个小车同时从静止开始运动,小车运动一段距离后,夹上夹子,让它们同时停下来,用刻度尺分别测出两个小车在这一段相同时间内通过的位移大小
C.分析所得到的两个小车在相同时间内通过的位移大小与小车所受的水平拉力的大小的关系,从而得到质量相等的物体运动的加速度与物体所受作用力大小的关系
D.在小车的后端也分别系上细绳,用一只夹子夹住这两根细绳
E.在小车的前端分别系上细绳,绳的另一端跨过定滑轮各挂一个小盘,盘内分别放着数目不等的砝码,使砝码盘和盘内砝码的总质量远小于小车的质量,分别用天平测出两个砝码盘和盘内砝码的总质量
上述实验步骤,正确的排列顺序是______.



5、实验题  在“探究加速度与力、质量的关系”实验中,某同学使用了如图所示的装置。

(1)该同学要探究小车的加速度a和质量M的关系,应该保持_____________不变;为了直观地判断小车的加速度a与质量M的数量关系,应作_____________ (选填“a-M”或“a-1/M”)图象。
(2)在探究加速度与质量的关系实验中,下列做法正确的是_____________。
A.平衡摩擦力时,应将装沙的小桶用细绳通过定滑轮系在小车上
B.每次改变小车的质量时,不需要重新平衡摩擦力
C.实验时,先放开小车,再接通打点计时器电源
D.小车运动的加速度可从天平测出装沙小桶和沙的质量m以及小车质量M,直接用公式求出
(3)该同学通过数据的处理作出了a-F图象,如图所示,则:
①图中的力F理论上指_____________,而实验中却用_____________表示;(选填字母符号)
A.砂和砂桶的重力
B.绳对小车的拉力
②图中的直线不过原点的原因是__________________________;
③此图中直线发生弯曲的原因是__________________________。




首页 上页 3 4 5 下页 尾页 4/10/10
微信搜索关注"91考试网"公众号,领30元,获取公务员事业编教师考试资料40G
【省市县地区导航】【考试题库导航】
 ★ 高考省级导航 ★ 
全国 A安徽 B北京 C重庆 F福建 G广东 广西 甘肃 贵州 H河南 河北 湖南 湖北 黑龙江 海南 J江苏 江西 吉林 L辽宁 N内蒙古 宁夏 Q青海 S山东 山西 陕西 四川 上海 T天津 X新疆 西藏 Y云南 Z浙江
 ★ 高考信息汇总 ★ 
 ★ 高考历年真题 ★ 
 ★ 高考历年真题 ★ 
 ★ 高考题库 ★ 
 ★ 高考题库 ★ 

电脑版  |  手机版  |  返回顶部