时间:2024-11-05 04:02:32


1、多项选择题 电离辐射的生物效应,包括以下哪几个阶段()
A.物理阶段
B.物理化学阶段
C.化学阶段
D.生物学阶段
E.有丝分裂阶段
2、单项选择题 甲状腺组织是由大小不等的腺滤泡及滤泡间组织组成,其滤泡腔内充满胶状物质,其成分主要为()
A.甲状腺激素
B.甲状腺球蛋白
C.甲状腺素
D.甲状腺球蛋白抗体
E.甲状腺微粒体抗体
3、多项选择题 骨显像时,一般成骨性病变部位的放射性可表现为()
A.老年人膝部增高
B.对称性增浓
C.显影异常清晰,双肾不显影,放射性降低
D.浓聚
E.闪烁现象
4、单项选择题 显影剂引入人体后以一定速度连续或间断地多幅显影称为()
A.静态显影
B.平衡显影
C.介入显影
D.动态显影
E.阴性显影
5、多项选择题 男性,8岁,既往有多次抽搐病史,行Tc-ECD脑显像(图1),6天后复查(图2),诊断是()
A.左侧颞叶局限性癫痫病灶
B.图A为发作期
C.图B为发作期
D.左侧顶叶癫痫病灶
E.左侧额叶癫痫病灶
6、单项选择题 (99m)Tc-DTPA气溶胶吸入显像,(99m)Tc-DTPA气溶胶体积最大不应超过()
A.4ml
B.1ml
C.2ml
D.3ml
E.5ml
7、多项选择题 I去除分化型甲状腺癌术后残留甲状腺组织,禁忌证是()
A.哺乳期而不愿终止哺乳的患者
B.年龄小于25岁
C.肝、肾功能严重损害的患者
D.妊娠而不愿终止妊娠的患者
E.第1次未完全去除者
8、问答题 简述肾图的临床应用
9、问答题 脊髓蛛网膜腔及脑池显像在脊髓腔阻塞的定位诊断中有何价值?
10、单项选择题 γ照相机分辨两个点源或线源最小距离的能力()
A.空间分辨率
B.能量分辨率
C.积分均匀度
D.微分均匀度
E.固有均匀度
11、单项选择题 心室壁瘤在位相直方图中特征性表现为()
A.相角程缩小
B.相角程增宽
C.心室峰增高
D.出现附加峰
E.心室峰减低
12、多项选择题 用放射性核素治疗骨转移癌,疗效较好的原发肿瘤为()
A.胃癌
B.肝癌
C.肾癌
D.乳房癌
E.前列腺癌
13、单项选择题
一患者的运动心肌灌注显像如图,正确的诊断是()

A.左心室无心肌缺血
B.左心室前壁缺血
C.左心室下壁缺血
D.左心室间壁缺血
E.以上都不是
14、问答题 简述脑受体显像的临床应用。
15、多项选择题
63岁男性,甲状腺滤泡状癌术后3年,行I全身显像及SPECT/CT图像融合如图,正确的诊断是()

A.未见明显转移灶
B.多发肺、脑转移
C.多发肺转移
D.无骨转移
E.有骨转移
16、问答题 什么是骨显像闪烁现象?
17、多项选择题 放射性核素骨显像可用于诊断()
A.骨肉瘤
B.骨转移瘤
C.Paget病
D.镰状红细胞贫血
E.骨质疏松
18、单项选择题 Tc发生器淋洗时理论上无法得出100%的Mo放射性活度()
A.一些药物经常粘在氧化铝柱上
B.只有87%的Mo衰变成Tc
C.一些药物残留在淋洗管的死腔内
D.Tc挥发掉一部分
E.以上都不对
19、填空题 淋巴显像是一项了解_____,淋巴_______和摄取胶体颗粒______的核医学检查技术,它对恶性肿瘤淋巴转移的诊断__________、__________、__________以及估计预后等都有重要价值。
20、单项选择题 下列评价心肌活力的检查中,最为准确的是()
A.灌注+代谢显像
B.201Tl再注射法显像
C.小剂量多巴酚丁胺介入灌注显像
D.硝酸盐介入灌注显像
E.门控心肌灌注显像
21、单项选择题
患者,男,45岁,MRI诊断为胰腺癌。为了解病变范围又做了18F-FDG肿瘤代谢显像(SPECT-PET/CT)。结果:上腹部可见FDG聚集灶,T/N=2.12(胰腺区),右下腹另有一个FDG聚集灶。右下腹的高浓聚灶最可能是()
A.转移灶
B.其他肿瘤(重复癌)
C.回盲部生理性摄取
D.移植肾排泄影
E.以上都不是
22、问答题 心脏运动负荷试验心血池显像有何临床意义?
23、单项选择题 既能缩小又能放大图像的准直器,是何种准直器()
A.针孔准直器
B.发散孔准直器
C.汇聚孔准直器
D.平行孔准直器
E.高能准直器
24、问答题 简述局部脑血流显像的药物介入试验常用药物。
25、多项选择题
男性患者,49岁,右侧睾丸疼痛肿胀10天,伴右腰痛3天,有慢性前列腺炎病史。治疗前后各做了一次肾功能动态显像如图,正确的描述是()

A.急性肾盂肾炎
B.急性肾小球肾炎
C.治疗疗效显著
D.双肾重度积水
E.以上都不是
26、单项选择题
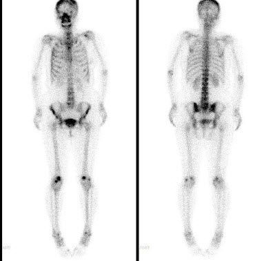
男性,48岁,血象示三系减少,双侧下肢疼痛,既往有鼻咽癌病史,行全身骨显像如图,最可能的诊断是()
A.双侧肱骨、股骨转移癌
B.四肢骨上段血液病骨损害
C.双侧肱骨、股骨肥大性骨关节病
D.恶性淋巴瘤骨浸润
E.以上都不是
27、单项选择题 放射性核素示踪动力学是利用放射性核素示踪技术研究()
A.物质在体内过程中量变规律的科学
B.物质在体内代谢的科学
C.抗原和抗体结合反应的科学
D.受体与配体结合反应的科学
E.物质在体内分布的科学
28、单项选择题 肾移植术后并发肾动脉血栓形成时,无下列哪种表现()
A.肾无血流灌注
B.肾灌注显像不显影
C.肾动态功能显像尚好
D.肾动态显像时不显影
E.肾静态显像时不显影
29、填空题 甲状腺功能测定的试验包括:①____________,②_______________,③_____________。
30、单项选择题 当肝显像已显示肝内占位病变时,一般来说下列哪一点是不正确的()
A.可定位诊断
B.可定性诊断
C.可显示占位病变大小
D.可了解占位病变单发或多发
E.可显示占位病变的形态
31、问答题 淋巴显像在恶性肿瘤淋巴转移诊断中的临床意义是什么?
32、单项选择题 采用不通过血脑屏障显像剂的脑静态显像中脑梗死阳性发现多见于起病后()
A.第1天内
B.第1周内
C.第2~4周
D.第5周后
E.第6周后
33、问答题 简述甲状腺功能测定的方法有哪些?
34、单项选择题 假设一种核素的物理半衰期为6h,生物半衰期为4h,该核素的有效半衰期是()
A.2.4h
B.6/4h
C.4/6h
D.2h
E.9h
35、问答题 TRH兴奋试验有何临床意义?
36、单项选择题 临床用于急性骨髓炎诊断与鉴别诊断最恰当的手段是()
A.X-CT骨显像
B.ECT局部骨断层显像
C.ECT局部骨静态显像
D.ECT骨三相检查
E.ECTTc-MIBI
37、单项选择题
1岁男孩,反复呕吐多次,均呈咖啡色,血红蛋白偏低,行TcO腹部显像如图,正确的诊断是()
A.Meckel憩室
B.小肠重复畸形
C.Barrett食管
D.未见异位胃粘膜征象
E.以上都不对
38、单项选择题 I的半衰期是()
A.6.02小时
B.8.04日
C.1.658小时
D.50.55日
E.109.8分钟
39、问答题 核素骨显像的异常表现有哪些?
40、单项选择题 心脏核素显像的介入试验包括()
A.次极量踏车试验
B.多巴酚丁胺试验
C.潘生丁介入试验
D.以上都是
E.以上都不是
41、问答题 肾功能动态显像正常表现有哪些?
42、问答题 肾动态显像在上尿路梗阻诊断中有何价值?
43、单项选择题
一患者上腹痛,行肝胶体及肝血池延迟6h显像如图,诊断是()
A.肝癌
B.肝局灶结节性增生
C.肝囊肿
D.肝硬化
E.以上都不是
44、单项选择题
一男性患者的Tc-MIBI运动-静息心肌灌注显像如图,你的诊断是()

A.左室后间壁缺血
B.大致正常的心肌显像
C.左室后侧壁缺血
D.左室后间壁梗死
E.左室前壁缺血
45、单项选择题 女性,60岁。1年前因右股骨颈骨折,行固定术,后痊愈出院。近2个月来,走路或活动较多时自感右髋部有疼痛。为明确诊断最好的检查是()
A.X线片检查
B.放射性核素全身骨显像
C.超声检查
D.放射性核素局部骨断层显像
E.以上都不是
46、单项选择题 移植肾动态显像,肾既无血流灌注,也无摄取,静态显像为放射性缺损区,提示()
A.血管栓塞
B.急性肾小管坏死
C.尿漏
D.尿路梗阻
E.环孢菌素A中毒
47、单项选择题 根据获取影像的时间,将核素显影分为()
A.局部显影和全身显影
B.静态显影和动态显影
C.平面显影和断层显影
D.早期显影和延迟显影
E.阴性显影和阳性显影
48、单项选择题 旋转中心测定是下列何种仪器的质量控制指标()
A.脏器功能测定仪
B.扫描机
C.γ照相机
D.正电子照相机
E.SPECT
49、单项选择题 对标记抗原的要求()
A.比活度高而适当
B.保持标记抗原的免疫活性
C.便于进行放射性测量
D.放化纯度高
E.以上均是
50、单项选择题 哪一项不是局部脑血流断层显像在诊断脑梗死方面的优势()
A.可较X-CT早期诊断
B.发现病灶较X-CT大
C.发现病灶较X-CT多
D.影像较X-CT清晰
E.可发现远期效应
51、填空题 乳腺癌骨转移是________、________、________。
52、多项选择题 放射性胶体共有哪些性质()
A.不溶解
B.不发生生物化学作用
C.胶体颗粒
D.可发生生物化学作用
E.可溶解
53、单项选择题 ______能用门电路装置来测定()
A.射血分数
B.上腔静脉梗阻
C.心室内分流
D.心包积液
E.以上都不是
54、多项选择题 下列哪些是反映放射性核素示踪技术的定义()
A.以放射性核素或标记化合物为示踪剂
B.应用射线探测仪器探测其行踪
C.研究样品中射线性质
D.研究示踪剂在生物体系或外界环境中分布及运动规律的技术
E.研究电离辐射对组织的作用机理
55、问答题 平衡法门控核素心血池显像的基本原理是什么?
56、单项选择题 放射性核素衰变的速度取决于()
A.衰变常数
B.放射性活度
C.衰变时间
D.环境温度
E.比活度
57、多项选择题
男,67岁,行硝酸甘油介入Tc-MIBI心肌灌注显像如图,可能的诊断为()

A.左室心尖梗死
B.左室心尖无存活心肌
C.左心室前壁、间壁、后壁严重缺血
D.左心室心尖室壁瘤
E.左心室后侧壁缺血
58、单项选择题 一中年男子,有高血压和心绞痛,临床表现为冠心病,如病人心肌为局部缺血,此时心肌Tl灌注显像可表现为()
A.运动相和再分布均无异常
B.运动相异常,再分布正常
C.运动相正常,再分布异常
D.运动相和再分布均异常
E.以上都可以
59、问答题 I治疗功能自主性甲状腺结节的原理是什么?适应证有哪些?
60、单项选择题 下列哪种情况血清β-HCG浓度不增高()
A.早孕及宫外孕
B.绒毛膜上皮癌
C.恶性葡萄胎
D.先兆流产和不全流产
E.乳腺癌
61、单项选择题 为了鉴别非梗阻性尿路扩张与机械性尿路梗阻需做下列哪种检查()
A.巯甲丙脯酸肾动态显像
B.利尿肾动态显像
C.肾静态显像
D.肾断层显像
E.标准肾动态显像
62、单项选择题
女性、32岁,发现颈前包块1个月,触诊质硬,sTSH<0.01mIU/L。行TcO甲状腺显像如图,最可能的诊断是()
A.先天性甲状腺缺如
B.桥本氏病
C.亚急性甲状腺炎
D.舌骨下异位甲状腺
E.甲状腺功能低下
63、单项选择题 对于Ga,下列哪项叙述是不正确的()
A.Ga静脉注射后大部分与血浆蛋白结合,特别是与转铁蛋白结合
B.Ga是广谱亲肿瘤显像剂
C.静脉注射Ga后,需在24h内完成显像
D.Ga在炎症病灶可表现阳性
E.Ga在肿瘤病灶可表现阳性
64、单项选择题 从裂变产物中分离提取,一般为β衰变核素()
A.I、Mo、Xe
B.Mo、I、Cr
C.ln、Ga、Tl、I
D.F、C、O
E.以上都不是
65、多项选择题
PET显像的优势有()
A.使用铅准直器
B.容易进行定量分析
C.不易进行衰减校正
D.使用的放射性核素是人体代谢必需的重要物质
E.有较高的灵敏度和空间分辨率
66、单项选择题 用Tc-DTPA做肾动态显像时,常用的放射性药物的剂量为()
A.2mCi
B.5~10mCi
C.15mCi
D.20mCi
E.30mCi
67、单项选择题 TSH基础值增高,TRH兴奋试验TSH明显增高,呈强反应考虑为()
A.正常
B.下丘脑性甲状旁腺功能减退
C.垂体性甲状旁腺功能减退
D.原发性甲状旁腺功能减退
E.以上都不正确
68、单项选择题
21岁男,既往有丝虫病史,行Tc-DX显像如图,正确的诊断是()

A.乳糜胸
B.乳糜尿
C.乳糜腹
D.右淋巴导管阻塞
E.以上都不是
69、问答题 简述心肌细胞活性测定的方法。
70、多项选择题
女,67岁,行静息及硝酸甘油介入心肌显像如图。可能的诊断是()

A.前壁、心尖、前间壁心肌梗死
B.心尖室壁瘤
C.梗死区基本无存活心肌
D.下后壁心肌缺血
E.后间壁心肌缺血
71、单项选择题 偏头痛病人rCBF显像常可见到()
A.在发病时rCBF减低,症状消失后恢复正常
B.在发病时rCBF增高,症状消失后恢复正常
C.在发病时rCBF减低,症状消失后仍低于正常
D.在发病时rCBF增高,症状消失后低于正常
E.在发病时rCBF减低,症状消失后高于正常
72、单项选择题 1Kg被照射物质吸收1J的辐射能量即等于100()
A.rad
B.Bq
C.Gy
D.rem
E.以上都不是
73、名词解释 急剧上升型肾图
74、多项选择题 SPECT脑血流灌注显像的适应证是()
A.成年人新近癫痫发作
B.伴发或不伴发神经系统定位症状的持续性头痛
C.脑脊液漏
D.早老性痴呆
E.脑卒中
75、多项选择题 关于PET的电子准直器正确说法有()
A.由于正电子的射程很短,电子准直的探测效率低
B.电子准直将正电子核素发射的正电子准直,使探测器能探测到正电子
C.利用时间符合确定湮没反应的空间位置
D.电子准直不使用吸收材料,探测效率高
E.电子准直可以使向各个方向辐射的光子改变方向,并将其按角度分组
76、多项选择题 当前的“图像融合”技术主要指()
A.将病理解剖图像与代谢影像融合
B.将血流影像与CT解剖图像融合
C.将代谢影像与CT影像融合
D.将代谢或血流影像与MR影像融合
E.将超声影像与核医学影像融合
77、单项选择题 局部脑血流断层显像(rCBF)不能对下列哪种疾病进行诊断()
A.短暂性脑缺血发作(TIA)的诊断
B.脑梗死的诊断
C.癫痫的诊断
D.动脉瘤及动静脉血管畸形的诊断
E.偏头痛的诊断
78、单项选择题 首次通过法显像时,图像上出现“脏污肺”,原因是()
A.存在右-左分流
B.存在左-右分流
C.存在心室-心房的反流
D.存在主动脉瘤
E.存在肺动脉瓣的反流
79、问答题 Tl心肌灌注显像适应证及相对禁忌证有哪些?
80、单项选择题 心功能显像中,室壁瘤的特征性表现是()
A.左心室影形态失常,呈局限性囊袋样膨出
B.心动电影显示局部有反向运动,ES边界超过ED边界
C.相角程明显增宽,常大于135°
D.时相直方图上室峰与房峰之间出现异常附加峰
E.以上都是
81、单项选择题 在局部脑血流断层显像中,帕金森病脑血流灌注的改变以下列哪一项为主()
A.基底节血流增高
B.枕叶血流增高
C.丘脑血流增高
D.基底节血流减低
E.小脑血流增高
82、多项选择题
男,21岁,无痛血尿半年。体检恶病质面容。行全身骨显像如图。对此描述正确的是()
A.大致正常的骨影像
B.多发性骨转移瘤
C.胸12椎体“冷区”,可能为溶骨性破坏
D.胸12椎体骨转移瘤
E.原发病可能是泌尿系统恶性肿瘤
83、多项选择题 心肌灌注运动负荷试验中,出现下列哪些情况时,开始注射显像剂()
A.心率达到190-年龄
B.ECG的ST段下移>1mV
C.受检者心绞痛发作
D.血压异常升高或降低
E.出现严重的心律失常
84、单项选择题 骨显像中呈放射性增高区是()
A.仅见于骨肿瘤
B.仅见于骨外伤
C.仅见于骨炎症
D.均可见于骨肿瘤、外伤、炎症
E.无法见于骨肿瘤、外伤、炎症
85、单项选择题 下列肾移植术后并发症中哪个在肾图中一般不会出现C段持续上升的异常曲线()
A.排异反应早期
B.输尿管梗阻
C.肾动脉血栓形成
D.尿漏
E.急性肾小管坏死
86、单项选择题 异位胃粘膜显像时,部分憩室出现假阴性,原因是()
A.未禁食
B.服用了阻断胃粘膜摄取及促蠕动分泌药物
C.憩室内无异位胃粘膜
D.憩室内炎症
E.以上都是
87、单项选择题 _______情况下,TT浓度增高()
A.甲状腺功能正常,低蛋白血症
B.甲状腺功能正常,高蛋白血症
C.T型甲状腺功能亢进
D.口服碘剂以后
E.甲亢治疗后
88、多项选择题 放射免疫分析与免疫放射分析比较,两种分析方法的相同之处是()
A.均系免疫反应
B.均系标记抗体
C.测量对象都是待测抗原物质
D.都是竞争性结合分析
E.都是反映抗原抗体的免疫活性
89、单项选择题 下列哪一项不是扩张型心肌病在心功能及心肌灌注显像中的()
A.花斑样异常
B.反转型心肌缺血
C.心腔影扩大
D.弥漫性室壁运动低下
E.收缩及舒张期功能受损
90、单项选择题 急性骨髓炎ECT早期显示骨质异常的时间为发病后()
A.24~48小时
B.96小时
C.1周
D.2周
E.4周
91、单项选择题 心肌梗死后心肌缺血坏死而形成的室壁瘤在局部室壁运动(RWM)的特异性征象是()
A.运动正常
B.轻度运动低下
C.重度运动低下
D.反向运动(或矛盾运动)
E.无运动
92、填空题 异位胃粘膜的表现有三种包括:_______、_______、_______。
93、单项选择题 骨显像的适应证,下列哪种情况不属于这一范围()
A.不明原因的骨痛
B.前列腺癌,PSA>10μg/L
C.临床可疑骨折,X线阴性
D.类风湿关节炎非活动期
E.代谢性骨病
94、单项选择题 正常骨显像的特点,下列哪一项是错误的()
A.全身骨骼放射性分布均匀而且对称
B.胸骨清晰可见,胸锁关节和胸骨柄处常见有放射性增高表现
C.双肾一般是不显影的
D.鼻咽部浓聚较高放射性
E.老年人双膝关节处可浓聚较多显像剂
95、单项选择题 骨髓显像中放射性胶体物质与骨髓内何种细胞成分相结合而使其显像()
A.红细胞生成细胞
B.粒细胞生成细胞
C.网状内皮细胞
D.骨髓网状细胞
E.骨小梁
96、多项选择题 放射免疫分析的必备条件是()
A.放射性核素标记的抗原
B.标准品
C.特异性抗体
D.B和F的分离技术
E.抗原标记方法应较温和
97、多项选择题 乳腺癌骨转移形成的途径有()
A.体循环
B.淋巴
C.Batson静脉系统
D.脊椎静脉系统
E.内乳静脉系
98、单项选择题 对于患者的防护,核医学医生最关心的是()
A.实践的正当性与防护的最优化
B.患者的年龄与体质
C.患者的受照射剂量
D.医务人员的受照剂量
E.患者排出物的收集管理
99、问答题 硝酸甘油介入试验的原理是什么?
100、填空题 心肌缺血者,休息时EF多正常,运动试验后则________。
101、单项选择题 用Tc-MIBI行心肌显影,一般于注射显影剂后1~1.5h开始显影才能得到质量好的心肌影像,其主要原因是()
A.由于Tc-MIBI在心肌内无再分布
B.至此时心血池及大血管内显影浓度才明显降低
C.此时肺、肝内放射性明显减低,而Tc-MIBI在心肌中浓度仍很高
D.由于Tc-MIBI在心肌内聚集速度慢
E.至此时胃内放射性才明显减低,此时显影能减少胃对心肌影像的干扰
102、问答题 平衡法门控核素心血池正常图像表现如何?
103、单项选择题 属于分子水平的核医学显像仪器是()
A.SPECT
B.γ照相机
C.PET
D.液体闪烁计数器
E.扫描机
104、单项选择题 调节醛固酮的分泌主要是()
A.血Na浓度
B.血K浓度
C.肾素-血管紧张素
D.ACTH
E.血容量改变
105、单项选择题 介入或负荷显像的目的是()
A.了解脏器或组织的贮备功能
B.了解脏器的血流
C.鉴别病变的良、恶性
D.提高图像的分辨率
E.加快显像剂的排泄
106、问答题 骨髓显像的基本原理是什么?
107、单项选择题 核素肝胆动态显像中,先天性胆道闭锁的影像特点是()
A.肠道24小时仍不出现放射性
B.胆道延迟到4小时不显影
C.胆囊延迟到4小时不显影
D.肝显影延迟
E.肝脏不显影
108、单项选择题
女性,55岁,左大腿上部疼痛3个月,X线片、CT均提示左股骨上段骨囊肿,行全身骨显像如图,最可能的诊断是()
A.左股骨上段骨囊肿
B.右侧第9后肋、左股骨上段骨转移癌
C.右侧第9后肋、左股骨、左侧髋臼等骨转移改变
D.未见明显骨转移征象
E.以上都不是
109、单项选择题 用于脑灌注显像的显像剂,必须有以下特性()
A.带正电荷
B.带负电荷
C.不带电荷
D.一端带正电荷,一端带负电荷
E.亲水端带正电,疏水端带负电荷
110、单项选择题 从图像滤波的观点看,重建断层时采用的斜坡滤波与窗口函数相乘的方法,是为了实现()
A.低通滤波
B.最佳滤波
C.恢复滤波
D.时间平滑
E.反滤波
111、单项选择题 诊断TIA最好选用()显像。
A.rCBF
B.脑血管动态
C.脑静态
D.脑池
E.脑室
112、问答题 肺癌阳性显像如何进行结果判断?
113、单项选择题
71岁女性,突发鲜血便5小时,急诊行99Tcm-RBC消化道出血显像如图,随后行选择性肠系膜动脉血管造影术如图,诊断是()
A.横结肠出血
B.空肠出血
C.回肠出血
D.乙状结肠出血
E.以上都不是
114、多项选择题 分析核医学影像时,要密切联系哪些情况()
A.核物理知识
B.生理解剖学知识
C.临床所见
D.病史资料
E.射线能量高低
115、问答题 简述C-尿素呼气试验检测幽门螺旋杆菌的机制。
116、问答题 肾动态显像的适应证有哪些?
117、单项选择题 核医学治疗中所常用的放射性药物,主要利用其放出射线()
A.α线
B.β+线
C.β-线
D.γ线
E.康普顿电子射线
118、单项选择题
在葡萄糖负荷条件下,关于18F-FDG心肌显像中存活心肌与坏死心肌的图像,下列表现正确的是()
A.存活心肌摄取,坏死心肌不摄取
B.存活心肌不摄取,坏死心肌不摄取
C.存活心肌摄取,坏死心肌摄取增加
D.存活心肌不摄取,坏死心肌摄取增加
E.存活心肌摄取减少,坏死心肌摄取增加
119、单项选择题 介入试验后较静息态EF值增加的标准为()
A.>5%
B.>10%
C.>2%
D.>5%
E.>20%
120、单项选择题 在唾液腺静态显像中有助于其形态和位置的观察是()
A.皮下注射阿托品0.5mg
B.口服苯巴比妥
C.皮下注射五肽胃泌素
D.注射胰高血糖素
E.脂餐试验
121、单项选择题 分化型甲状腺癌骨转移,I治疗的常用剂量为()
A.7.4GBq
B.185MBq
C.3.7GBq
D.740GBq
E.2.96GBq
122、多项选择题
右乳癌根治术后5年,无明显不适,血清CA153正常,行全身骨显像如图,可能的诊断是()
A.多发骨转移瘤
B.骨质疏松
C.腰椎退行性改变
D.腰4、5骨转移瘤
E.大致正常的骨影像
123、多项选择题
患者40岁,主诉右侧阴囊疼痛24h,查体右侧阴囊红肿明显。其动态血流灌注可见“nubbin”征;静态血池显像如图。描述正确的是()
A.右侧睾丸放射性分布呈“晕圈征”
B.提示右侧睾丸炎症
C.提示右侧附睾睾丸炎
D.提示右侧睾丸蒂扭转
E.“晕圈征”越明显,睾丸存活的概率越小
124、单项选择题 Ga炎症显像时,Ga成人常用剂量是()
A.37MBq
B.185~370MBq
C.555~740MBq
D.740~925MBq
E.>925MBq
125、多项选择题
67Ga可在哪种肝占位性病变中浓聚()
A.肝血管瘤
B.肝细胞癌
C.肝脓肿
D.淋巴瘤
E.肝囊肿
126、单项选择题 运动心肌显像出现灌注减低,静息或延迟显像为正常,提示()
A.心肌梗死
B.梗死伴缺血
C.心肌缺血
D.心肌病
E.心肌存活
127、单项选择题 探头均匀性降低,光电倍增管、闪烁计数器、准直器、电子学线路的故障所产生的伪影为哪种原因所致()
A.受检者的原因
B.来自放射性核素显像剂的原因
C.来自机械性的原因
D.来自显像技术方面的原因
E.其他原因
128、单项选择题 继发性甲状旁腺功能减退()
A.TSH正常
B.TSH升高
C.TSH降低
D.TSH可升高亦可降低
E.以上都不正确
129、单项选择题 放射性工作场所的三区制度是指()
A.清洁区,工作区,活性区
B.低活性区,中活性区,高活性区
C.清洁区,中间区,活性区
D.清洁区,中间区,污染区
E.清洁区,高活性区,工作区
130、单项选择题
17岁男孩,突发黑便3天,行99TcmO3腹部显像如图,正确的诊断是()
A.箭头所示异位胃粘膜
B.箭头所示Barrett食管
C.箭头所示肠重复畸形
D.箭头所示Meckel憩室
E.以上都不对
131、单项选择题 不属于分子核医学研究范畴的是()
A.代谢显像
B.受体显像
C.反义显像和基因显像
D.凋亡显像
E.血流灌注显像
132、单项选择题 F—脱氧葡萄糖(FDG)脑断层显像是采用()
A.脏器功能测定仪
B.γ照相机
C.正电子照相机
D.SPECT
E.PET
133、单项选择题
男性,11岁,反复多发骨折3年,体检身材矮小,X型腿,行Tc-MIBI双时相显像如图,诊断是()
A.继发性甲状旁腺功能亢进症
B.左甲状腺癌
C.甲状旁腺瘤
D.异位甲状旁腺瘤
E.Graves’病
134、单项选择题 既往有完全性左束支传导阻滞(LBBB)病人疑有心肌梗死出现时,既能明确诊断,又能了解梗死的部位和范围的检查方法是()
A.心电图
B.冠状动脉造影
C.亲心肌梗死显像
D.心肌酶学
E.24小时动态心电图
135、问答题 唾液腺显像的原理及临床意义如何?
136、多项选择题 天然本底辐射包括()
A.宇宙射线
B.地球辐射
C.内照射
D.X射线
E.中子
137、单项选择题
男性,73岁,呼吸窘迫3天,既往有高血压、冠心病史,行肺灌注/肺通气显像如图,诊断是()

A.未见肺栓塞表现
B.多发肺栓塞
C.COPD
D.多发肺转移癌
E.肺结核
138、填空题 肺灌注显像常见的异常影像,在排除各种因素干扰及伪影前提下,应考虑为____________所致
139、问答题 心肌灌注显像在冠心病治疗过程中有何作用?
140、问答题 甲状腺激素抑制试验的适应证及临床意义是什么?
141、问答题 局部脑血流显像的基本原理。
142、问答题 简述影响骨显像质量的因素。
143、单项选择题 规定的化学形式放射性活度占放射性药物总放射性活度的百分数,称为()
A.放射性核纯度
B.放射化学纯度
C.化学纯度
D.放射性活度
E.放射性比活度
144、单项选择题 未经治疗的甲状腺功能亢进病人()
A.TSH正常
B.TSH升高
C.TSH降低
D.TSH可升高可降低
E.以上都不正确
145、单项选择题
男,10岁,1年前有摔跤史,未予重视,近期出现右下肢疼痛,行Tc-MDP全身骨显像及髋关节断层显像如图,最可能的诊断是()

A.右下肢股骨颈、粗隆肿瘤征象
B.右侧股骨头缺血
C.右侧股骨近端骨髓炎
D.右下肢蜂窝织炎
E.右股骨近端陈旧性骨折
146、问答题 骨动态显像分___________、___________、___________3个时相。
147、单项选择题 在外照射防护措施中,常使用有机玻璃、铝、塑料等低原子序数作为屏蔽材料进行防护的射线是()
A.Χ射线
B.γ射线
C.β射线
D.中子
E.质子
148、单项选择题
男,56岁,行99Tcm-MDP双手骨显像如图,X线阴性,RF阴性,ESR、CRP稍增高,UA408μmol/L,最可能的诊断是()
A.活动期类风湿关节炎
B.风湿性关节炎
C.正常的手部关节影像
D.痛风性关节炎
E.早期类风湿关节炎
149、单项选择题 ECT影像与其他影像技术的比较,其主要缺点是()
A.显示功能差
B.不能显示脏器形态
C.图像的解剖结构分辨力差
D.是一种功能影像
E.一种解剖学影像
150、多项选择题 骨骼各部位聚集放射性核素骨显像剂的多少,主要与哪些因素有关()
A.骨有机质代谢
B.骨血流
C.骨神经
D.骨无机盐代谢
E.成骨细胞活跃程度
151、单项选择题 癫痫脑血流灌注显像示()
A.病灶为灌注减少或缺失,对侧小脑半球灌注减低
B.基底节不对称灌注减低伴大脑各叶灌注减低
C.间歇期血流灌注减低,发作期病灶处灌注增高
D.额、顶、颞叶为主的广泛血流灌注减少,表现为“分水岭”征
E.血流灌注表现各异或减低或局灶性增高,或两者现象并存
152、单项选择题 新生儿先天性甲状腺功能减低症早期筛选最佳指标为()
A.血清FT和TSH
B.血清FT和TSH
C.血清TSH
D.血清T
E.血清rT
153、多项选择题 常用于核心脏病学检查的放射性药物为()
A.99Tcm-MIBI用于心肌灌注显像
B.99Tcm-DTPA可用于首次通过法心血管造影
C.99Tcm-焦磷酸盐可用于心肌梗死阳性显像
D.13NH3用于心肌灌注显像
E.99Tcm-RBC用于ECG门电路平衡法
154、问答题 脑静态显像正常或异常影像特征有哪些?
155、单项选择题 过氯酸钾排泌试验判断异常的标准是()
A.<1%
B.<2%
C.<5%
D.<10%
E.>10%
156、单项选择题 在SPECT脑灌注显像中,脑梗死时出现交叉性小脑失联络征,对侧小脑表现为()
A.灌注增加
B.灌注减低
C.灌注不变
D.无灌注
E.外形增大
157、单项选择题
一患者19岁,反复发作高血压,行肾动态显像及隔日卡托普利介入肾动态显像如图,正确的诊断是()
A.左侧肾动脉狭窄
B.右侧肾动脉狭窄
C.正常的肾动态显像
D.双侧肾动脉狭窄
E.以上都不是
158、多项选择题 I治疗甲状腺功能亢进前患者心率较快,情绪紧张,如对症处理应给予()
A.抗菌素
B.镇静剂
C.抗甲状腺药物
D.β受体阻滞剂
E.碘剂
159、问答题 简述影响骨骼聚集磷(膦)酸盐的因素。
160、问答题 简述运动负荷试验的基本原理。
161、单项选择题 在SPECT的脏器显影中,最理想常用的放射性核素是()
A.I
B.Ga
C.Tc
D.I
E.F
162、单项选择题 临床上对前列腺癌骨转移最灵敏的诊断检查是()
A.X-CT
B.碱性磷酸酶
C.核素骨显像
D.酸性磷酸酶
E.MRI
163、单项选择题
99Tcm甲基色氨酸(PMT)延迟显像中下何种肝脏疾病病灶处可呈放射性增高区()
A.肝血管瘤
B.肝囊肿
C.原发性肝细胞肝癌
D.转移性肝肿瘤
E.肝硬化
164、单项选择题
男,鼻咽癌放疗后1年,诉右侧胸痛2个月,行99Tcm-MDP骨显像如图,可能的诊断是()
A.右侧第6、7前肋骨转移瘤
B.胸8、9转移瘤
C.大致正常的影像
D.如果行X线检查,胸8、9椎体应为溶骨性破坏
E.对腰椎行断层骨显像是有必要的
165、问答题 骨转移瘤核素治疗的基本原理是什么?
166、单项选择题 来自γ相机的模拟信号经过哪种器件变成计算机的数字信()
A.电压-电流转换器
B.模拟-数字转换器
C.变压器
D.数字-模拟转换器
E.放大器
167、问答题 甲状腺摄I试验的适应证有哪些?正常参考值是多少?
168、问答题 静脉造影的正常表现有哪些?
169、单项选择题 放射防护的目的在于防止有害的非随机效应,并将随机性效应的____降低到可被认为安全的水平()
A.严重程度
B.发生率
C.危险度
D.允许剂量
E.以上都不是
170、单项选择题 肝脏浓聚放射性胶体药物的机理是()
A.主动运输
B.间隔浓聚
C.吞噬作用
D.毛细血管栓塞
E.以上都不对
171、单项选择题 下列哪项不是肾静态显像的应用()
A.肾小球滤过率测定
B.肾实质内占位性病变
C.肾脏位置
D.肾脏大小
E.以上都不正确
172、单项选择题 肺灌注显像的原理是以下哪一种机制()
A.细胞选择性摄取
B.化学吸附作用
C.微血管栓塞
D.特异性结合
E.非特异性结合
173、单项选择题
中年男性体检,行肝血池显像早期+延迟显像如图,诊断是()
A.肝右后叶血管瘤
B.肝左叶血管瘤
C.肝多发血管瘤
D.正常肝血池显像
E.肝右后叶肝癌
174、问答题 关节显像的基本原理是什么?
175、单项选择题 下列何种情况可表明病灶心肌已无活力()
A.201Tl显像在运动负荷时呈放射性缺损区,静息再分布时可见放射性填充
B.99Tcm-MIBl显像在运动负荷时呈放射性缺损区,静息再分布时可见放射性填充
C.201Tl显像和18F-FDG显像中均呈放射性缺损区
D.201Tl显像时呈放射性缺损区,18F-FDG显像则呈放射性增高区
E.99Tcm-MIBI显像呈放射性减低区,18F-FDG则呈放射性增高区
176、问答题 心肌代谢显像的基本原理是什么?适应证有哪些?
177、单项选择题 骨显像图出现肺、胃和肾放射性摄取增加,常见于哪种疾病()
A.骨髓硬化
B.组织细胞增多症
C.成骨肉瘤转移
D.甲状旁腺功能亢进
E.甲状腺功能亢进
178、名词解释 超级骨显像
179、问答题 简答甲状腺显像的原理。
180、问答题 甲状腺亲肿瘤显像原理及适应证有哪些?
181、多项选择题 动态显像分析要点主要包括()
A.显像的顺序
B.心脏是否显影
C.三维分布
D.脏器或组织密度
E.时相变化
182、单项选择题 初诊甲状腺功能亢进的患者(未用过抗甲状腺功能亢进药物治疗前),其甲状腺摄I率的典型特征是()
A.在服I后第24小时的摄I率明显升高,峰时位于第24小时
B.在服I后第24小时的摄I率低于正常范围
C.在服I后第3~6小时的摄I率高于正常范围
D.在服I后第24小时的摄I率高于正常范围且伴速度增快
E.以上都不对
183、多项选择题
女,22岁,阵发性高血压2年,间歇性头痛、胸背痛半年,CT示右肾门区占位病变,行I-MIBG全身显像+局部X线定位及Tc-MDP骨显像如图,可能的诊断是()
A.多发的异位嗜铬细胞瘤
B.恶性嗜铬细胞瘤广泛转移
C.多发骨转移瘤
D.颅骨无转移瘤
E.右眼球后交感神经节受累
184、单项选择题 两个点源的物理距离与图像上用重心法测定的这两个点源间的像素数目之比,表示的是()
A.γ相机的空间分辨率
B.像素的绝对大小
C.γ相机的空间线性
D.γ相功能量分辨率
E.γ相机的均匀性
185、问答题
(1)上述症状应首先考虑哪个诊断?
(2)为了进一步明确诊断,应选择哪些对本病最有诊断价值的检查方法?
(3)脑CT及F-FDG脑代谢显像所示如图,请描述CT、F-FDG检查结果并作出诊断。
(4)拟订一个个体化的治疗方案。
186、单项选择题
99Tcm-HIDA静脉注射后在肝、胆显像的正常表现中,下列哪个是错的()
A.3~5min肝影最清晰
B.5~10min胆管及胆总管显影
C.10min前胆囊显影
D.20~30min十二指肠显影
E.30min后肠道放射性逐渐增强
187、多项选择题
女,43岁,发现颈部包块1月,体检:颈部包块质硬,无压痛。TcO甲状腺显像如图,对右叶甲状腺结节的描述正确的是()
A.是“热结节”
B.是“冷结节”
C.是“温结节”
D.可能为甲状腺癌
E.可能为甲状腺瘤伴出血
188、问答题 肾脏静态显像的基本原理是什么?
189、多项选择题 能获得心脏功能指标的显像方法有()
A.首次通过法心血池显像
B.门电路心血池显像
C.门电路心肌显像
D.201Tl运动-再分布显像法
E.99Tcm-MIBI运动-静息隔日显像法
190、单项选择题 F-FDGPET定量指标SUV是指()
A.T/NT摄取比值
B.病灶区标准摄取值
C.病灶区血流灌注值
D.每克组织中的糖代谢率
E.每克组织中的放射性计数
191、问答题 甲状腺热结节的影像表现及其临床意义。
192、问答题 介入试验后心肌灌注显像表现有哪些?
193、单项选择题 肝血池显像中肝囊肿处血池放射性较周围肝组织为()
A.增高
B.相似
C.稍低
D.较低
E.缺损
194、问答题 肝血管瘤在肝静态显像、肝血流显像和肝血池显像的影像特征是什么?
195、单项选择题 常用的甲状腺显像剂()
A.Tl和Tc-MIBI
B.Tc-MDP和Tc-HMDP
C.TcO
D.Tc-DTPA
E.Tc-MAA
196、单项选择题 心肌梗死灶显像的主要显像剂为()
A.201Tl
B.99mTc-PYP
C.99mTc-MDP
D.99mTc-WBC
E.99mTc-RBC
197、单项选择题 下列哪种情况下,血浆皮质醇浓度不增高()
A.肾上腺皮质增生
B.肾上腺皮质腺瘤
C.肾上腺皮质癌
D.库欣综合征
E.嗜铬细胞瘤
198、多项选择题 图像重建滤波器的截止频率选择要点包括()
A.图像计数越高,截止频率越高
B.图像矩阵越大,截止频率越低
C.探头分辨率越好,截止频率越高
D.图像矩阵越大,截止频率越高
E.探头分辨率越好,截止频率越低
199、单项选择题 剂量单位贝克勒尔是()
A.照射量的单位
B.剂量当量的单位
C.放射性活度的单位
D.半衰期的单位
E.光子能量的单位
200、多项选择题 具有连续能谱的粒子有()
A.γ光子
B.β+粒子
C.α粒子
D.β-粒子
E.内转换电子
201、问答题 简答局部脑血流显像的原理。
202、问答题 核素显像在肺功能检查中有何临床意义?
203、单项选择题 导致Meckel憩室显像假阳性的原因()
A.阑尾炎
B.憩室内炎症
C.异位胃粘膜壁细胞数量少
D.异位胃粘膜壁细胞坏死
E.以上都不是
204、单项选择题
一患者心悸、呼吸困难1年,伴下肢浮肿,行99Tcm-RBC心血池显像如图,诊断是()

A.肥厚型心肌病
B.扩张型心肌病
C.缺血性心肌病
D.心尖室壁瘤
E.以上都不是
205、多项选择题 理想的脑显像剂需具备哪些条件()
A.药物在血液中清除比较快
B.病变与正常脑组织对比度好
C.所使用的放射性核素能量及半衰期适当对人体无害
D.价廉,易于获得和制备
E.半衰期越短越好
206、问答题 甲状腺的核医学检查方法有哪几类?每一类各举两法说明之.
207、问答题 甲状腺兴奋试验的基本原理是什么?
208、单项选择题 肝血池显像中转移性肝肿瘤处血池放射性较周围肝组织为()
A.增高
B.相似
C.较低
D.明显低
E.缺损
209、多项选择题 下列哪些疾病可出现十二指肠胃反流()
A.胃溃疡
B.慢性胃炎
C.功能性消化不良
D.胃切除术后
E.反流性食管炎
210、多项选择题 骨骼病变处于早期反应阶段时可有什么相关变化()
A.局部血供正常或稍降低
B.溶骨和成骨反应同时并存,骨显像呈“热区”或“冷区”改变
C.骨盐代谢活跃旺盛
D.骨局部血供增加
E.以上都是
211、问答题 PET脑显像(脑代谢显像)的基本原理是什么?
212、多项选择题 肝胆动态显像中,使用促胆囊收缩素的作用()
A.用以在检查前排空充满没有放射性胆汁的胆囊
B.测定胆囊收缩功能
C.避免假阳性
D.避免假阴性
E.,缩短显像时间
213、多项选择题
女性,31岁,主诉全身多处疼痛半年,行TcO双时相甲状旁腺显像及Tc-MDP全身骨显像如图,描述正确的是()

A.右侧甲状旁腺腺瘤
B.甲状旁腺功能亢进
C.右侧腹部浓聚影为软组织钙化
D.无“领带样”胸骨征象
E.骨显像提示代谢性骨病
214、单项选择题 甲状腺吸碘率高峰前移常见于()
A.甲状腺腺瘤
B.亚急性甲状腺炎
C.桥本甲状腺炎
D.Graves’病
E.甲状腺功能减退症
215、单项选择题 急性胆囊炎患者,肝胆动态显像时,多表现为胆囊()
A.过度显影
B.部分显影
C.正常显影
D.不显影
E.以上都不是
216、单项选择题 关于股骨头坏死最常见的病因,下列哪个答案是正确的()
A.股骨颈骨折
B.酒精中毒
C.肿瘤放射治疗
D.长期大量使用或滥用激素
E.创伤性髋关节后脱位
217、多项选择题 可作为肝血池显像剂的有()
A.Tc-红细胞
B.Tc-白蛋白
C.Tc-DX
D.Tc-EHIDA
E.Tc-ECD
218、单项选择题 骨显像用于原发性骨肿瘤()
A.良恶性鉴别
B.定性诊断
C.排除炎症性骨病变
D.排除外伤性骨病变
E.了解肿瘤确切范围和其他骨组织情况
219、问答题 甲状腺血流显像的临床意义如何?
220、单项选择题 甲状腺细胞摄取碘通过()
A.主动转运
B.易化扩散
C.单纯扩散
D.入胞作用
E.出胞作用
221、问答题 心肌灌注显像检查对心绞痛诊断价值如何?
222、单项选择题 在肾显像中同时要获得肾图曲线,需用下列何种检查()
A.肾静态显像
B.肾灌注显像
C.肾动态显像
D.放射性核素肾血管造影
E.SPECT肾断层显像
223、多项选择题 母核发生β衰变后,发生下列哪些变化()
A.子核的核子数增加1
B.子核的质子数增加1
C.子核的中子数增加1
D.子核的中子数减少1
E.子核的质子数减少1
224、单项选择题 Parkinson病在SPECT脑灌注显像中血流灌注改变可见到()
A.基底节血流增高
B.基底节血流减低
C.小脑血流增高
D.枕叶血流增高
E.丘脑血流增高
225、单项选择题
女性,56岁,咳嗽、咯血3天,既往有肺结核病史,结核菌素试验阳性,CT示右肺占位,行F-FDG显像如图,SUV值7.8,诊断是()

A.右肺活动性结核
B.右肺癌伴中央坏死
C.淋巴瘤
D.结节病
E.炎性假瘤
226、多项选择题 使用下列显像剂过程中何种显像能观察到脾影()
A.99Tcm-胶体
B.99Tcm-EHIDA
C.99Tcm-植酸盐
D.99Tcm-RBC
E.99Tcm-PMT
227、问答题 肺通气显像在慢性阻塞性肺疾病诊断中有何临床意义?
228、问答题 肾动态显像基本原理是什么?包括哪些检查?
229、单项选择题 放射性核素脑血管造影常用的显像剂为()
A.TcO
B.Tc-ECD
C.Tc-GH
D.Tc-DTPA
E.Tc-HMPAO
230、单项选择题 超级骨显像可出现于以下哪种疾病()
A.骨转移癌
B.原发性甲状旁腺功能亢进症
C.肾性骨营养不良
D.继发性甲状旁腺功能亢进症
E.以上均可
231、单项选择题 放射性样品计数产生统计误差的原因是()
A.测量仪器不稳定
B.测量仪器的使用环境变化
C.仪器操作者统计计数时计算错误
D.放射性核衰变数目的统计涨落
E.二项式分布的非对称性
232、多项选择题
男,42岁,胆囊癌术后1年,无明显不适,行全身骨显像如图,可能的诊断是()
A.多发骨转移改变征象
B.大致正常的影像
C.无明显“冷区”改变
D.有“甜面圈”征象
E.有“领带征”
233、单项选择题 若病人未经治疗,梗阻时间长,肾功能严重受损,此时的肾图可能是()
A.持续上升型
B.高水平延长线型
C.抛物线型
D.低水平延长线型
E.阶梯式下降型
234、问答题 股骨头缺血性坏死时,早期进行骨显像检查骨骼区呈现__________样改变,晚期呈现__________样改变。
235、单项选择题 RIA试剂盒中,常用来标记抗原的是()
A.I
B.I
C.I
D.P
E.In
236、问答题 脊髓蛛网膜腔及脑池显像在神经外科分流术中的作用是什么?
237、单项选择题
一患者静息99Tcm-MIBI心肌灌注显像如图,诊断是()

A.急性心尖前壁、间壁心肌梗死
B.心尖、前壁、间壁陈旧性心肌梗死
C.心尖、前壁、间壁梗死
D.梗死区无存活心肌
E.以上都不是
238、问答题 PET在帕金森病和精神分裂症诊断中有何临床意义?
239、问答题 骨动态显像有何临床意义?
240、名词解释 肾动态显像的功能相
241、问答题 肾动态显像在肾动脉栓塞诊断中有何意义?
242、单项选择题 影响首次通过法结果的可靠性的因素有()
A.显像剂体积过大
B.剂量太低
C.注射过慢
D.显像仪器的灵敏度较低
E.以上都是
243、多项选择题 LAO45度平面心肌灌注显像,可显示左室哪几个心肌节段()
A.后侧壁
B.前侧壁
C.心尖
D.下壁
E.间隔
244、多项选择题
女性,51岁,高血压病,行门控心血池显像如图,描述正确的是()

A.左室LVEF大致正常
B.振幅图左心室呈反“C”型
C.左右心室收缩基本同步,协调
D.有室壁瘤峰存在
E.若弥漫性室壁运动减低,提示扩张型心肌病可能
245、多项选择题 运动试验的相对禁忌证包括()
A.劳累性心绞痛
B.不稳定型心绞痛
C.急性心肌梗死
D.严重心律失常
E.急性心肌炎
246、多项选择题 肺动脉栓塞典型的影像学表现包括()
A.肺灌注显像表现为多发的肺段性放射性分布减低或缺损区
B.肺灌注显像表现为多发的肺段性放射性分布浓聚区
C.同期肺通气显像正常
D.胸部X线检查正常
E.同期肺通气显像异常
247、多项选择题 下列哪些是有关湮灭辐射的正确说法()
A.湮灭辐射的实质是γ光子损失全部能量后消失
B.湮灭辐射必须有正电子参与
C.湮灭辐射又称光化辐射
D.湮灭辐射中产生的电子称为内转换电子
E.湮灭辐射生成2个能量各为511keV的γ光
248、问答题 简述心肌灌注显像的原理。
249、问答题 简述理想的骨显像剂应符合的要求。
250、单项选择题
男,46岁,诉右下肢疼痛,跛行2个月,行全身骨显像如图,可能的诊断是()
A.右侧股骨下端骨转移瘤
B.右股骨下端浓聚灶中含放射性稀疏区
C.右股骨含溶骨性病变
D.右侧股骨下端原发骨肿瘤改变征象
E.右侧髋臼转移瘤征象
251、问答题 脑池显像诊断脑萎缩有何价值?
252、单项选择题 肺灌注显像注入显剂颗粒数宜为()
A.1~10万个
B.10~20万个
C.20~70万个
D.70~120万个
E.120万个以上
253、单项选择题 调节体内钙磷平衡的主要因素之一,下列哪个答案是正确的()
A.甲状腺激素
B.生长激素
C.心钠素
D.甲状旁腺激素
E.醛固酮
254、多项选择题 与一般的电子地图相比较,网络地图有哪些不同特点?()
A.可以实现动画
B.适时动态更新
C.可以实现图上的长度、角度、面积等自动化测量
D.用虚拟现实技术将地图立体化、动态化,令用户有身临其境之感
255、多项选择题 属于核受体的是()
A.糖皮质激素受体类
B.生长激素受体
C.N-胆碱受体
D.促甲状腺激素受体
E.胰岛素受体类
256、多项选择题 肺灌注显像的临床应用价值()
A.肺动脉栓塞的诊断和疗效判断
B.肺动脉高压的诊断和鉴别诊断
C.肺部肿瘤切除手术适应证的选择、术后肺功能预测
D.慢性阻塞性肺疾病肺减容手术前适应证的选择、手术部位和范围的确定
E.疑大动脉炎综合征等疾病累及肺血管者
257、问答题 心肌灌注显像在心肌病的诊断或鉴别诊断中有何作用?
258、问答题 肺通气显像的适应证有哪些?
259、问答题 为什么要进行脑显像介入试验?试述脑灌注显像介人试验的临床应用价值。
260、多项选择题 分化型甲状腺癌,常用的综合治疗措施包括()
A.手术切除
B.I去除术后残留甲状腺组织
C.I治疗分化型甲状腺癌转移灶
D.甲状腺激素抑制治疗
E.抗甲状腺药物治疗
261、单项选择题 下列哪种疾病无甲状腺吸I率增高的表现()
A.甲状腺功能亢进
B.单纯性甲状腺肿
C.亚急性甲状腺炎
D.Pendred综合征
E.缺碘性甲状腺肿
262、问答题 运动负荷试验的适应证有哪些?
263、单项选择题 核医学显像类型的分类,下列错误的是()
A.静态显像和动态显像
B.局部显像和断层显像
C.局部显像和全身显像
D.平面显像和断层显像
E.早期显像和延迟显像
264、问答题 首次通过法核素心血管造影正常表现有哪些?
265、多项选择题 淋巴显像有哪些临床意义()
A.恶性淋巴瘤
B.淋巴水肿
C.前哨淋巴结探测
D.恶性淋巴瘤淋巴转移
E.恶性肿瘤放疗布野
266、填空题 作心肌梗死灶阳性显像的时间以发病后________最为合适。
267、填空题 慢性阻塞性肺疾病及肺动脉高压的典型表现是:灌注显像与通气显像__________的放射性减低区或缺损区,与________无关,其中肺动脉高压表现为:__________,形成一种“八”字形。
268、多项选择题
男,69岁,肺癌化疗中,诉下肢疼痛3个月,行全身骨显像如图,可能的诊断()
A.未见骨转移征象
B.双侧膝关节转移瘤
C.双侧胫骨转移瘤
D.双下肢肥大性骨关节病
E.有“热髌征”
269、多项选择题 放射性核素显像有“热区”显像和“冷区”显像,其中“冷区”显像有()
A.肝胶体显像
B.急性心肌梗死灶显像
C.肾静态显像
D.心肌灌注显像
E.Meckel憩室
270、名词解释 甲状腺激素释放激素(TRH)兴奋试验
271、多项选择题 重复用I治疗甲状腺功能亢进,I剂量()
A.应比第l次增加
B.应比第l次减少
C.应与第l次一样
D.如第l次治疗无效或病情加重,可适当增加
E.如第l次治疗好转而未痊愈,应适当减少剂量
272、单项选择题 门控心血池显像中,心动电影见弥漫性室壁运动低下多见于()
A.心肌梗死
B.可逆性心肌缺血
C.肥厚型心肌病
D.扩张型心肌病
E.室壁瘤
273、单项选择题 Tc的γ射线能量为()
A.250keV
B.140keV
C.511keV
D.110keV
E.811keV
274、单项选择题 放射性核素肝胆显像,诊断急性胆囊炎的条件是()
A.肠道1h内没有放射性
B.肝影持续不消退
C.肝胆管呈现胆道树结构
D.胆囊持续不显影
E.肝脏摄取显像剂量低
275、问答题 简述抛物线型肾图及临床意义(要求画图)。
276、名词解释 过氯酸钾释放试验
277、问答题 肾动态显像在肾功能损伤诊断中有何价值?
278、单项选择题
女,12岁,诉右下肢疼痛1周,体检无肿块,行全身骨显像如图,可能的诊断是()
A.大致正常的骨影像
B.右股骨远端骨肉瘤征象
C.右股骨骨髓炎
D.右下肢软组织蜂窝炎
E.右股骨头缺血坏死
279、单项选择题
女性,78岁,头颅胀痛3个月,肾功能明显受损,HGB56g/L,行全身骨显像,最可能的诊断是()
A.肾性骨营养不良
B.原发性骨质疏松
C.骨软化症
D.Paget病
E.骨转移瘤
280、多项选择题 下列哪些情况由于TBG浓度的影响,使得TT、TT测定值不能完全反映甲状腺的功能状态()
A.妊娠
B.传染性肝炎
C.严重营养不良
D.多种重度疾病
E.以上都正确
281、多项选择题 核素显像诊断肝血管瘤常用的方法()
A.肝胶体显像
B.肝血池显像
C.肝胶体显像与肝血池显像联合运用
D.肝血池显像及与CT的图像融合显像
E.肝胆动态显像
282、单项选择题 新型SPECT(有定位CT的)是通过下列哪项技术获得功能解剖图像的()
A.定量显像技术
B.半定量显像技术
C.平面显像
D.体外分析
E.图像融合技术
283、单项选择题 早老性痴呆rCBF显像常表现为()
A.一侧顶叶和颞叶呈明显的非称性的血流减低区
B.一侧顶叶和颞叶呈明显的非称性的血流增高区
C.双侧顶叶和颞叶呈明显的对称性的血流减低区
D.双侧顶叶和颞叶呈明显的对称性的血流增高区
E.以上均不是
284、多项选择题 影响内照射生物效应的因素有()
A.吸收剂量
B.体内分布
C.有效半衰期
D.照射范围大小
E.放射线种类
285、问答题 简答交通性脑积水的影像表现。
286、单项选择题 静脉注射I-OIH进行肾图检查时,示踪剂是()
A.被肾小管上皮细胞吸收并暂时固定在细胞内
B.经肾小球滤过并很快随尿排出
C.80%被肾小管上皮细胞吸收,然后分泌到管腔内;20%被肾小球滤过到管腔内
D.全部被肾小管上皮细胞吸收然后分泌到管腔内
E.由肾小球滤过再由肾小管上皮细胞重吸收
287、问答题 肾血流灌注显像异常影像有何临床意义?
288、单项选择题 一般来说下列哪一种不是肺灌注显像的适应证()
A.肺栓塞
B.肺源性心脏病
C.肺肿瘤
D.存在心脏右向左分流疾病
E.肺气肿
289、名词解释 核素心肌灌注显像的方法确诊心肌梗死、心肌缺血、心肌梗死伴缺血的影像学特点。
290、单项选择题
心肌灌注显像时201Tl与99mTcm相比()
A.201Tl被心肌细胞摄取与Na+-K+-ATP酶的活性有关
B.99Tcm-MIBI被心肌细胞摄取主要是与Na+-K+-ATP酶的活性有关
C.201Tl不能在心肌细胞内进行再次分布
D.99Tcm-MIBI能够在心肌细胞内再次分布
E.以上都不对
291、单项选择题 带电粒子在某一长度径迹上消耗的能量与该径迹长度之比是()
A.氧效应
B.传能线密度
C.氧增强比
D.当量剂量
E.吸收剂量
292、单项选择题 开放性的放射性工作单位的分类是以_____划分的.()
A.最大等效日操作量
B.等效年剂量
C.操作性质
D.毒性组别系数
E.以上都不是
293、单项选择题 心肌灌注常用显像剂为()
A.C-PA
B.F-FDG
C.99Tcm-MIBI
D.99Tcm-MAA
E.201Tl
294、多项选择题 用于屏蔽β射线和γ射线的元素分别为()
A.铝和钨
B.有机玻璃和铅
C.钨和铝
D.塑料和铝
E.铁和铝
295、单项选择题 乳腺癌淋巴转移的第一站是()
A.腋窝淋巴结
B.内乳淋巴结
C.锁骨上淋巴结
D.锁骨下淋巴结
E.前哨淋巴结
296、问答题 骨髓显像的适应证有哪些?
297、单项选择题 RIA的质量控制非常重要,WHO要求制作质控图,有下列情况,其结果应予舍弃()
A.三种质控血清中,有一个测定>1SD
B.三种质控血清中,有一个测定>2SD
C.三种质控血清中,在同一方向中有两种测定﹥1SD
D.三种质控血清中,在同一方向中有两种测定﹥2SD
E.三种质控血清中,在同一方向中有三种测定﹥2SD
298、单项选择题 常用的骨显像剂是()
A.Tl和Tc-MIBI
B.Tc-MDP和Tc-HMDP
C.TcO
D.Tc-DTPA
E.Tc-MAA
299、单项选择题
探查急性胃肠道出血时,99Tcm-硫胶体显像与99Tcm-RBC显像相比最大的优点是()
A.无肝脾放射性干扰
B.显像时间短
C.能长时间监测出血
D.腹部本底高
E.以上都不是
300、单项选择题 甲状腺功能亢进诊断手段中不包括()
A.血清T、T测定
B.TRH兴奋试验
C.吸碘率测定
D.血清PTH测定
E.血清TSH测定